Подобрать запчасти на лодочный мотор Suzuki DF70TL - Впускной коллектор / Inlet manifold
вконтакте

Контактный телефон: +7 (981) 121-46-93, +7 (800) 200-90-76 , Email: parts-katalog@yandex.ru, где купить

 
 

  Логин:

Пароль:

Регистрация

www.partskatalog.ru Все каталоги Запчасти Mercury Запчасти Suzuki Запчасти Tohatsu Запчасти Honda Контакты



УВАЖАЕМЫЕ КЛИЕНТЫ!
C 19 ДЕКАБРЯ 2025 ПО 02 МАРТА 2026 ГОДА ОТДЕЛ ЗАПЧАСТЕЙ И СЕРВИС РАБОТАТЬ НЕ БУДУТ
ПРОДАЖА ЛОДОЧНЫХ МОТОРОВ В ШТАТНОМ РЕЖИМЕ
ОБ ИЗМЕНЕНИЯХ В ГРАФИКЕ РАБОТЫ ЧИТАЙТЕ НА САЙТА



назад Раздел:   вперёд

Вернуться к выбору узлов мотора


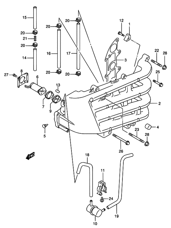
ДЕТАЛИРОВКА ДЛЯ МОДЕЛИ: SUZUKI DF70TL X

Впускной коллектор


Код модели двигателя: DF70TL

Год выпуска двигателя: 1999

Цвет: Shadow Black Metallic

Номер на
рисунке
АртикулНаименованиеQTYКол-во
на складе
Цена
111281-94400-000

Защитный анод - Protection, Anode (Protection, anode # ) (Анод зщитный)

под заказ390 руб.
213110-99E01-000

Впускной коллектор - Manifold, Inlet (Manifold, inlet # ) (Коллектор входа)

под заказ0 руб.
213110-99E20-000

Коллектор в сборе, вход - Manifold Assy, Inlet (MODEL:01 # ) (Коллектор входа)

под заказ0 руб.
313119-99E00-000

Прокладка впускного коллектора - Gasket, Inlet Manifold (Gasket, inlet manifold # ) (Прокладка коллектора)

под заказ3750 руб.
409329-12004-000

Подушка - Cushion (Cushion, intake manifold # ) (Cushion)

под заказ190 руб.
409329-12006-000

   (актуальный код замены) Подушка - Cushion

под заказ190 руб.
513350-99E00-000

Набор винтов, Air Bypass - Screw Set, Air Bypass (Набор винтов)

под заказ1110 руб.
613450-99E00-000

Клапан холостого хода (IAC) - Valve, Iac (Valve, iac # ) (Соленоид)

1 шт23760 руб.
613450-99E01-000

   (актуальный код замены) Клапан холостого хода (IAC) - Valve, Iac

под заказ23760 руб.
713452-61A00-000

Фланец - Flange (Flange)

под заказ1200 руб.
813453-61A00-000

Держатель - Holder (Holder)

под заказ0 руб.
913451-99E00-000

Резиновое седло - Seat, Rubber (Seat, rubber # ) (Сидение резиновое)

1 шт590 руб.
1018145-84380-000

Глушитель, Клапан холостого хода - Silencer, Isc Valve (Silencer, iac valve # ) (Клапан невозвратный)

под заказ1670 руб.
1118146-84380-000

Струбцина, Isc Глушитель - Clamp, Isc Silencer (Clamp, isc silencer # ) (Зажим клапана)

под заказ770 руб.
1209126-06005-000

Винт (6x30) - Screw (6x30) (Болт)

под заказ160 руб.
1309202-07001-000

Штифт (7x10) - Pin (7x10) (Pin, dowel # ) (Pin)

под заказ160 руб.
1309202-07006-000

   (актуальный код замены) Штифт (7x10) - Pin (7x10)

под заказ160 руб.
1409352-50903-600

Шланг (5x9x600) - Hose (5x9x600) (L:600->00 MODEL:01 # ) (Шланг 5X9X600)

под заказ570 руб.
1409352-50006-600

   (актуальный код замены) Шланг (5x9x600) - Hose (5x9x600)

1 шт570 руб.
1509352-50903-600

Шланг (5x9x600) - Hose (5x9x600) (L:600->00 MODEL:01 # ) (Шланг 5X9X600)

под заказ570 руб.
1509352-50006-600

   (актуальный код замены) Шланг (5x9x600) - Hose (5x9x600)

1 шт570 руб.
1609352-50903-600

Шланг (5x9x600) - Hose (5x9x600) (L:600->00 ~MODEL:00 # ) (Шланг 5X9X600)

под заказ570 руб.
1609352-50006-600

   (актуальный код замены) Шланг (5x9x600) - Hose (5x9x600)

1 шт570 руб.
1709352-50903-600

Шланг (5x9x600) - Hose (5x9x600) (L:600->70 # ) (Шланг 5X9X600)

под заказ570 руб.
1709352-50006-600

   (актуальный код замены) Шланг (5x9x600) - Hose (5x9x600)

1 шт570 руб.
1809352-70121-600

Шланг (7x12.1x600) - Hose (7x121x600) (Hose (inmani to iac) # L:600->40 # ) (Hose (7x12.1x600))

под заказ770 руб.
1909352-70121-00B

Шланг (7x12.1x2000) - Hose (7x121x2000) (Hose, silencer # L:2000->20 # ) (Hose (isc to sil))

под заказ1950 руб.
2009401-08411-000

Зажим - Clip (Clip)

8 шт130 руб.
2109364-06005-000

Соединение - Union (2 way # MODEL:01 # ) (Зажим 2-х сторонний)

под заказ340 руб.
2201421-08357-000

Болт под шпильку - Bolt, Stud (Болт)

под заказ330 руб.
2301421-08457-000

Болт под шпильку - Bolt, Stud (Болт заклепка)

под заказ360 руб.
2401550-06127-000

Болт - Bolt (Bolt, rect # ) (Bolt)

10 шт180 руб.
2501550-08407-000

Болт - Bolt (Болт 8 X 40)

под заказ260 руб.
2601550-08757-000

Болт - Bolt (Bolt)

под заказ290 руб.
2702112-05167-000

Винт - Screw (Болт)

под заказ150 руб.
2808316-10087-000

Гайка - Nut (Nut (chrome))

14 шт170 руб.


Время выполнения запроса 0.85712385177612 сек.

 
 

данный сайт носит информационный характер и не является публичной офертой

склад запчастей для водомоторной техники