| |
 |
|
 |
Вернуться к выбору узлов мотора
ДЕТАЛИРОВКА ДЛЯ МОДЕЛИ: SUZUKI DF70TLY(E1) Y
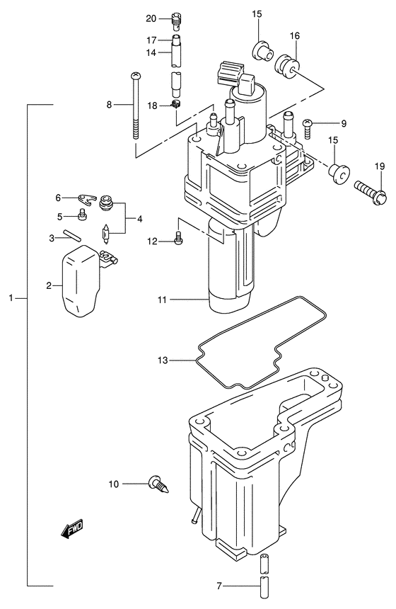
Отделитель паров топлива
Код модели двигателя: DF70TL/X
Год выпуска двигателя: 2000
Регион: General Export No.1 ,Код региона: P01
Цвет: Shadow Black Metallic
Номер на рисунке | Артикул | Наименование | QTY | Кол-во на складе | Цена |
| 1 | 15600-99E00-000 | Сепаратор-отделитель паров топлива, в сборе - Separator Assy, Fuel Vapor (Separator, fuel vapor # ) (Сепаратор топливного пара) | | под заказ | 0 руб. |
| 1 | 15600-99E01-000 | (актуальный код замены) Запчасть снята с производства - The Spare Part Is Laid Off | | под заказ | 0 руб. |
| 2 | 15650-99E00-000 | Поплавок - Float (Поплавок) | | под заказ | 6870 руб. |
| 3 | 15654-99E00-000 | Штифт - Pin (Pin) | | под заказ | 240 руб. |
| 4 | 13370-99E00-000 | Игольчатый клапан, в сборе - Valve Assy, Needle (Valve, needle; W/valve seat, # ) (Клапан) | | 3 шт | 6540 руб. |
| 5 | 02112-04083-000 | Винт - Screw | | под заказ | 90 руб. |
| 5 | 02112-0408A-000 | (актуальный код замены) Винт - Screw | | под заказ | 90 руб. |
| 5 | 02112-0408A-000 | Винт - Screw (Болт) | | под заказ | 90 руб. |
| 6 | 13373-39110-000 | Пластина - Plate (Плата клапана) | | под заказ | 520 руб. |
| 7 | 15644-99E00-000 | Запчасть снята с производства - The Spare Part Is Laid Off | | под заказ | 0 руб. |
| 8 | 15627-99E00-000 | Винт (l: 70) - Screw (l:70) (Screw (l:70); # ) (Screw (l:70)) | | под заказ | 660 руб. |
| 9 | 15628-99E00-000 | Винт (l: 15) - Screw (l:15) (Screw (l:15); # ) (Screw (l:15)) | | под заказ | 240 руб. |
| 10 | 15629-99E10-000 | Винт дренажный - Screw, Drain (Винт дренажный) | | под заказ | 550 руб. |
| 11 | 15641-99E00-000 | Фильтр топливного насоса - Filter, Fuel Pump (Filter, fuel pump # ) (Фильтр топливный) | | под заказ | 3580 руб. |
| 11 | 15641-99E01-000 | (актуальный код замены) Фильтр топливного насоса - Filter, Fuel Pump | | 1 шт | 3580 руб. |
| 12 | 02112-05103-000 | Винт - Screw | | под заказ | 120 руб. |
| 12 | 02112-0510A-000 | (актуальный код замены) Винт - Screw | | под заказ | 120 руб. |
| 12 | 02112-0510A-000 | Винт - Screw (Болт) | | под заказ | 120 руб. |
| 13 | 15626-99E00-000 | Уплотнительное кольцо - O Ring (O ring # ) (Прокладка) | | 1 шт | 2110 руб. |
| 14 | 18498-87JC0-000 | Защита шланга (9.5x11.5x450) - Protector, Hose (95x115x450) (Protector, evap hose (9.5x11.5x450) # L:450->90, # ) (Протектор) | | 1 шт | 650 руб. |
| 14 | 18498-87JC1-000 | (актуальный код замены) Защита шланга (9.5x11.5x450) - Protector, Hose (9.5x11.5x450) | | под заказ | 650 руб. |
| 15 | 09169-06067-000 | Шайба - Washer (Шайба) | | 10 шт | 240 руб. |
| 16 | 09320-09039-000 | Подушка - Cushion (Cushion, silencer cover # ) (Валик) | | 8 шт | 320 руб. |
| 16 | 09320-09059-000 | (актуальный код замены) Подушка (9x18x14) - Cushion (9x18x14) | | под заказ | 320 руб. |
| 17 | 09355-35755-600 | Шланг (3.5x7.5x600) - Hose (35x75x600) (Hose; L:600->60 # ) (Шланг) | | под заказ | 710 руб. |
| 17 | 09355-35007-600 | (актуальный код замены) Шланг (3.5x7.5x600) - Hose (3.5x7.5x600) | | под заказ | 710 руб. |
| 18 | 09401-06405-000 | Зажим - Clip (Хомут) | | под заказ | 160 руб. |
| 19 | 02162-06257-000 | Винт - Screw (Bolt # ) (Bolt) | | 7 шт | 150 руб. |
| 20 | 09493-20020-000 | Воздушная форсунка (100) - Jet, Air (100) (Jet, evap hose # Opt # ) (Жиклер шланга) | | под заказ | 1380 руб. |
Время выполнения запроса 0.95178818702698 сек. |
|