| |
 |
|
 |
Вернуться к выбору узлов мотора
ДЕТАЛИРОВКА ДЛЯ МОДЕЛИ: SUZUKI DF70TLK1(E1) K1
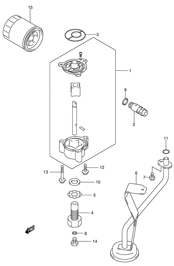
Масляный насос
Год выпуска двигателя: 2001
Номер на рисунке | Артикул | Наименование | QTY | Кол-во на складе | Цена |
| 1 | 16400-99E00-000 | Масляный насос в сборе - Pump Assy, Oil (Pump assy, oil # ) (Насос масляный) | | под заказ | 23000 руб. |
| 2 | 16440-99E00-000 | Клапан сброса масла - Valve Assy, Oil Relief (Valve, oil relief; # ) (Клапан) | | 3 шт | 4740 руб. |
| 2 | 16440-99E01-000 | (актуальный код замены) Клапан сброса масла - Valve Assy, Oil Relief | | под заказ | 4300 руб. |
| 3 | 16451-99E00-000 | Уплотнительное кольцо, Масляный насос - O Ring, Oil Pump (O ring # ) (O ring) | | 2 шт | 990 руб. |
| 4 | 16461-99E00-000 | Стопор, Масляный насос - Stopper, Oil Pump (Стопор масляного насоса) | | под заказ | 1590 руб. |
| 5 | 16466-99E00-000 | Шайба, Масляный насос Стопор - Washer, Oil Pump Stopper (Шайба, масляная помпа, стопор) | | под заказ | 450 руб. |
| 6 | 16520-99E00-000 | Сетчатый масляный фильтр - Strainer, Oil (Strainer, oil # ) (Фильтр spule) | | под заказ | 5330 руб. |
| 7 | 09116-06160-000 | Болт (6x16) - Bolt (6x16) (Bolt (6x16); # ) (Bolt (6x16)) | | под заказ | 280 руб. |
| 8 | 09168-08016-000 | Прокладка (8.2x14x1) - Gasket (82x14x1) (Gasket (8.2x14x1.0) # Gasket (8.2x14x1.0); # ) (Прокладка) | | 4 шт | 170 руб. |
| 9 | 09168-16002-000 | Прокладка (16x22x2) - Gasket (16x22x2) (Gasket (16x22x2.0); # ) (Gasket (16x22x2.0)) | | под заказ | 150 руб. |
| 10 | 09168-16003-000 | Прокладка (16x22x2) - Gasket (16x22x2) (Gasket (16x22x2.0) # Gasket (16x22x2.0); # ) (Прокладка) | | 10 шт | 150 руб. |
| 11 | 09280-14011-000 | Уплотнительное кольцо (d: 2.5, Id: 13.8) - O Ring (d:25, Id:138) (O ring (d:2.5 id:13.8) # O ring (d:2.5, id:13.8); # ) (O ring) | | 6 шт | 360 руб. |
| 12 | 01547-06257-000 | Болт - Bolt (Bolt (6x25)) | | под заказ | 160 руб. |
| 13 | 01547-06507-000 | Болт - Bolt (Bolt, cyl head cover no.2 # ) (Болт крышки головки цилиндров №2) | | под заказ | 180 руб. |
| 14 | 01550-08127-000 | Болт - Bolt (Bolt, clamp # ) (Bolt) | | под заказ | 210 руб. |
| 15 | 16510-87J00-000 | Масляный фильтр - Filter Assy, Oil (Фильтр масляный) | | под заказ | 1760 руб. |
| 15 | 16510-87J02-000 | (актуальный код замены) Масляный фильтр - Filter Assy, Oil | | под заказ | 2010 руб. |
Время выполнения запроса 1.6225008964539 сек. |
|