Купить комплектующие Suzuki DF70TL/X; DF70WT(H)L/X - Поворотный кронштейн
вконтакте

Контактный телефон: +7 (981) 121-46-93, +7 (800) 200-90-76 , Email: parts-katalog@yandex.ru, где купить

 
 

  Логин:

Пароль:

Регистрация

www.partskatalog.ru Все каталоги Запчасти Mercury Запчасти Suzuki Запчасти Tohatsu Запчасти Honda Контакты



УВАЖАЕМЫЕ КЛИЕНТЫ!
C 19 ДЕКАБРЯ 2025 ПО 02 МАРТА 2026 ГОДА ОТДЕЛ ЗАПЧАСТЕЙ И СЕРВИС РАБОТАТЬ НЕ БУДУТ
ПРОДАЖА ЛОДОЧНЫХ МОТОРОВ В ШТАТНОМ РЕЖИМЕ
ОБ ИЗМЕНЕНИЯХ В ГРАФИКЕ РАБОТЫ ЧИТАЙТЕ НА САЙТА



назад Раздел:   вперёд

Вернуться к выбору узлов мотора


ДЕТАЛИРОВКА ДЛЯ МОДЕЛИ: SUZUKI DF70WTL K1

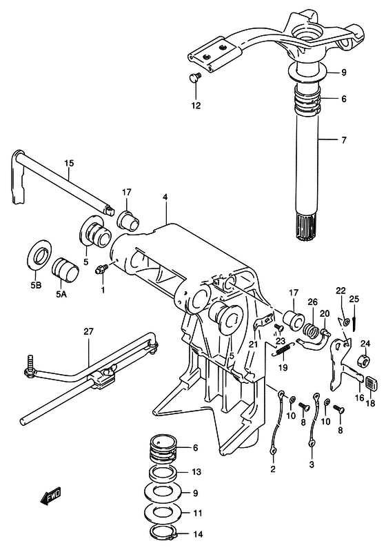
Поворотный кронштейн


Код модели двигателя: DF70TL/X; DF70WT(H)L/X

Год выпуска двигателя: 2001

Цвет: Shadow Black Metallic

Номер на
рисунке
АртикулНаименованиеQTYКол-во
на складе
Цена
122511-99010-000

Ниппель смазки - Nipple, Grease (MODEL:06~ # )

под заказ340 руб.
122511-99011-000

   (актуальный код замены) Ниппель смазки - Nipple, Grease

9 шт400 руб.
122511-99011-000

Ниппель смазки - Nipple, Grease (Ниппель)

9 шт400 руб.
236894-95201-000

Lead (l: 165) - Lead (l:165) (Провод)

под заказ1170 руб.
336895-87D01-000

Lead (l: 210) - Lead (l:210) (DF60:510599~ DF70:512084~ # ) (Провод)

1 шт1420 руб.
336895-87D10-000

Lead (l: 310) - Lead (l:310) (Lead (swivel to hsg) # ) (Провод)

2 шт1300 руб.
443111-90J20-0EP

(MODEL:06~ ->3111-90J21-0EP USED WITH 22511-99010 # )

под заказнет сведений
422511-99011-000

Ниппель смазки - Nipple, Grease (Ниппель)

9 шт400 руб.
443111-90J21-0EP

Поворотный кронштейн (чёрный) - Bracket, Swivel (black) (Кронштейн шарнирный)

под заказ114240 руб.
443111-90J40-0EP

   (актуальный код замены) Поворотный кронштейн (l) (чёрный) - Bracket, Swivel (l) (black)

под заказ114240 руб.
443111-99E00-0EP

Запчасть снята с производства - The Spare Part Is Laid Off (DF60:~151224 DF70:~151792 # )

под заказ0 руб.
443111-99E31-0EP

Поворотный кронштейн (l) (чёрный) - Bracket, Swivel (l) (black) (DF60:151225~MODEL:03 DF70:151793~MODEL:03 # )

под заказ0 руб.
443111-99E40-0EP

   (актуальный код замены) Запчасть снята с производства - The Spare Part Is Laid Off

под заказ0 руб.
443111-99E40-0EP

Поворотный кронштейн (l) (чёрный) - Bracket, Swivel (l) (black) (Кронштейн шарнирный)

под заказ0 руб.
443111-99E40-0EP

Поворотный кронштейн (l) (чёрный) - Bracket, Swivel (l) (black) (MODEL:04~05 # ) (Кронштейн шарнирный)

под заказ0 руб.
543211-95510-000

Втулка струбцины поворотного вала - Bush, Clamp Shaft Swivel (Bush, clamp shaft swivel # ) (Втулка шарнирного соединения)

под заказ0 руб.
543211-87D00-000

Втулка струбцины поворотного вала - Bush, Clamp Shaft Swivel (Bush, clamp shaft swivel # MODEL:01~05 # ) (Втулка вала)

3 шт1030 руб.
543211-93J00-000

Втулка струбцины поворотного вала - Bush, Clamp Shaft Swivel (MODEL:06~09 # ) (Втулка вала)

под заказ830 руб.
543211-93J11-000

   (актуальный код замены) Втулка струбцины поворотного вала - Bush, Clamp Shaft Swivel

8 шт900 руб.
509169-28003-000

Шайба - Washer (MODEL:01~09 # ) (Шайба)

под заказ410 руб.
643711-97E00-000

Втулка рулевой системы - Bush, Steering

под заказ870 руб.
643711-97E11-000

   (актуальный код замены) Втулка рулевой системы - Bush, Steering

18 шт930 руб.
6SK43711-97E00

   (не оригинальный аналог) Втулка поворотного механизма Skipper для Suzuki DT40-200/DF40-300

0 шт254 руб.
643711-97E01-000

Втулка рулевой системы - Bush, Steering (Bush, steering)

под заказ870 руб.
643711-97E11-000

   (актуальный код замены) Втулка рулевой системы - Bush, Steering

18 шт930 руб.
743750-99E01-0EP

(->3750-99E02-0EP USED WITH 09117-10058 (2PCS) # )

под заказнет сведений
743750-99E03-0EP

Кронштейн рулевого управления (l) (чёрный) - Bracket, Steering (l) (black) (Bracket comp, steering (l))

под заказ65280 руб.
709116-10176-000

Болт (10x44) - Bolt (10x44) (Bolt, 10x44)

4 шт760 руб.
743750-99E02-0EP

Кронштейн рулевого управления (l) (чёрный) - Bracket, Steering (l) (black) (DF60:421399~ DF70:422917~ # )

под заказ65280 руб.
743750-99E03-0EP

   (актуальный код замены) Кронштейн рулевого управления (l) (чёрный) - Bracket, Steering (l) (black)

под заказ65280 руб.
743750-99E03-0EP

Кронштейн рулевого управления (l) (чёрный) - Bracket, Steering (l) (black) (Bracket comp, steering (l))

под заказ65280 руб.
829125-93J10-000

Винт - Screw (Screw (5x8) # <-9125-05050 # ) (Болт)

под заказ150 руб.
809125-05050-000

   (актуальный код замены) Винт (5x8) - Screw (5x8)

под заказ150 руб.
909160-39001-000

Шайба (39.5x64x1) - Washer (395x64x1) (Washer (39.5x64x1.0) # ) (Шайба 39.5X64X)

8 шт320 руб.
1009161-05114-000

Шайба (5.2x11x1) - Washer (52x11x1) (Washer (5.2x11.0x1.0) # ~MODEL:00 # ) (Шайба)

под заказ290 руб.
1109181-39001-000

Регулировочная шайба (39.5x64x0.3) - Shim (395x64x03) (Shim (39.5x64x0.3) # ) (Shim)

8 шт480 руб.
1209250-09001-000

Колпачок (od: 14) - Cap (od:14) (Plug # ) (Cap)

под заказ150 руб.
1209250-09008-000

   (актуальный код замены) Колпачок (od: 14) - Cap (od:14)

под заказ150 руб.
1309282-39001-000

Сальник (39x51x5) - Seal, Oil (39x51x5) (Seal, oil # ) (Сальник 39X51X)

22 шт690 руб.
1409380-38003-000

Стопорное кольцо - Circlip (Circlip)

5 шт600 руб.
1541220-95E12-000

Рычаг блокировки наклона - Lever, Tilt Lock (<-1220-95E11 <-1220-90J00 # )

под заказ12440 руб.
1541220-95E13-000

   (актуальный код замены) Рычаг блокировки наклона - Lever, Tilt Lock

под заказ12440 руб.
1541220-95E13-000

Рычаг блокировки наклона - Lever, Tilt Lock (Lever comp, tilt lock)

под заказ12440 руб.
1641221-95E40-000

Левый рычаг блокировки наклона - Lever, Tilt Lock Port (Lever, tilt lock port # ) (Рукоятка управления)

под заказ3510 руб.
1741224-95E01-000

Втулка тяги ограничителя наклона - Bush, Tilt Stopper Rod (Bush, tilt stopper rod # ) (Втулка блокировки)

под заказ570 руб.
1841225-94400-000

Резинка блокировки наклона Рычаг - Rubber, Tilt Lock Arm (Rubber, tilt lock lever # ) (Ручка резиновая)

под заказ340 руб.
1941228-90J00-000

Пружина рычага блокировки наклона - Spring, Tilt Lock Lever (MODEL:01~09 # ) (Пружина ручки)

под заказ680 руб.
1941228-95E00-000

Запчасть снята с производства - The Spare Part Is Laid Off

под заказ0 руб.
2041230-95E00-000

Соединитель рычага ограничителя наклона - Link, Tilt Lock Lever (Link, tilt lock lever # ) (Сустав управления)

под заказ2280 руб.
2141233-95E10-000

Кронштейн пружины ограничителя наклона - Bracket, Tilt Lock Spring (Bracket, tilt lock spring # ) (Кронштейн блокировки)

1 шт1230 руб.
2209160-06082-000

Шайба (6.5x13x1.0) - Washer (65x13x10) (Шайба)

7 шт150 руб.
2309125-06063-000

Винт (6x10) - Screw (6x10) (Винт 6X10 (SUS))

6 шт190 руб.
2409140-10032-000

Гайка - Nut (Гайка)

10 шт160 руб.
2509204-01006-000

Штифт - Pin (Pin, cotter # ) (Pin)

14 шт150 руб.
2609440-19028-000

Пружина - Spring (Пружина)

7 шт260 руб.
2743770-99E00-000

Регулятор в сборе, Рулевая система - Adjuster Assy, Steering (DF60TH, 70TH, 70WTH # )

под заказ46800 руб.
2743770-99E03-000

   (актуальный код замены) Регулятор в сборе, Рулевая система - Adjuster Assy, Steering

под заказ46800 руб.
2743770-99E03-000

Регулятор в сборе, Рулевая система - Adjuster Assy, Steering (Adjuster assy, steering)

под заказ46800 руб.


Время выполнения запроса 3.4769990444183 сек.

 
 

данный сайт носит информационный характер и не является публичной офертой

склад запчастей для водомоторной техники