Запчасти на подвесной лодочный двигатель Сузуки модель 2002 года - Катушка зажигания
вконтакте

Контактный телефон: +7 (981) 121-46-93, +7 (800) 200-90-76 , Email: parts-katalog@yandex.ru, где купить

 
 

  Логин:

Пароль:

Регистрация

www.partskatalog.ru Все каталоги Запчасти Mercury Запчасти Suzuki Запчасти Tohatsu Запчасти Honda Контакты



УВАЖАЕМЫЕ КЛИЕНТЫ!
C 31 ОКТЯБРЯ 2025 ПО 10 НОЯБРЯ 2025 ГОДА РАБОТАТЬ НЕ БУДЕМ



назад Раздел:   вперёд

Вернуться к выбору узлов мотора


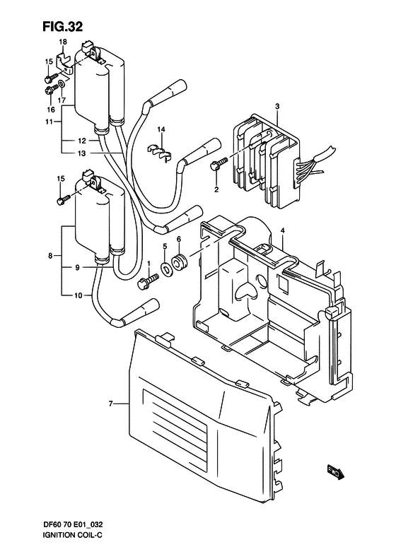
ДЕТАЛИРОВКА ДЛЯ МОДЕЛИ: SUZUKI DF70WTHL K2

Катушка зажигания


Год выпуска двигателя: 2002

Номер на
рисунке
АртикулНаименованиеQTYКол-во
на складе
Цена
101550-06127-000

Болт - Bolt (Bolt, rect # ) (Bolt)

10 шт180 руб.
201550-06307-000

Болт - Bolt (Bolt (chrome))

8 шт250 руб.
332800-92E20-000

Выпрямитель & Регулятор - Rectifier & Regulator (Rectifier/regulator # ) (Выпрямитель и регулятор)

1 шт30240 руб.
432890-99E00-000

Запчасть снята с производства - The Spare Part Is Laid Off (MODEL:98~00 # )

под заказ0 руб.
432890-99E11-000

Держатель электрических частей - Holder, Electric Parts (MODEL:01~05 # )

под заказ4760 руб.
432890-99E12-000

   (актуальный код замены) Держатель электрических частей - Holder, Electric Parts

под заказ4760 руб.
432890-99E12-000

Держатель электрических частей - Holder, Electric Parts (Корпус)

под заказ4760 руб.
432890-99E12-000

Держатель электрических частей - Holder, Electric Parts (MODEL:06~09 # ) (Корпус)

под заказ4760 руб.
509160-06054-000

Шайба (6.5x22x1.6) - Washer (65x22x16) (Washer (6.5x22x1.6) # MODEL:05~09 # ) (Шайба)

под заказ120 руб.
609320-12011-000

Подушка - Cushion (Cushion # ) (Валик)

под заказ150 руб.
609320-12090-000

   (актуальный код замены) Подушка (11.8x25x7.5) - Cushion (11.8x25x7.5)

под заказ150 руб.
732891-99E00-000

Крышка держателя электрических частей - Cover, Elec Parts Holder (Cover, electric parts holder # ) (Крышка электрооборудования)

1 шт4200 руб.
833410-99E00-000

Катушка зажигания в сборе - Coil Assy, Ignition (Coil, ignition # ) (Катушка зажигания)

под заказ24480 руб.
933710-99E00-000

Высоковольтный провод №1 - Cord, High Tension No1 (Cord, high tension no.1 # W/SPARK PLUG CAP # ) (Провод высокого давления №1)

под заказ3890 руб.
1033740-99E00-000

Высоковольтный провод №4 - Cord, High Tension No4 (Cord, high tension no.4 # W/SPARK PLUG CAP # ) (Провод высокого давления №4)

под заказ3340 руб.
1133420-99E00-000

Катушка зажигания в сборе - Coil Assy, Ignition (Coil, ignition # ) (Катушка зажигания)

под заказ24480 руб.
1233720-99E00-000

Высоковольтный провод №2 - Cord, High Tension No2 (Cord, high tension no.2 # W/SPARK PLUG CAP # ) (Провод высокого давления №2)

под заказ4420 руб.
1333730-99E00-000

Высоковольтный провод №3 - Cord, High Tension No3 (Cord, high tension no.3 # W/SPARK PLUG CAP # ) (Провод высокого давления №3)

под заказ0 руб.
1409408-00035-000

Зажим - Clip (Clamp # ) ( (ca) clip)

под заказ240 руб.
1501550-06207-000

Болт - Bolt (Bolt (chrome))

17 шт220 руб.
1602162-06257-000

Винт - Screw (Bolt # DF60:780738~ DF70:782714~ # ) (Bolt)

7 шт150 руб.
1708322-01067-000

Шайба - Washer (DF60:780738~ DF70:782714~ # ) (Шайба)

10 шт160 руб.
1833415-99E00-000

Защита, Катушка зажигания - Protector, Ignition Coil (Protector, ignition coil # ) (Протектор катушки зажигания)

под заказ860 руб.


Время выполнения запроса 1.5566818714142 сек.

 
 

данный сайт носит информационный характер и не является публичной офертой

склад запчастей для водомоторной техники