Купить запчасти на двигатель Suzuki DF70TL/X; DF70WT(H)L/X модель 2006 года - Fuel vapor separator / Отделитель паров топлива
вконтакте

Контактный телефон: +7 (981) 121-46-93, +7 (800) 200-90-76 , Email: parts-katalog@yandex.ru, где купить

 
 

  Логин:

Пароль:

Регистрация

www.partskatalog.ru Все каталоги Запчасти Mercury Запчасти Suzuki Запчасти Tohatsu Запчасти Honda Контакты



УВАЖАЕМЫЕ КЛИЕНТЫ!
C 19 ДЕКАБРЯ 2025 ПО 02 МАРТА 2026 ГОДА ОТДЕЛ ЗАПЧАСТЕЙ И СЕРВИС РАБОТАТЬ НЕ БУДУТ
ПРОДАЖА ЛОДОЧНЫХ МОТОРОВ В ШТАТНОМ РЕЖИМЕ
ОБ ИЗМЕНЕНИЯХ В ГРАФИКЕ РАБОТЫ ЧИТАЙТЕ НА САЙТА



назад Раздел:   вперёд

Вернуться к выбору узлов мотора


ДЕТАЛИРОВКА ДЛЯ МОДЕЛИ: SUZUKI DF70WTHL K6

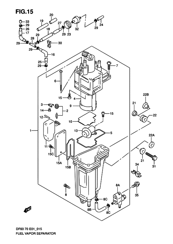
Отделитель паров топлива


Код модели двигателя: DF70TL/X; DF70WT(H)L/X

Год выпуска двигателя: 2006

Цвет: Shadow Black Metallic

Номер на
рисунке
АртикулНаименованиеQTYКол-во
на складе
Цена
115600-99E21-000

Сепаратор-отделитель паров топлива, в сборе - Separator Assy, Fuel Vapor

под заказ119040 руб.
115600-99EV2-000

   (актуальный код замены) Сепаратор-отделитель паров топлива, в сборе - Separator Assy, Fuel Vapor

под заказ119040 руб.
115600-99EV0-000

Сепаратор-отделитель паров топлива, в сборе - Separator Assy, Fuel Vapor (Separator assy, fuel vapor)

под заказ119040 руб.
115600-99EV2-000

   (актуальный код замены) Сепаратор-отделитель паров топлива, в сборе - Separator Assy, Fuel Vapor

под заказ119040 руб.
115600-99E22-000

Сепаратор-отделитель паров топлива, в сборе - Separator Assy, Fuel Vapor (DF60:510774~ DF70:512694~ # )

под заказ118080 руб.
115600-99E24-000

   (актуальный код замены) Сепаратор-отделитель паров топлива, в сборе - Separator Assy, Fuel Vapor

под заказ118080 руб.
115600-99E23-000

Сепаратор-отделитель паров топлива, в сборе - Separator Assy, Fuel Vapor (Separator assy, fuel vapor)

под заказ118080 руб.
115600-99E24-000

   (актуальный код замены) Сепаратор-отделитель паров топлива, в сборе - Separator Assy, Fuel Vapor

под заказ118080 руб.
115600-99E30-000

Сепаратор-отделитель паров топлива, в сборе - Separator Assy, Fuel Vapor (DF70WT, 70WTH # )

под заказ0 руб.
115600-99EV1-000

   (актуальный код замены) Запчасть снята с производства - The Spare Part Is Laid Off

под заказ0 руб.
115600-99EV1-000

Сепаратор-отделитель паров топлива, в сборе - Separator Assy, Fuel Vapor (Separator assy, fuel vapor)

под заказ0 руб.
115600-99E31-000

Сепаратор-отделитель паров топлива, в сборе - Separator Assy, Fuel Vapor (DF70WT, 70WTH DF70:512694~ # )

под заказ118080 руб.
115600-99E32-000

   (актуальный код замены) Сепаратор-отделитель паров топлива, в сборе - Separator Assy, Fuel Vapor

под заказ118080 руб.
115600-99E32-000

Сепаратор-отделитель паров топлива, в сборе - Separator Assy, Fuel Vapor (Separator assy, fuel vapor)

под заказ118080 руб.
213370-99E00-000

Игольчатый клапан, в сборе - Valve Assy, Needle (Клапан)

3 шт6540 руб.
213370-99E10-000

Игольчатый клапан, в сборе - Valve Assy, Needle (DF70WT, 70WTH # ) (Клапан)

под заказ6530 руб.
313373-39110-000

Пластина - Plate (Плата клапана)

под заказ520 руб.
313373-99E10-000

Пластина, Игольчатый клапан - Plate, Needle Valve (DF70WT, 70WTH # ) (Plate)

под заказ580 руб.
415200-87J10-000

Топливный насос, в сборе - Pump Assy, Fuel (Pump, fuel # ) (Насос)

3 шт63980 руб.
415200-87J20-000

Топливный насос, в сборе - Pump Assy, Fuel (DF70WT, 70WTH # ) (Насос)

под заказ55680 руб.
515626-99E00-000

Уплотнительное кольцо - O Ring (O ring # ) (Прокладка)

1 шт2110 руб.
515626-99E10-000

Сальник, Case - Seal, Case (DF70WT, 70WTH # ) (O ring)

под заказ2380 руб.
615627-99E00-000

Винт (l: 70) - Screw (l:70) (Screw (l:70))

под заказ660 руб.
715628-99E00-000

Винт (l: 15) - Screw (l:15) (Screw (l:15))

под заказ240 руб.
815629-99E10-000

Винт дренажный - Screw, Drain (DF60:~510773 DF70:~512693 # ) (Винт дренажный)

под заказ550 руб.
815648-99E00-000

Корпус дренажа - Body, Drain (DF60:510774~ DF70:512694~ # ) (Корпус стока)

под заказ3170 руб.
815683-99E00-000

Дренажный шланг - Hose, Drain (DF60:510774~ DF70:512694~ # ) (Шланг)

под заказ310 руб.
815685-99E00-000

Зажим - Clip (DF60:510774~ DF70:512694~ # ) (Clip)

под заказ250 руб.
915641-99E00-000

Фильтр топливного насоса - Filter, Fuel Pump (Filter, fuel pump # ) (Фильтр топливный)

под заказ3580 руб.
915641-99E01-000

   (актуальный код замены) Фильтр топливного насоса - Filter, Fuel Pump

1 шт3580 руб.
915641-99E10-000

Прокладка топливного насоса - Spacer, Fuel Pump (DF70WT, 70WTH # ) (Фильтр топливного насоса)

под заказ4590 руб.
1015642-99E10-000

Пластина, Регулятор - Plate, Regulator (Plate)

под заказ1090 руб.
1015642-99E20-000

Пластина, Регулятор - Plate, Regulator (DF70WT, 70WTH # ) (Plate)

под заказ880 руб.
1115650-99E00-000

Поплавок - Float (Поплавок)

под заказ6870 руб.
1215654-99E00-000

Штифт - Pin (Pin)

под заказ240 руб.
1315760-87J00-000

Регулятор - Regulator (Регулятор)

под заказ28560 руб.
1402112-0408A-000

Винт - Screw (Болт)

под заказ90 руб.
1413614-89J00-000

Винт - Screw (DF70WT, 70WTH # ) (Болт)

под заказ240 руб.
1502112-0510A-000

Винт - Screw (Болт)

под заказ120 руб.
1515631-99E10-000

Винт, Регулятор - Screw, Regulator (Screw, regulator # DF70WT, 70WTH # ) (Болт)

под заказ240 руб.
1515612-99E00-000

Крышка пароотделителя - Cover, Vapor Separator

под заказ1680 руб.
1515612-99E01-000

   (актуальный код замены) Крышка пароотделителя - Cover, Vapor Separator

под заказ1680 руб.
1515612-99E01-000

Крышка пароотделителя - Cover, Vapor Separator (Cover, vapor separator)

под заказ1680 руб.
1515613-99E00-000

Уплотнительное кольцо, Пароотделитель Крышка - O Ring, Vapor Separator Cover (O ring)

под заказ620 руб.
1515614-99E00-000

Винт - Screw

под заказ430 руб.
1515614-88L00-000

   (актуальный код замены) Винт - Screw

под заказ430 руб.
1515614-88L00-000

Винт - Screw (Болт)

под заказ430 руб.
1618498-87JC0-000

Защита шланга (9.5x11.5x450) - Protector, Hose (95x115x450) (Protector, evap hose (9.5x11.5x450) # L:450->0 # ) (Протектор)

1 шт650 руб.
1618498-87JC1-000

   (актуальный код замены) Защита шланга (9.5x11.5x450) - Protector, Hose (9.5x11.5x450)

под заказ650 руб.
1718498-87JC0-000

Защита шланга (9.5x11.5x450) - Protector, Hose (95x115x450) (Protector, evap hose (9.5x11.5x450) # L:450->80 # ) (Протектор)

1 шт650 руб.
1718498-87JC1-000

   (актуальный код замены) Защита шланга (9.5x11.5x450) - Protector, Hose (9.5x11.5x450)

под заказ650 руб.
1818498-99EC0-000

Защита (l: 760) - Protector (l:760) (DF60:~151413 DF70:~152590 # ) (Protector (l:760))

под заказ780 руб.
1818498-99EC1-000

   (актуальный код замены) Защита (9.5x11.5x760) - Protector (9.5x11.5x760)

под заказ780 руб.
1918498-87JC0-000

Защита шланга (9.5x11.5x450) - Protector, Hose (95x115x450) (Protector, evap hose (9.5x11.5x450) # DF60:151414~MODEL:09 DF70:152591~MODEL:09 # ) (Протектор)

1 шт650 руб.
1918498-87JC1-000

   (актуальный код замены) Защита шланга (9.5x11.5x450) - Protector, Hose (9.5x11.5x450)

под заказ650 руб.
2018498-87JC0-000

Защита шланга (9.5x11.5x450) - Protector, Hose (95x115x450) (Protector, evap hose (9.5x11.5x450) # DF60:151414~MODEL:09 DF70:152591~MODEL:09 L:450->00 # ) (Протектор)

1 шт650 руб.
2018498-87JC1-000

   (актуальный код замены) Защита шланга (9.5x11.5x450) - Protector, Hose (9.5x11.5x450)

под заказ650 руб.
2109169-06067-000

Шайба - Washer (Шайба)

10 шт240 руб.
2209320-09039-000

Подушка - Cushion (Cushion, silencer cover # MODEL:02~09 # ) (Валик)

8 шт320 руб.
2209320-09059-000

   (актуальный код замены) Подушка (9x18x14) - Cushion (9x18x14)

под заказ320 руб.
2209160-06084-000

Шайба (6.5x18x1.6) - Washer (65x18x16) (DF60:510136~MODEL:05 DF70:510514~MODEL:05 # ) (Шайба 6.5X18X1)

7 шт130 руб.
2209169-06075-000

Шайба - Washer (DF60:510136~ DF70:510514~ # ) (Шайба)

под заказ240 руб.
2309320-20008-000

Подушка - Cushion (Cushion filter # ) (Cushion)

под заказ290 руб.
2409352-50823-600

Шланг (5x8.2x600) - Hose (5x82x600) (Hose, evapotation (5.0x8.2x600) # L:600->0 # ) (Hose (5x8.2x600))

под заказ640 руб.
2409352-50005-600

   (актуальный код замены) Шланг (5x8.2x600) - Hose (5x8.2x600)

под заказ640 руб.
2509352-50823-600

Шланг (5x8.2x600) - Hose (5x82x600) (Hose, evapotation (5.0x8.2x600) # L:600->40 # ) (Hose (5x8.2x600))

под заказ640 руб.
2509352-50005-600

   (актуальный код замены) Шланг (5x8.2x600) - Hose (5x8.2x600)

под заказ640 руб.
2609352-50823-600

Шланг (5x8.2x600) - Hose (5x82x600) (Hose, evapotation (5.0x8.2x600) # L:600->30 # ) (Hose (5x8.2x600))

под заказ640 руб.
2609352-50005-600

   (актуальный код замены) Шланг (5x8.2x600) - Hose (5x8.2x600)

под заказ640 руб.
2709352-50823-00B

Шланг (5x8.2x2000) - Hose (5x82x2000) (Hose (vapor sep to filter) # L:2000->10 # ) (Hose 5x8.2x2000)

1 шт1420 руб.
2709352-50005-00B

   (актуальный код замены) Шланг (5x8.2x2000) - Hose (5x8.2x2000)

под заказ1420 руб.
2809367-06002-000

Соединитель тройника - Joint, 3 Way (3 way # ) (Соединение 3-х стороннее)

под заказ220 руб.
2917813-90J00-000

Зажим - Clip (<-9401-08409 # )

под заказ190 руб.
2909401-08412-000

   (актуальный код замены) Зажим - Clip

под заказ190 руб.
2909401-08412-000

Зажим - Clip (Clip)

под заказ190 руб.
3009408-00126-000

Струбцина - Clamp (Clamp)

под заказ360 руб.
3101550-06257-000

Болт - Bolt (MODEL:02~05 # ) (Bolt)

под заказ180 руб.
3109116-06202-000

Болт (6x25) - Bolt (6x25) (Bolt (w/washer) # MODEL:06~09 # ) (Болт (шайба))

под заказ250 руб.
3215410-98500-000

Топливный фильтр - Filter, Fuel (Filter assy, fuel # ) (Фильтр топливный)

40 шт1600 руб.
3215410-98500

   (не оригинальный аналог) Топливный фильтр Suzuki 15410-98500

под заказ590 руб.
3309493-20020-000

Воздушная форсунка (100) - Jet, Air (100) (Jet, evap hose # OPT # ) (Жиклер шланга)

под заказ1380 руб.
3315661-99E00-000

Jet, Evaporation Шланг - Jet, Evaporation Hose (OPT # ) (Жиклер шланга)

под заказ0 руб.
3409408-00070-000

Струбцина - Clamp (DF60:510774~ DF70:512694~ # ) (Clamp)

под заказ170 руб.
3501550-06167-000

Болт - Bolt (DF60:510774~ DF70:512694~ # ) (Bolt)

9 шт210 руб.


Время выполнения запроса 3.3195049762726 сек.

 
 

данный сайт носит информационный характер и не является публичной офертой

склад запчастей для водомоторной техники