Купить оригинальные запчасти на подвесной лодочный двигатель Suzuki модель 2007 года - Переключающая тяга
вконтакте

Контактный телефон: +7 (981) 121-46-93, +7 (800) 200-90-76 , Email: parts-katalog@yandex.ru, где купить

 
 

  Логин:

Пароль:

Регистрация

www.partskatalog.ru Все каталоги Запчасти Mercury Запчасти Suzuki Запчасти Tohatsu Запчасти Honda Контакты



УВАЖАЕМЫЕ КЛИЕНТЫ!
C 19 ДЕКАБРЯ 2025 ПО 02 МАРТА 2026 ГОДА ОТДЕЛ ЗАПЧАСТЕЙ И СЕРВИС РАБОТАТЬ НЕ БУДУТ
ПРОДАЖА ЛОДОЧНЫХ МОТОРОВ В ШТАТНОМ РЕЖИМЕ
ОБ ИЗМЕНЕНИЯХ В ГРАФИКЕ РАБОТЫ ЧИТАЙТЕ НА САЙТА



назад Раздел:   вперёд

Вернуться к выбору узлов мотора


ДЕТАЛИРОВКА ДЛЯ МОДЕЛИ: SUZUKI DF70WTHLK7(E1) K7

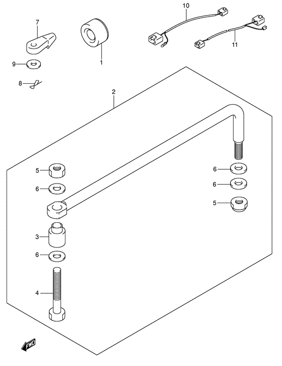
Переключающая тяга


Год выпуска двигателя: 2007

Номер на
рисунке
АртикулНаименованиеQTYКол-во
на складе
Цена
141161-94400-000

Сальник рулевого кабеля - Seal, Steering Cable (Seal, steering cable # ) (Уплотение кабеля)

16 шт1530 руб.
267701-99E20-000

Рулевая тяга в сборе - Link Assy, Drag

под заказ8930 руб.
267701-87J11-000

   (актуальный код замены) Рулевая тяга в сборе - Link Assy, Drag

3 шт8930 руб.
267701-87J11-000

Рулевая тяга в сборе - Link Assy, Drag (Link assy, drag # ) (Рулевая тяга)

3 шт8930 руб.
267701-87J00-000

Рулевая тяга в сборе - Link Assy, Drag (Model:02 # )

под заказ8930 руб.
267701-87J11-000

   (актуальный код замены) Рулевая тяга в сборе - Link Assy, Drag

3 шт8930 руб.
267701-87J11-000

Рулевая тяга в сборе - Link Assy, Drag (Link assy, drag # ) (Рулевая тяга)

3 шт8930 руб.
267701-87J11-000

Рулевая тяга в сборе - Link Assy, Drag (Link assy, drag # Link, drag; Model:03~09 # ) (Рулевая тяга)

3 шт8930 руб.
367721-99E00-000

Проставка - Spacer (Кольцо/шайба)

под заказ1110 руб.
367721-87J00-000

Проставка - Spacer (Model:02~09 # ) (Кольцо/шайба)

под заказ1110 руб.
467725-99E00-000

Болт переключающей тяги - Bolt, Drag Link (Болт соединяющий)

4 шт850 руб.
567726-99E00-000

Блокирующая гайка - Nut, Lock (Гайка блокирующая)

3 шт800 руб.
667728-99E00-000

Шайба - Washer (Шайба)

2 шт260 руб.
767467-89J01-000

Коннектор - Connector (Connector, remocon cable; # ) (Переходник)

72 шт850 руб.
809385-06012-000

Зажим - Clip (Clip)

134 шт150 руб.
909160-06055-000

Шайба (7x12x1) - Washer (7x12x1) (Washer (7x12x1.0) # Washer (7x12x1.0); # ) (Шайба)

67 шт130 руб.
1034711-99E00-000

Запчасть снята с производства - The Spare Part Is Laid Off (Model:98~01 # )

под заказ0 руб.
1136661-99E00-000

Провод, Adapter To Двигатель - Wire, Adapter To Engine (Wire, adapter to engine # Model:98~01 # ) (Проводка (адаптер - двигатель))

под заказ0 руб.
1267600-90J00-000

Рулевая тяга, комплект - Kit, Tie Rod (Opt # ) (Комплект рулевой тяги)

под заказ175680 руб.
1367631-90J00-000

Кронштейн рулевой тяги - Bracket, Tie Rod (Opt # ) (Кронштейн связки)

под заказ18870 руб.
1467725-99E10-000

Болт - Bolt (Opt # ) (Bolt)

под заказ1200 руб.
1467725-99E20-000

   (актуальный код замены) Болт переключающей тяги - Bolt, Drag Link

под заказ1200 руб.
1567726-99E00-000

Блокирующая гайка - Nut, Lock (Opt # ) (Гайка блокирующая)

3 шт800 руб.
1609100-12081-000

Болт (12x25) - Bolt (12x25) (Opt, refer to no.20 # ) (Bolt)

под заказ1630 руб.
1709160-12066-000

Шайба (12.5x22x2.5) - Washer (125x22x25) (Washer (12.5x22x2.5) # Opt # ) (Шайба)

19 шт150 руб.
1809180-09022-000

Проставка (9.6x18x12) - Spacer (96x18x12) (Opt, refer to no.22 # ) (Кольцо/шайба)

под заказ3410 руб.
1967620-99E00-000

Рулевая тяга, комплект Adapter - Kit, Tie Rod Adapter (Opt, for df60/70, not shown # ) (Комплект рулевой тяги)

под заказ0 руб.
2009111-10064-000

Болт (10x25) - Bolt (10x25) (Opt, for df60/70 # ) (Bolt)

под заказ0 руб.
2109160-12066-000

Шайба (12.5x22x2.5) - Washer (125x22x25) (Washer (12.5x22x2.5) # Opt, for df60/70 # ) (Шайба)

19 шт150 руб.
2209180-09023-000

Проставка (9.6x18x6) - Spacer (96x18x6) (Opt, for df60/70 # ) (Кольцо/шайба)

под заказ0 руб.


Время выполнения запроса 1.5073020458221 сек.

 
 

данный сайт носит информационный характер и не является публичной офертой

склад запчастей для водомоторной техники