Купить оригинальные запчасти на подвесной двигатель Suzuki модель 2007 года - Отделитель паров топлива
вконтакте

Контактный телефон: +7 (981) 121-46-93, +7 (800) 200-90-76 , Email: parts-katalog@yandex.ru, где купить

 
 

  Логин:

Пароль:

Регистрация

www.partskatalog.ru Все каталоги Запчасти Mercury Запчасти Suzuki Запчасти Tohatsu Запчасти Honda Контакты



УВАЖАЕМЫЕ КЛИЕНТЫ!
C 19 ДЕКАБРЯ 2025 ПО 02 МАРТА 2026 ГОДА ОТДЕЛ ЗАПЧАСТЕЙ И СЕРВИС РАБОТАТЬ НЕ БУДУТ
ПРОДАЖА ЛОДОЧНЫХ МОТОРОВ В ШТАТНОМ РЕЖИМЕ
ОБ ИЗМЕНЕНИЯХ В ГРАФИКЕ РАБОТЫ ЧИТАЙТЕ НА САЙТА



назад Раздел:   вперёд

Вернуться к выбору узлов мотора


ДЕТАЛИРОВКА ДЛЯ МОДЕЛИ: SUZUKI DF70TL K7

Отделитель паров топлива


Год выпуска двигателя: 2007

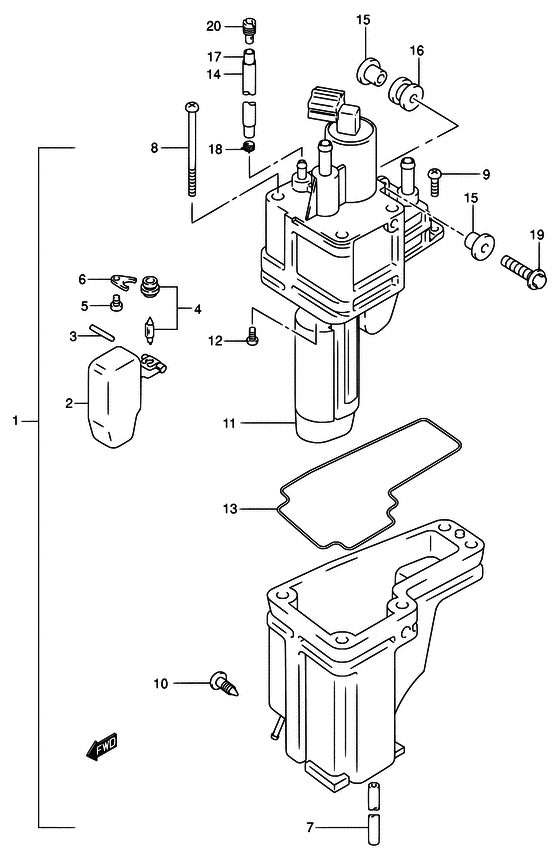
Номер на
рисунке
АртикулНаименованиеQTYКол-во
на складе
Цена
115600-99E00-000

Сепаратор-отделитель паров топлива, в сборе - Separator Assy, Fuel Vapor (Separator, fuel vapor # ) (Сепаратор топливного пара)

под заказ0 руб.
115600-99E01-000

   (актуальный код замены) Запчасть снята с производства - The Spare Part Is Laid Off

под заказ0 руб.
215650-99E00-000

Поплавок - Float (<-5631-99E00 # ) (Поплавок)

под заказ6870 руб.
315654-99E00-000

Штифт - Pin (<-5632-99E00 # ) (Pin)

под заказ240 руб.
413370-99E00-000

Игольчатый клапан, в сборе - Valve Assy, Needle (W/VALVE SEAT <-5633-99E00 # ) (Клапан)

3 шт6540 руб.
502112-04083-000

Винт - Screw

под заказ90 руб.
502112-0408A-000

   (актуальный код замены) Винт - Screw

под заказ90 руб.
502112-0408A-000

Винт - Screw (Болт)

под заказ90 руб.
613373-39110-000

Пластина - Plate (Плата клапана)

под заказ520 руб.
715644-99E00-000

Запчасть снята с производства - The Spare Part Is Laid Off

под заказ0 руб.
815627-99E00-000

Винт (l: 70) - Screw (l:70) (Screw (l:70))

под заказ660 руб.
915628-99E00-000

Винт (l: 15) - Screw (l:15) (Screw (l:15))

под заказ240 руб.
1015629-99E10-000

Винт дренажный - Screw, Drain (<-5629-99E00 # ) (Винт дренажный)

под заказ550 руб.
1115641-99E00-000

Фильтр топливного насоса - Filter, Fuel Pump (Filter, fuel pump # ) (Фильтр топливный)

под заказ3580 руб.
1115641-99E01-000

   (актуальный код замены) Фильтр топливного насоса - Filter, Fuel Pump

1 шт3580 руб.
1202112-05103-000

Винт - Screw (<-5642-99E00 # )

под заказ120 руб.
1202112-0510A-000

   (актуальный код замены) Винт - Screw

под заказ120 руб.
1202112-0510A-000

Винт - Screw (Болт)

под заказ120 руб.
1315626-99E00-000

Уплотнительное кольцо - O Ring (O ring # <-5643-99E00 # ) (Прокладка)

1 шт2110 руб.
1418498-87JC0-000

Защита шланга (9.5x11.5x450) - Protector, Hose (95x115x450) (Protector, evap hose (9.5x11.5x450) # L:450->90 <-8498-99E00 # ) (Протектор)

1 шт650 руб.
1418498-87JC1-000

   (актуальный код замены) Защита шланга (9.5x11.5x450) - Protector, Hose (9.5x11.5x450)

под заказ650 руб.
1509169-06067-000

Шайба - Washer (Шайба)

10 шт240 руб.
1609320-09039-000

Подушка - Cushion (Cushion, silencer cover # ) (Валик)

8 шт320 руб.
1609320-09059-000

   (актуальный код замены) Подушка (9x18x14) - Cushion (9x18x14)

под заказ320 руб.
1709355-35755-600

Шланг (3.5x7.5x600) - Hose (35x75x600) (L:600->60 # ) (Шланг)

под заказ710 руб.
1709355-35007-600

   (актуальный код замены) Шланг (3.5x7.5x600) - Hose (3.5x7.5x600)

под заказ710 руб.
1809401-06405-000

Зажим - Clip (Хомут)

под заказ160 руб.
1902162-06257-000

Винт - Screw (Bolt # ) (Bolt)

7 шт150 руб.
2009493-20020-000

Воздушная форсунка (100) - Jet, Air (100) (Jet, evap hose # OPT # ) (Жиклер шланга)

под заказ1380 руб.


Время выполнения запроса 0.82883596420288 сек.

 
 

данный сайт носит информационный характер и не является публичной офертой

склад запчастей для водомоторной техники