Купить комплектующие Suzuki DF70TL/X; DF70WT(H)L/X модель 2007 года - Fuel injector / Топливный инжектор
вконтакте

Контактный телефон: +7 (981) 121-46-93, +7 (800) 200-90-76 , Email: parts-katalog@yandex.ru, где купить

 
 

  Логин:

Пароль:

Регистрация

www.partskatalog.ru Все каталоги Запчасти Mercury Запчасти Suzuki Запчасти Tohatsu Запчасти Honda Контакты



УВАЖАЕМЫЕ КЛИЕНТЫ!
C 19 ДЕКАБРЯ 2025 ПО 02 МАРТА 2026 ГОДА ОТДЕЛ ЗАПЧАСТЕЙ И СЕРВИС РАБОТАТЬ НЕ БУДУТ
ПРОДАЖА ЛОДОЧНЫХ МОТОРОВ В ШТАТНОМ РЕЖИМЕ
ОБ ИЗМЕНЕНИЯХ В ГРАФИКЕ РАБОТЫ ЧИТАЙТЕ НА САЙТА



назад Раздел:   вперёд

Вернуться к выбору узлов мотора


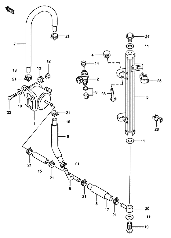
ДЕТАЛИРОВКА ДЛЯ МОДЕЛИ: SUZUKI DF70WTHL K7

Топливный инжектор


Код модели двигателя: DF70TL/X; DF70WT(H)L/X

Год выпуска двигателя: 2007

Цвет: Shadow Black Metallic

Номер на
рисунке
АртикулНаименованиеQTYКол-во
на складе
Цена
115440-99E01-000

Топливный фильтр - Filter, Fuel (Фильтр топливный)

9 шт10200 руб.
115440-99E10-000

Топливный фильтр - Filter, Fuel (DF70WT, 70WTH # )

под заказ10230 руб.
115440-99E11-000

   (актуальный код замены) Топливный фильтр - Filter, Fuel

под заказ10230 руб.
115440-99E11-000

Топливный фильтр - Filter, Fuel (Фильтр топливный)

под заказ10230 руб.
115440-99E11-000

Топливный фильтр - Filter, Fuel (DF70WT, 70WTH MODEL:06~09 # ) (Фильтр топливный)

под заказ10230 руб.
215710-66D00-000

Топливный инжектор, в сборе - Injector Assy, Fuel (MODEL:01~09 # ) (Injector, fuel)

под заказ36720 руб.
215710-99E00-000

Топливный инжектор, в сборе - Injector Assy, Fuel (Injector, fuel # MODEL:98~00 # ) (Форсунка)

2 шт24000 руб.
315716-58BT0-000

Пыльник топливного инжектора - Grommet Set, Fuel Injector (MODEL:98~00 # ) (Набор втулок)

10 шт2250 руб.
315716-65DT0-000

Пыльник топливного инжектора - Grommet Set, Fuel Injector (MODEL:01~09 # ) (Набор втулок)

12 шт1880 руб.
415735-58B00-000

Изолятор подающей трубки - Insulator, Delivery Pipe (Insulator, delivery pipe # MODEL:98~00 # ) (Изолятор)

под заказ520 руб.
415735-64B00-000

Изолятор, Delivery - Insulator, Delivery (MODEL:01 # ) (Insulator, delivery pipe)

под заказ690 руб.
515751-99E00-000

Трубка подачи - Pipe, Delivery (Pipe, delivery # ) (Трубка впускная)

под заказ0 руб.
615830-99E00-000

Соединительный тройник - Union, 3 Way (Union, 3 way fuel hose # <-5830-87J20 # ) (Соединение топливного шланга, 3-х стороннее)

под заказ1680 руб.
718498-99E20-000

Защита топливного шланга (l: 450) - Protector, Fuel Hose (l:450) (Протектор топливного шланга (L:450))

под заказ1200 руб.
718498-99E21-000

   (актуальный код замены) Защита топливного шланга (l: 450) - Protector, Fuel Hose (l:450)

под заказ1200 руб.
818498-99E20-000

Защита топливного шланга (l: 450) - Protector, Fuel Hose (l:450) (L:450->0 # ) (Протектор топливного шланга (L:450))

под заказ1200 руб.
818498-99E21-000

   (актуальный код замены) Защита топливного шланга (l: 450) - Protector, Fuel Hose (l:450)

под заказ1200 руб.
918498-99E20-000

Защита топливного шланга (l: 450) - Protector, Fuel Hose (l:450) (L:450->0 # ) (Протектор топливного шланга (L:450))

под заказ1200 руб.
918498-99E21-000

   (актуальный код замены) Защита топливного шланга (l: 450) - Protector, Fuel Hose (l:450)

под заказ1200 руб.
1009160-06084-000

Шайба (6.5x18x1.6) - Washer (65x18x16) (MODEL:98~05 # ) (Шайба 6.5X18X1)

7 шт130 руб.
1109168-12013-000

Прокладка (11.8x22x1.2) - Gasket (118x22x12) (Gasket, union # ) (Прокладка)

10 шт260 руб.
1115762-90J00-000

Прокладка, Соединение - Gasket, Union (Gasket, union # DF70WT, 70WTH # ) (Gasket (11.8x22x1.2))

под заказ610 руб.
1209169-06062-000

Шайба - Washer (Washer # ) (Кольцо/шайба)

под заказ190 руб.
1309320-08501-000

Подушка - Cushion (Cushion)

под заказ240 руб.
1409320-08062-000

Подушка - Cushion (Cushion)

34 шт1010 руб.
1509356-75137-600

Шланг (7.5x13.5x600) - Hose (75x135x600) (Hose (separator to filter) # L:600->0 # ) (Шланг топливный)

6 шт12580 руб.
1609356-75137-600

Шланг (7.5x13.5x600) - Hose (75x135x600) (Hose (separator to filter) # L:600->00 # ) (Шланг топливный)

6 шт12580 руб.
1709356-75137-600

Шланг (7.5x13.5x600) - Hose (75x135x600) (Hose (separator to filter) # L:600->10 # ) (Шланг топливный)

6 шт12580 руб.
1809356-75137-600

Шланг (7.5x13.5x600) - Hose (75x135x600) (Hose (separator to filter) # L:600->20 # ) (Шланг топливный)

6 шт12580 руб.
1909360-12008-000

Соединение - Union (Болт соединяющий)

под заказ730 руб.
1909360-12013-000

Соединение - Union (DF70WT, 70WTH # ) (Болт соединяющий)

под заказ790 руб.
2009363-08004-000

Соединение - Union (Соединение топливного фильтра)

под заказ1650 руб.
2015830-90J00-000

Основной топливный соединитель - Joint, Fuel Main (Joint, fuel main # DF70WT, 70WTH # ) (Болт соединяющий)

под заказ1860 руб.
2117822-90J00-000

Зажим - Clip (<-9401-11414 # )

под заказ320 руб.
2109401-11425-000

   (актуальный код замены) Зажим - Clip

4 шт370 руб.
2109401-11425-000

Зажим - Clip (Clip)

4 шт370 руб.
2201500-06257-000

Болт - Bolt (Bolt)

под заказ150 руб.
2209116-06202-000

Болт (6x25) - Bolt (6x25) (Bolt (w/washer) # MODEL:06~09 # ) (Болт (шайба))

под заказ250 руб.
2301550-08257-000

Болт - Bolt (MODEL:02~09 # ) (Bolt)

под заказ300 руб.
2301550-08407-000

Болт - Bolt (Болт 8 X 40)

под заказ260 руб.
2401550-12167-000

Болт - Bolt (Bolt, delivery pipe # ) (Bolt)

под заказ290 руб.
2409247-12013-000

Заглушка (12x16) - Plug (12x16) (Plug, delivery pipe # DF70WT, 70WTH # ) (Bolt)

под заказ470 руб.
2509403-07308-000

Струбцина - Clamp (Clamp # ) (Clamp)

под заказ120 руб.
2609408-00157-000

Струбцина - Clamp (MODEL:02~09 # ) (Хомут)

под заказ270 руб.


Время выполнения запроса 1.1603569984436 сек.

 
 

данный сайт носит информационный характер и не является публичной офертой

склад запчастей для водомоторной техники