Подобрать оригинальные запчасти на подвесной двигатель Suzuki модель 2009 года - Engine control unit / Блок управления двигателем
вконтакте

Контактный телефон: +7 (981) 121-46-93, +7 (800) 200-90-76 , Email: parts-katalog@yandex.ru, где купить

 
 

  Логин:

Пароль:

Регистрация

www.partskatalog.ru Все каталоги Запчасти Mercury Запчасти Suzuki Запчасти Tohatsu Запчасти Honda Контакты



УВАЖАЕМЫЕ КЛИЕНТЫ!
C 19 ДЕКАБРЯ 2025 ПО 02 МАРТА 2026 ГОДА ОТДЕЛ ЗАПЧАСТЕЙ И СЕРВИС РАБОТАТЬ НЕ БУДУТ
ПРОДАЖА ЛОДОЧНЫХ МОТОРОВ В ШТАТНОМ РЕЖИМЕ
ОБ ИЗМЕНЕНИЯХ В ГРАФИКЕ РАБОТЫ ЧИТАЙТЕ НА САЙТА



назад Раздел:   вперёд

Вернуться к выбору узлов мотора


ДЕТАЛИРОВКА ДЛЯ МОДЕЛИ: SUZUKI DF70WTHL K9

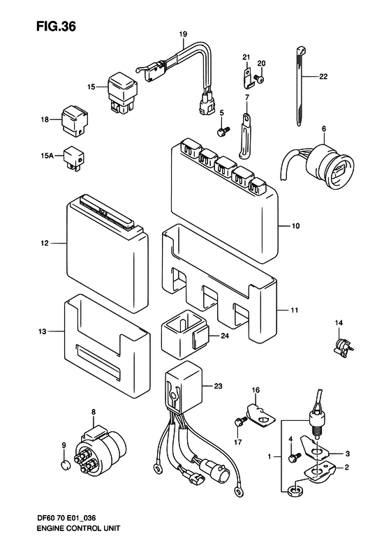
Блок управления двигателем


Год выпуска двигателя: 2009

Номер на
рисунке
АртикулНаименованиеQTYКол-во
на складе
Цена
137721-99E00-000

Выключатель нейтрали, в сборе - Switch Assy, Neutral (MODEL:98~02 # )

под заказ5720 руб.
137721-99E02-000

   (актуальный код замены) Выключатель нейтрали, в сборе - Switch Assy, Neutral

2 шт4800 руб.
137721-99E01-000

Выключатель нейтрали, в сборе - Switch Assy, Neutral (Switch assy, neutral)

под заказ5720 руб.
137721-99E02-000

   (актуальный код замены) Выключатель нейтрали, в сборе - Switch Assy, Neutral

2 шт4800 руб.
137721-99E11-000

Выключатель нейтрали, в сборе - Switch Assy, Neutral (MODEL:03~09 # ) (Switch assy, neutral)

под заказ5620 руб.
137721-99E12-000

   (актуальный код замены) Выключатель нейтрали, в сборе - Switch Assy, Neutral

1 шт5620 руб.
237725-95600-000

Пускатель переключателя нейтрали - Actuator, Neutral Switch (Actuator, neutral switch # ) (Переключатель силового привода (нейтральный))

под заказ690 руб.
337726-94402-000

Кронштейн переключателя реверса - Bracket, Reverse Switch (Bracket, neutral sw # ~MODEL:01 # ) (Кронштейн)

под заказ460 руб.
401550-06167-000

Болт - Bolt (Bolt)

9 шт210 руб.
501550-06107-000

Болт - Bolt (Bolt)

под заказ180 руб.
637850-99E03-000

Переключатель управления гидроподъёмом двигателя - Switch Assy, Ptt

под заказ9800 руб.
637850-99E05-000

   (актуальный код замены) Переключатель управления гидроподъёмом двигателя - Switch Assy, Ptt

2 шт9800 руб.
637850-99E04-000

Переключатель управления гидроподъёмом двигателя - Switch Assy, Ptt (Switch assy, ptt)

под заказ9800 руб.
637850-99E05-000

   (актуальный код замены) Переключатель управления гидроподъёмом двигателя - Switch Assy, Ptt

2 шт9800 руб.
729404-93J10-000

Струбцина - Clamp (<-9404-06432 # ) (Струбцина переключателя)

под заказ190 руб.
729404-93J11-000

   (актуальный код замены) Струбцина - Clamp

под заказ190 руб.
838410-94552-000

Реле трима, в сборе - Relay Assy, Trim (MODEL:98~05 # ) (Реле)

5 шт17090 руб.
909251-09002-000

Колпачок (od: 13.6) - Cap (od:136) (MODEL:98~05 # ) (Cap)

под заказ260 руб.
909251-09008-000

   (актуальный код замены) Колпачок (od: 13.6) - Cap (od:13.6)

под заказ260 руб.
1033920-99E05-000

Модуль контроля зажигания - Unit, Engine Control (Unit, engine control # DF60:861477~MODEL:00 # ) (Блок контроля двигателя)

под заказ216480 руб.
1033920-99E14-000

Модуль контроля зажигания - Unit, Engine Control (DF70:861713~MODEL:00 # ) (Блок контроля двигателя)

под заказ0 руб.
1033920-99E91-000

Module, Двигатель Управлениеl - Module, Engine Controll (Module, engine control # DF60 <-3920-99E00 # ) (Модуль контроля двигателя)

под заказ0 руб.
1033920-99EA0-000

Module, Двигатель Управлениеl - Module, Engine Controll (Module, engine control (ecm) # DF70 # ) (Блок контроля двигателя)

под заказ0 руб.
1133925-99E00-000

Подушка, Ecm - Cushion, Ecm (Cushion, ecm # ~MODEL:00 # ) (Валик двигателя)

под заказ0 руб.
1233920-99E20-000

Модуль контроля зажигания - Unit, Engine Control (DF60 MODEL:01, 02 # )

под заказ255840 руб.
1233920-99E74-000

   (актуальный код замены) Модуль контроля зажигания - Unit, Engine Control

под заказ255840 руб.
1233920-99E74-000

Модуль контроля зажигания - Unit, Engine Control (Unit, engine control)

под заказ255840 руб.
1233920-99E30-000

Модуль контроля зажигания - Unit, Engine Control (DF70 MODEL:01, 02 # )

под заказ255840 руб.
1233920-99E84-000

   (актуальный код замены) Модуль контроля зажигания - Unit, Engine Control

под заказ255840 руб.
1233920-99E84-000

Модуль контроля зажигания - Unit, Engine Control (Модуль контроля двигателя)

под заказ255840 руб.
1233920-99E51-000

Модуль контроля зажигания - Unit, Engine Control (DF60 MODEL:03~05 # )

под заказ255840 руб.
1233920-99E54-000

   (актуальный код замены) Модуль контроля зажигания - Unit, Engine Control

под заказ255840 руб.
1233920-99E54-000

Модуль контроля зажигания - Unit, Engine Control (Модуль контроля двигателя)

под заказ255840 руб.
1233920-99E52-000

Модуль контроля зажигания - Unit, Engine Control (DF60 MODEL:06 # )

под заказ255840 руб.
1233920-99E54-000

   (актуальный код замены) Модуль контроля зажигания - Unit, Engine Control

под заказ255840 руб.
1233920-99E54-000

Модуль контроля зажигания - Unit, Engine Control (Модуль контроля двигателя)

под заказ255840 руб.
1233920-99E53-000

Модуль контроля зажигания - Unit, Engine Control (DF60 MODEL:07 # )

под заказ255840 руб.
1233920-99E54-000

   (актуальный код замены) Модуль контроля зажигания - Unit, Engine Control

под заказ255840 руб.
1233920-99E54-000

Модуль контроля зажигания - Unit, Engine Control (Модуль контроля двигателя)

под заказ255840 руб.
1233920-99E54-000

Модуль контроля зажигания - Unit, Engine Control (DF60 MODEL:08~09 # ) (Модуль контроля двигателя)

под заказ255840 руб.
1233920-99E61-000

Модуль контроля зажигания - Unit, Engine Control (DF70 MODEL:03~05 # )

под заказ255840 руб.
1233920-99E64-000

   (актуальный код замены) Модуль контроля зажигания - Unit, Engine Control

под заказ255840 руб.
1233920-99E64-000

Модуль контроля зажигания - Unit, Engine Control (Модуль контроля двигателя)

под заказ255840 руб.
1233920-99E62-000

Модуль контроля зажигания - Unit, Engine Control (DF70 MODEL:06 # )

под заказ255840 руб.
1233920-99E64-000

   (актуальный код замены) Модуль контроля зажигания - Unit, Engine Control

под заказ255840 руб.
1233920-99E64-000

Модуль контроля зажигания - Unit, Engine Control (Модуль контроля двигателя)

под заказ255840 руб.
1233920-99E63-000

Модуль контроля зажигания - Unit, Engine Control (DF70 MODEL:07 # )

под заказ255840 руб.
1233920-99E64-000

   (актуальный код замены) Модуль контроля зажигания - Unit, Engine Control

под заказ255840 руб.
1233920-99E64-000

Модуль контроля зажигания - Unit, Engine Control (Модуль контроля двигателя)

под заказ255840 руб.
1233920-99E64-000

Модуль контроля зажигания - Unit, Engine Control (DF70 MODEL:08 # ) (Модуль контроля двигателя)

под заказ255840 руб.
1233920-99E81-000

Модуль контроля зажигания - Unit, Engine Control (DF70WT, 70WTH MODEL:03~05 # )

под заказ255840 руб.
1233920-99E84-000

   (актуальный код замены) Модуль контроля зажигания - Unit, Engine Control

под заказ255840 руб.
1233920-99E84-000

Модуль контроля зажигания - Unit, Engine Control (Модуль контроля двигателя)

под заказ255840 руб.
1233920-99E82-000

Модуль контроля зажигания - Unit, Engine Control (DF70WT, 70WTH MODEL:06 # )

под заказ255840 руб.
1233920-99E84-000

   (актуальный код замены) Модуль контроля зажигания - Unit, Engine Control

под заказ255840 руб.
1233920-99E84-000

Модуль контроля зажигания - Unit, Engine Control (Модуль контроля двигателя)

под заказ255840 руб.
1233920-99E83-000

Модуль контроля зажигания - Unit, Engine Control (DF70WT, 70WTH MODEL:07 # )

под заказ255840 руб.
1233920-99E84-000

   (актуальный код замены) Модуль контроля зажигания - Unit, Engine Control

под заказ255840 руб.
1233920-99E84-000

Модуль контроля зажигания - Unit, Engine Control (Модуль контроля двигателя)

под заказ255840 руб.
1233920-99E84-000

Модуль контроля зажигания - Unit, Engine Control (DF70WT, 70WTH MODEL:08~09 # ) (Модуль контроля двигателя)

под заказ255840 руб.
1333925-87J00-000

Подушка модуля управления двигателем - Cushion, Engine Control Unit (Cushion, engine control unit # MODEL:01~09 # ) (Cushion)

под заказ2980 руб.
1409403-07308-000

Струбцина - Clamp (Clamp # ) (Clamp)

под заказ120 руб.
1538910-92E00-000

Реле главного модуля управления двигателем - Relay, Ecm Main (Relay, starting motor # ) (Реле топливного впрыска)

2 шт5910 руб.
1538860-76F01-000

Реле в сборе - Relay Assy (Relay, starting motor # MODEL:03~09 # ) (Реле стартера)

7 шт5000 руб.
1637726-99E10-000

Кронштейн переключателя нейтрали - Bracket, Neutral Switch (MODEL:02~09 # ) (Кронштейн нейтрального переключателя)

под заказ600 руб.
1701550-06167-000

Болт - Bolt (MODEL:02~09 # ) (Bolt)

9 шт210 руб.
1838915-90J00-000

Держатель реле - Holder, Relay (MODEL:03~09 # ) (Держатель реле)

2 шт370 руб.
1937722-93J00-000

Переключатель ограничителя наклона - Switch Assy, Tilt Limit (MODEL:04~05 # )

под заказ4370 руб.
1937722-93J13-000

   (актуальный код замены) Переключатель ограничителя наклона - Switch Assy, Tilt Limit

2 шт4750 руб.
1937722-93J11-000

Переключатель ограничителя наклона - Switch Assy, Tilt Limit (Switch assy, tilt limit)

под заказ4370 руб.
1937722-93J13-000

   (актуальный код замены) Переключатель ограничителя наклона - Switch Assy, Tilt Limit

2 шт4750 руб.
2009103-06152-000

Болт (6x12) - Bolt (6x12) (Bolt (6x12) # MODEL:04~05 # ) (Винт)

под заказ250 руб.
2109403-09316-000

Струбцина - Clamp (Clamp, tilt limit lead # MODEL:04~05 # ) (Clamp)

под заказ160 руб.
2109403-09330-000

   (актуальный код замены) Струбцина, Tilt Limit Lead - Clamp, Tilt Limit Lead

под заказ160 руб.
2209407-14407-000

Струбцина (l: 145) - Clamp (l:145) (Band # MODEL:04~05 # ) (Clamp (l:145))

9 шт230 руб.
2338410-93J10-000

Реле управления гидроподъёмом двигателя - Relay Assy, Ptt (MODEL:06~09 # )

под заказ12580 руб.
2338410-93J12-000

   (актуальный код замены) Реле управления гидроподъёмом двигателя - Relay Assy, Ptt

19 шт13700 руб.
2338410-93J12-000

Реле управления гидроподъёмом двигателя - Relay Assy, Ptt (Relay assy, ptt)

19 шт13700 руб.
2438415-93J00-000

Держатель реле двигателя гидроподъёма - Holder, Ptt Relay (MODEL:06~09 # ) (Держатель реле)

под заказ580 руб.


Время выполнения запроса 4.6419072151184 сек.

 
 

данный сайт носит информационный характер и не является публичной офертой

склад запчастей для водомоторной техники