Подобрать оригинальные запчасти на лодочный мотор Suzuki модель 2011 года - Water pump
вконтакте

Контактный телефон: +7 (981) 121-46-93, +7 (800) 200-90-76 , Email: parts-katalog@yandex.ru, где купить

 
 

  Логин:

Пароль:

Регистрация

www.partskatalog.ru Все каталоги Запчасти Mercury Запчасти Suzuki Запчасти Tohatsu Запчасти Honda Контакты



УВАЖАЕМЫЕ КЛИЕНТЫ!
C 19 ДЕКАБРЯ 2025 ПО 02 МАРТА 2026 ГОДА ОТДЕЛ ЗАПЧАСТЕЙ И СЕРВИС РАБОТАТЬ НЕ БУДУТ
ПРОДАЖА ЛОДОЧНЫХ МОТОРОВ В ШТАТНОМ РЕЖИМЕ
ОБ ИЗМЕНЕНИЯХ В ГРАФИКЕ РАБОТЫ ЧИТАЙТЕ НА САЙТА



назад Раздел:   вперёд

Вернуться к выбору узлов мотора


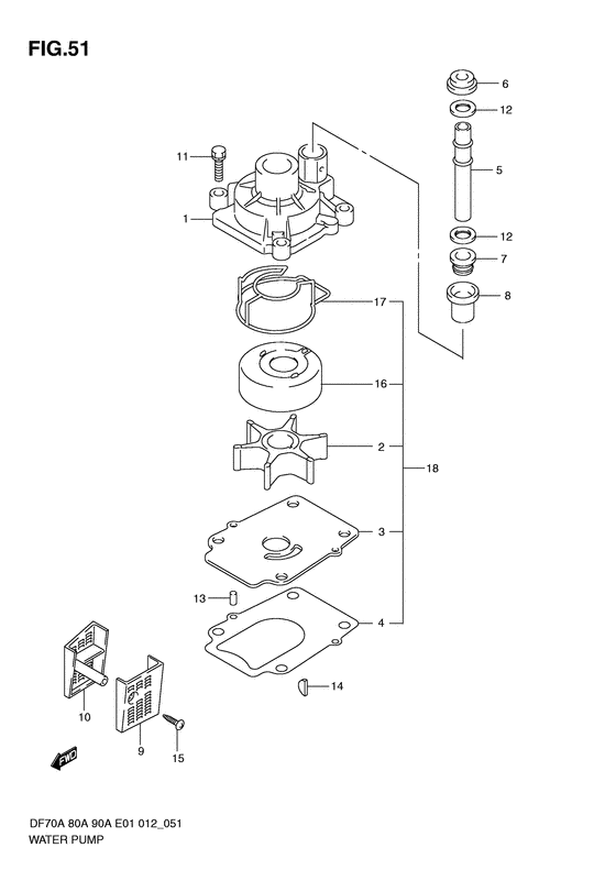
ДЕТАЛИРОВКА ДЛЯ МОДЕЛИ: SUZUKI DF70ATH(80A) PRD

Водяной насос


Год выпуска двигателя: 2011

Номер на
рисунке
АртикулНаименованиеQTYКол-во
на складе
Цена
117410-99E10-000

Корпус водяного насоса - Case, Water Pump (Корпус водной помпы)

4 шт6850 руб.
217461-87E12-000

Крыльчатка водяного насоса - Impeller, Water Pump (Крыльчатка водной помпы)

40 шт6040 руб.
2SC-WT098

   (не оригинальный аналог) Крыльчатка помпы охлаждения двигателя Suzuki SC-WT098

под заказ1740 руб.
317471-87L00-000

Панель в нижней части корпуса помпы - Panel, Pump Case Under (Panel, pump case under)

1 шт1240 руб.
317471-87L01-000

   (актуальный код замены) Панель в нижней части корпуса помпы - Panel, Pump Case Under

5 шт1240 руб.
3SK17471-87L00

   (не оригинальный аналог) Пластина помпы Skipper для Suzuki DF70A/80A/90A

1 шт413 руб.
317471-87L00

   (не оригинальный аналог) Пластина помпы Suzuki 17471-87L00

под заказ820 руб.
417472-87L00-000

Прокладка панели корпуса помпы - Gasket, Pump Case Panel (Gasket, pump case panel)

7 шт880 руб.
4SK17472-87L00

   (не оригинальный аналог) Прокладка пластины помпы Skipper для Suzuki Модели техники: DF70A-90A

0 шт156 руб.
517561-87L20-000

Водяная трубка (l) - Tube, Water (l) (Tube, water (l); Transom (l) # ) (Tube, water (l))

под заказ2620 руб.
517561-87L30-000

Водяная трубка (x) - Tube, Water (x) (Tube, water (x); Transom (x) # ) (Tube, water (x))

под заказ3220 руб.
617562-87L00-000

Втулка, Водяная трубка, верхний - Bush, Water Tube, Upper (Bush, water tube upper)

под заказ820 руб.
617562-87L01-000

   (актуальный код замены) Верхний пыльник водяной трубки - Grommet, Water Tube Upper

7 шт820 руб.
717563-87D00-000

Нижняя втулка водяной трубки - Bush, Water Tube, Lower (Bush, water tube lower # ) (Втулка трубы)

под заказ870 руб.
717563-87D01-000

   (актуальный код замены) Нижняя втулка водяной трубки - Bush, Water Tube, Lower

4 шт930 руб.
817564-87D00-000

Втулка корпуса водяной помпы - Bush, Water Pump Case (Bush, water pump case # ) (Втулка водной помпы)

68 шт1270 руб.
917631-87L00-000

Водяной фильтр с левой стороны - Filter, Water Port Side (Filter, water port side)

7 шт910 руб.
1017632-87L00-000

Водяной фильтр с правой стороны - Filter, Water Stbd Side (Filter, water stbd side)

под заказ910 руб.
1017632-87L01-000

   (актуальный код замены) Водяной фильтр с правой стороны - Filter, Water Stbd Side

8 шт1130 руб.
1129116-93J10-000

Болт - Bolt (Bolt (8x35) # ) (Bolt)

14 шт270 руб.
1209161-16008-000

Шайба (15.8x26x1) - Washer (158x26x1) (Washer (15.8x26x1); # ) (Шайба)

1 шт170 руб.
1309202-06031-000

Штифт (6x12) - Pin (6x12) (Pin, knock # ) (Pin)

20 шт220 руб.
1409420-04009-000

Ключ - Key (Шпонка водной помпы)

36 шт480 руб.
1509132-04034-000

Винт (4x18) - Screw (4x18) (Screw (4x18); # ) (Болт)

24 шт170 руб.
1617413-99E11-000

Рукав корпуса водяной помпы - Sleeve, Water Pump Case (Sleeve, water pump case)

9 шт3410 руб.
1717416-99E10-000

Сальник корпуса водяного насоса №1 - Sealing, Water Pump Case No1 (Sealing, water pump case no.1)

под заказ730 руб.
1717416-99E11-000

   (актуальный код замены) Сальник корпуса водяного насоса №1 - Sealing, Water Pump Case No.1

10 шт900 руб.
17SK17416-99E10

   (не оригинальный аналог) Прокладка корпуса помпы Skipper для Suzuki Модели техники: DF40A-DF90A

0 шт339 руб.
1817400-87L01-000

Ремкомплект водяного насоса - Kit, Water Pump Repair (Opt # ) (Kit, water pump repair)

под заказ0 руб.
1817400-87L04-000

   (актуальный код замены) Ремкомплект водяного насоса - Kit, Water Pump Repair

13 шт6390 руб.


Время выполнения запроса 3.0556149482727 сек.

 
 

данный сайт носит информационный характер и не является публичной офертой

склад запчастей для водомоторной техники