Купить запчасти на подвесной лодочный двигатель SUZUKI DF70AT(H)L/X; DF70AWT(H)L/X модель 2011 года - Основание двигателя
вконтакте

Контактный телефон: +7 (981) 121-46-93, +7 (800) 200-90-76 , Email: parts-katalog@yandex.ru, где купить

 
 

  Логин:

Пароль:

Регистрация

www.partskatalog.ru Все каталоги Запчасти Mercury Запчасти Suzuki Запчасти Tohatsu Запчасти Honda Контакты

назад Раздел:   вперёд

Вернуться к выбору узлов мотора


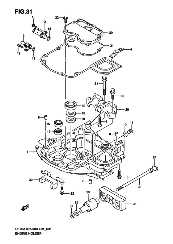
ДЕТАЛИРОВКА ДЛЯ МОДЕЛИ: SUZUKI DF70ATL/DF70ATHL/DF70AWT/DF70AWTH FROM 07003F-110001~

Основание двигателя


Код модели двигателя: DF70AT(H)L/X; DF70AWT(H)L/X

Год выпуска двигателя: 2011

Цвет: Shadow Black Metallic

Номер на
рисунке
АртикулНаименованиеQTYКол-во
на складе
Цена
151111-87L00-0EP

Держатель двигателя (чёрный) - Holder, Engine (black) (Держатель двигателя)

под заказ137760 руб.
251115-87L00-000

Модуль возврата воды - Union, Water Return (Union, water return)

под заказ1370 руб.
351117-87L00-000

Соединение, Water Индикатор - Union, Water Indicator (Union, water indicator)

под заказ1510 руб.
451211-87L00-000

Прокладка основания двигателя - Gasket, Engine Holder

под заказ4300 руб.
451211-87L10-000

   (актуальный код замены) Прокладка основания двигателя - Gasket, Engine Holder

1 шт4600 руб.
451211-87L10-000

Прокладка основания двигателя - Gasket, Engine Holder (Gasket, engine holder)

1 шт4600 руб.
509116-08128-000

Болт (8x40) - Bolt (8x40) (Bolt (8x40))

под заказ390 руб.
609116-08117-000

Болт (8x55) - Bolt (8x55)

под заказ330 руб.
609116-08159-000

   (актуальный код замены) Болт (8x55) - Bolt (8x55)

под заказ330 руб.
609116-08159-000

Болт (8x55) - Bolt (8x55) (Bolt (8x55))

под заказ330 руб.
709202-08006-000

Штифт (8x12) - Pin (8x12) (Pin, knock # ) (Pin)

под заказ280 руб.
804211-11129-000

Штифт - Pin (Pin)

14 шт150 руб.
904211-11129-000

Штифт - Pin (Pin)

14 шт150 руб.
1009160-18031-000

Шайба (18.5x28x2.6) - Washer (185x28x26) (Gasket (18.5x28x2.6))

9 шт190 руб.
1109248-18010-000

Заглушка (18x15) - Plug (18x15) (Plug)

под заказ610 руб.
1209116-06204-000

Болт (6x20) - Bolt (6x20) (Винт, 6X20)

под заказ290 руб.
1309280-11001-000

Уплотнительное кольцо (d: 2.4, Id: 10.8) - O Ring (d:24, Id:108) (O ring (d:2.4, id:11.0) # ) (O ring)

24 шт210 руб.
13SK09280-11001

   (не оригинальный аналог) Кольцо уплотнительное тяги переключения передач Skipper для Suzuki Модели техники: DT20-85/DF2.5-DF50/DF40A-DF60A

0 шт32 руб.
1409280-20002-000

Уплотнительное кольцо (d: 3.1, Id: 19.4) - O Ring (d:31, Id:194) (O ring (id:19.4, d:3.1) # ) (Кольцо (ID:19.4, D:3.1))

5 шт160 руб.
1501550-06207-000

Болт - Bolt (Bolt (chrome))

17 шт220 руб.
1609262-17019-000

Подшипник (17x35x8) - Bearing (17x35x8) (Bearing, clutch shaft # ) (Подшипник вала муфты)

11 шт2120 руб.
1616003NTN

   (подбор по маркировке) Подшипник NTN 16003(17*35*8 мм)

под заказ190 руб.
1709289-18001-000

Сальник (18x30x8) - Seal, Oil (18x30x8) (Уплотнение вала муфты)

4 шт1830 руб.
1809282-22007-000

Сальник (22x36x6) - Seal, Oil (22x36x6) (Seal, oil # ) (Сальник)

66 шт1180 руб.
1912281-87J00-000

Нижний сальник коленвала Oil - Seal, Crankshaft Under Oil (Seal, crankshaft under oil # ) (Уплотнение коленвала)

19 шт1460 руб.
2051122-87L00-000

Крышка монтажного корпуса - Cover, Mount Case (Cover, mount case)

под заказ7010 руб.
2151123-87L00-000

Прокладка крепления крышки корпуса - Gasket, Mount Case Cover (Gasket, mount case cover)

2 шт560 руб.
2201550-0825A-000

Болт - Bolt (Болт)

под заказ180 руб.
2354120-87L00-000

Крепление верхнего упора - Mount, Upr Thrust

под заказ14840 руб.
2354120-87L11-000

   (актуальный код замены) Крепление верхнего упора - Mount, Upr Thrust

под заказ14840 руб.
2354120-87L10-000

Крепление верхнего упора - Mount, Upr Thrust (Mount, upper thrust)

под заказ14840 руб.
2354120-87L11-000

   (актуальный код замены) Крепление верхнего упора - Mount, Upr Thrust

под заказ14840 руб.
2454122-87L00-000

Проставка верхней опорыt Thrust - Spacer, Upper Mount Thrust (Spacer, upper thrust mount)

под заказ460 руб.
2454122-87L01-000

   (актуальный код замены) Проставка крепления верхнего упора - Spacer, Upper Thrust Mount

под заказ460 руб.
2554130-87L00-000

Крепление, вышеr - Mount, Upr (Опора верхняя)

2 шт8390 руб.
2654166-95J02-000

Болт, Lwr Крепление - Bolt, Lwr Mount (Bolt, lower mount)

под заказ3700 руб.
2709159-12014-000

Гайка - Nut (Гайка)

18 шт370 руб.
2809160-12110-000

Шайба (12.5x22x3) - Washer (125x22x3) (Шайба)

6 шт370 руб.
2954137-87L00-0EP

Крышка верхней опоры - Cover, Upper Mount (Cover, upper mount)

под заказ1920 руб.
2954137-87L00-000

   (актуальный код замены) Крышка верхней опоры - Cover, Upper Mount

под заказ1920 руб.
3009116-10139-000

Болт (10x44) - Bolt (10x44)

под заказ610 руб.
3009116-10176-000

   (актуальный код замены) Болт (10x44) - Bolt (10x44)

3 шт760 руб.
3009116-10176-000

Болт (10x44) - Bolt (10x44) (Bolt, 10x44)

3 шт760 руб.
3109116-10147-000

Болт (10x85) - Bolt (10x85) (Болт 10X85)

под заказ1810 руб.
3254140-87L10-000

Стопор, вышеr Unit - Stopper, Upr Unit (Stopper, upper unit)

под заказ9890 руб.
3309116-10137-000

Болт (10x70) - Bolt (10x70) (Bolt, eng set (10x70) # ) (Болт комплекта двигателя (10X70))

5 шт790 руб.


Время выполнения запроса 1.0204648971558 сек.

 
 

данный сайт носит информационный характер и не является публичной офертой

склад запчастей для водомоторной техники