| |
 |
|
 |
Вернуться к выбору узлов мотора
ДЕТАЛИРОВКА ДЛЯ МОДЕЛИ: SUZUKI DF70AT/DF70ATH FROM 07003F-310001~ (E01,E40)
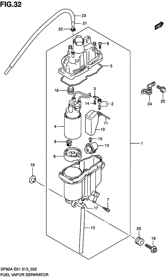
Отделитель паров топлива
Код модели двигателя: DF70AT(H)L/X
Год выпуска двигателя: 2013
Регион: General Export No.1/Costa Rica ,Код региона: P01/P40
Цвет: Shadow Black Metallic
Номер на рисунке | Артикул | Наименование | QTY | Кол-во на складе | Цена |
| 1 | 15600-87L20-000 | Сепаратор-отделитель паров топлива, в сборе - Separator Assy, Fuel Vapor (Separator assy, fuel vapor) | | под заказ | 118080 руб. |
| 2 | 13370-99E00-000 | Игольчатый клапан, в сборе - Valve Assy, Needle (Клапан) | | 3 шт | 6540 руб. |
| 3 | 13373-39110-000 | Пластина - Plate (Плата клапана) | | под заказ | 520 руб. |
| 4 | 15200-90J00-000 | Топливный насос, в сборе - Pump Assy, Fuel (Насос топливный) | | 2 шт | 57680 руб. |
| 5 | 15626-90J00-000 | Сальник - Seal (Валик) | | под заказ | 1690 руб. |
| 6 | 15628-99E00-000 | Винт (l: 15) - Screw (l:15) (Screw (l:15)) | | под заказ | 240 руб. |
| 7 | 15629-99E10-000 | Винт дренажный - Screw, Drain (Винт дренажный) | | под заказ | 550 руб. |
| 8 | 15641-90J00-000 | Проставка - Spacer (Прокладка топливного насоса) | | 4 шт | 2340 руб. |
| 9 | 15642-90J00-000 | Фильтр - Filter (Фильтр топливного насоса) | | 2 шт | 1110 руб. |
| 10 | 15650-99E00-000 | Поплавок - Float (Поплавок) | | под заказ | 6870 руб. |
| 11 | 15654-99E00-000 | Штифт - Pin (Pin) | | под заказ | 240 руб. |
| 12 | 15683-87J00-000 | Шланг - Hose (Hose, drain # L:240->120 # ) (Hose) | | под заказ | 330 руб. |
| 13 | 15760-87L00-000 | Регулятор в сборе - Regulator Assy (Regulator assy) | | под заказ | 21320 руб. |
| 14 | 02112-0408A-000 | Винт - Screw (Болт) | | под заказ | 90 руб. |
| 15 | 02112-0510A-000 | Винт - Screw (Болт) | | под заказ | 120 руб. |
| 16 | 15647-93J00-000 | Втулка топливного насоса - Bush, Fuel Pump (Втулка топливного насоса) | | под заказ | 990 руб. |
| 16 | 15647-93J10-000 | (актуальный код замены) Втулка топливного насоса - Bush, Fuel Pump | | под заказ | 1320 руб. |
| 17 | 13671-13F00-000 | Зажим - Clip (Clip) | | под заказ | 370 руб. |
| 18 | 09116-06202-000 | Болт (6x25) - Bolt (6x25) (Bolt (w/washer) # ) (Болт (шайба)) | | под заказ | 250 руб. |
| 19 | 09169-06075-000 | Шайба - Washer (Шайба) | | под заказ | 240 руб. |
| 20 | 09320-09039-000 | Подушка - Cushion (Cushion, silencer cover # ) (Валик) | | 8 шт | 320 руб. |
| 20 | 09320-09059-000 | (актуальный код замены) Подушка (9x18x14) - Cushion (9x18x14) | | под заказ | 320 руб. |
| 21 | 09352-50823-600 | Шланг (5x8.2x600) - Hose (5x82x600) (Hose, evapotation (5.0x8.2x600) # L:600->460 # ) (Hose (5x8.2x600)) | | под заказ | 640 руб. |
| 21 | 09352-50005-600 | (актуальный код замены) Шланг (5x8.2x600) - Hose (5x8.2x600) | | под заказ | 640 руб. |
| 22 | 09401-08412-000 | Зажим - Clip (Clip) | | под заказ | 190 руб. |
| 23 | 18498-87JC0-000 | Защита шланга (9.5x11.5x450) - Protector, Hose (95x115x450) (Protector, evap hose (9.5x11.5x450) # L:450->390 # ) (Протектор) | | 1 шт | 650 руб. |
| 23 | 18498-87JC1-000 | (актуальный код замены) Защита шланга (9.5x11.5x450) - Protector, Hose (9.5x11.5x450) | | под заказ | 650 руб. |
| 24 | 09403-12320-000 | Струбцина - Clamp (Clamp) | | под заказ | 350 руб. |
| 25 | 01550-06127-000 | Болт - Bolt (Bolt, rect # ) (Bolt) | | 10 шт | 180 руб. |
Время выполнения запроса 1.1752510070801 сек. |
|