| |
 |
|
 |
Вернуться к выбору узлов мотора
ДЕТАЛИРОВКА ДЛЯ МОДЕЛИ: SUZUKI DF70AT/DF70ATH FROM 07003F-310001~ (E01,E40)
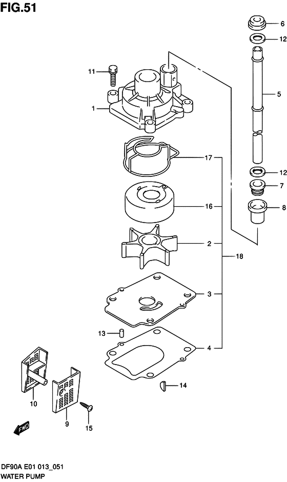
Водяной насос
Код модели двигателя: DF70AT(H)L/X
Год выпуска двигателя: 2013
Регион: General Export No.1/Costa Rica ,Код региона: P01/P40
Цвет: Shadow Black Metallic
Номер на рисунке | Артикул | Наименование | QTY | Кол-во на складе | Цена |
| 1 | 17410-99E10-000 | Корпус водяного насоса - Case, Water Pump (Корпус водной помпы) | | 4 шт | 6850 руб. |
| 2 | 17461-87E12-000 | Крыльчатка водяного насоса - Impeller, Water Pump (Крыльчатка водной помпы) | | 40 шт | 6040 руб. |
| 2 | SC-WT098 | (не оригинальный аналог) Крыльчатка помпы охлаждения двигателя Suzuki SC-WT098 | | под заказ | 1740 руб. |
| 3 | 17471-87L00-000 | Панель в нижней части корпуса помпы - Panel, Pump Case Under (Panel, pump case under) | | 1 шт | 1240 руб. |
| 3 | 17471-87L01-000 | (актуальный код замены) Панель в нижней части корпуса помпы - Panel, Pump Case Under | | 5 шт | 1240 руб. |
| 3 | SK17471-87L00 | (не оригинальный аналог) Пластина помпы Skipper для Suzuki DF70A/80A/90A | | 1 шт | 413 руб. |
| 3 | 17471-87L00 | (не оригинальный аналог) Пластина помпы Suzuki 17471-87L00 | | под заказ | 820 руб. |
| 4 | 17472-87L00-000 | Прокладка панели корпуса помпы - Gasket, Pump Case Panel (Gasket, pump case panel) | | 7 шт | 880 руб. |
| 4 | SK17472-87L00 | (не оригинальный аналог) Прокладка пластины помпы Skipper для Suzuki Модели техники: DF70A-90A | | 0 шт | 156 руб. |
| 5 | 17561-87L20-000 | Водяная трубка (l) - Tube, Water (l) (W/TRANSOM (L) # ) (Tube, water (l)) | | под заказ | 2620 руб. |
| 5 | 17561-87L30-000 | Водяная трубка (x) - Tube, Water (x) (W/TRANSOM (X) # ) (Tube, water (x)) | | под заказ | 3220 руб. |
| 6 | 17562-87L00-000 | Втулка, Водяная трубка, верхний - Bush, Water Tube, Upper (Bush, water tube upper) | | под заказ | 820 руб. |
| 6 | 17562-87L01-000 | (актуальный код замены) Верхний пыльник водяной трубки - Grommet, Water Tube Upper | | 7 шт | 820 руб. |
| 7 | 17563-87D00-000 | Нижняя втулка водяной трубки - Bush, Water Tube, Lower (Bush, water tube lower # ) (Втулка трубы) | | под заказ | 870 руб. |
| 7 | 17563-87D01-000 | (актуальный код замены) Нижняя втулка водяной трубки - Bush, Water Tube, Lower | | 4 шт | 930 руб. |
| 8 | 17564-87D00-000 | Втулка корпуса водяной помпы - Bush, Water Pump Case (Bush, water pump case # ) (Втулка водной помпы) | | 68 шт | 1270 руб. |
| 9 | 17631-87L00-000 | Водяной фильтр с левой стороны - Filter, Water Port Side (Filter, water port side) | | 7 шт | 910 руб. |
| 10 | 17632-87L00-000 | Водяной фильтр с правой стороны - Filter, Water Stbd Side (Filter, water stbd side) | | под заказ | 910 руб. |
| 10 | 17632-87L01-000 | (актуальный код замены) Водяной фильтр с правой стороны - Filter, Water Stbd Side | | 8 шт | 1130 руб. |
| 11 | 29116-93J10-000 | Болт - Bolt (Bolt (8x35) # ) (Bolt) | | 14 шт | 270 руб. |
| 12 | 09161-16008-000 | Шайба (15.8x26x1) - Washer (158x26x1) (Шайба) | | 1 шт | 170 руб. |
| 13 | 09202-06031-000 | Штифт (6x12) - Pin (6x12) (Pin, knock # ) (Pin) | | 20 шт | 220 руб. |
| 14 | 09420-04009-000 | Ключ - Key (Шпонка водной помпы) | | 36 шт | 480 руб. |
| 15 | 09132-04034-000 | Винт (4x18) - Screw (4x18) (Болт) | | 24 шт | 170 руб. |
| 16 | 17413-99E11-000 | Рукав корпуса водяной помпы - Sleeve, Water Pump Case (Sleeve, water pump case) | | 9 шт | 3410 руб. |
| 17 | 17416-99E10-000 | Сальник корпуса водяного насоса №1 - Sealing, Water Pump Case No1 (Sealing, water pump case no.1) | | под заказ | 730 руб. |
| 17 | 17416-99E11-000 | (актуальный код замены) Сальник корпуса водяного насоса №1 - Sealing, Water Pump Case No.1 | | 10 шт | 900 руб. |
| 17 | SK17416-99E10 | (не оригинальный аналог) Прокладка корпуса помпы Skipper для Suzuki Модели техники: DF40A-DF90A | | 0 шт | 339 руб. |
| 18 | 17400-87L01-000 | Ремкомплект водяного насоса - Kit, Water Pump Repair (OPT # ) (Kit, water pump repair) | | под заказ | 0 руб. |
| 18 | 17400-87L04-000 | (актуальный код замены) Ремкомплект водяного насоса - Kit, Water Pump Repair | | 13 шт | 6390 руб. |
Время выполнения запроса 2.3080639839172 сек. |
|