Подобрать оригинальные запчасти на подвесной двигатель SUZUKI DF80AT(H)L/X - Цилиндр трима / Trim cylinder
вконтакте

Контактный телефон: +7 (981) 121-46-93, +7 (800) 200-90-76 , Email: parts-katalog@yandex.ru, где купить

 
 

  Логин:

Пароль:

Регистрация

www.partskatalog.ru Все каталоги Запчасти Mercury Запчасти Suzuki Запчасти Tohatsu Запчасти Honda Контакты



УВАЖАЕМЫЕ КЛИЕНТЫ!
C 19 ДЕКАБРЯ 2025 ПО 02 МАРТА 2026 ГОДА ОТДЕЛ ЗАПЧАСТЕЙ И СЕРВИС РАБОТАТЬ НЕ БУДУТ
ПРОДАЖА ЛОДОЧНЫХ МОТОРОВ В ШТАТНОМ РЕЖИМЕ
ОБ ИЗМЕНЕНИЯХ В ГРАФИКЕ РАБОТЫ ЧИТАЙТЕ НА САЙТА



назад Раздел:   вперёд

Вернуться к выбору узлов мотора


ДЕТАЛИРОВКА ДЛЯ МОДЕЛИ: SUZUKI DF80AT FROM 08002F-210001~ (E03)

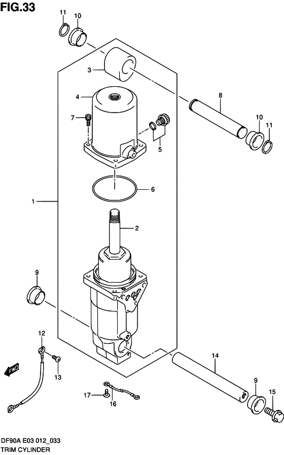
Цилиндр трима


Код модели двигателя: DF80AT(H)L/X

Год выпуска двигателя: 2012

Регион: USA ,Код региона: P03

Цвет: Shadow Black Metallic

Номер на
рисунке
АртикулНаименованиеQTYКол-во
на складе
Цена
148000-87L01-000

Запчасть снята с производства - The Spare Part Is Laid Off (->48000-87L02 36895-87D10 29125-93J10 UP TO VIN.210252 FOR DF70A UP TO VIN.210069 FOR DF80A UP TO VIN.210478 FOR DF90A # )

под заказ0 руб.
148000-87L03-000

Трим в сборе, система наклона двигателя - Trim Assy, Power With Tilt (FROM VIN.210253 FOR DF70A FROM VIN.210070 FOR DF80A FROM VIN.210479 FOR DF90A # ) (Trim assy, power with tilt)

под заказ299040 руб.
148000-87L07-000

   (актуальный код замены) Трим в сборе, система наклона двигателя - Trim Assy, Power With Tilt

под заказ299040 руб.
248400-87L00-000

Коллектор в сборе - Manifold Assy (UP TO VIN.210252 FOR DF70A UP TO VIN.210069 FOR DF80A UP TO VIN.210478 FOR DF90A # )

под заказ85440 руб.
248400-87L03-000

   (актуальный код замены) Коллектор в сборе - Manifold Assy

под заказ85440 руб.
248400-87L02-000

Коллектор в сборе - Manifold Assy (Коллектор)

под заказ85440 руб.
248400-87L03-000

   (актуальный код замены) Коллектор в сборе - Manifold Assy

под заказ85440 руб.
348611-87L00-000

Металлический соединитель - Joint, Metal (Joint, metal)

под заказ18530 руб.
448571-87L00-000

Бак резервуара - Tank, Reservoir (Tank, reservoir)

под заказ18150 руб.
448571-87L01-000

   (актуальный код замены) Бак резервуара - Tank, Reservoir

под заказ18150 руб.
548572-87L00-000

Заглушка - Plug (Plug)

под заказ1880 руб.
648557-90J00-000

Уплотнительное кольцо - O Ring (O ring)

4 шт2010 руб.
748862-87J20-000

Болт резервуара - Bolt, Reservoir (Bolt, reservoir)

2 шт1350 руб.
848321-90J00-000

Вал наклона Цилиндр вышеr - Shaft, Tilt Cylinder Upr (Shaft, tilt cyl upper # ) (Вал гидроподъемника)

под заказ4520 руб.
948325-87L00-000

Втулка снизу цилиндра наклона - Bush, Tilt Cyl Lower (Bush, tilt cyl lower)

12 шт390 руб.
1048325-87L00-000

Втулка снизу цилиндра наклона - Bush, Tilt Cyl Lower (Bush, tilt cyl lower)

12 шт390 руб.
1109380-22015-000

Стопорное кольцо - Circlip (Circlip)

под заказ290 руб.
1236894-87D00-000

Lead (l: 165) - Lead (l:165) (Провод)

2 шт1350 руб.
1309125-06063-000

Винт (6x10) - Screw (6x10) (Винт 6X10 (SUS))

6 шт190 руб.
1448121-90J00-000

Вал наклона Цилиндр Lwr - Shaft, Tilt Cylinder Lwr (Shaft, tilt cyl lower # ) (Вал гидроподъемника)

под заказ7060 руб.
1509116-10174-000

Болт (10x35) - Bolt (10x35)

под заказ1000 руб.
1509116-10179-000

   (актуальный код замены) Болт (10x35) - Bolt (10x35)

под заказ1000 руб.
1509116-10179-000

Болт (10x35) - Bolt (10x35) (Bolt (10x35))

под заказ1000 руб.
1636895-87D10-000

Lead (l: 310) - Lead (l:310) (Lead (swivel to hsg) # FROM VIN.210253 FOR DF70A FROM VIN.210070 FOR DF80A FROM VIN.210479 FOR DF90A # ) (Провод)

2 шт1300 руб.
1709125-05050-000

Винт (5x8) - Screw (5x8) (FROM VIN.210253 FOR DF70A FROM VIN.210070 FOR DF80A FROM VIN.210479 FOR DF90A # ) (Винт 5X8)

под заказ150 руб.


Время выполнения запроса 0.72503185272217 сек.

 
 

данный сайт носит информационный характер и не является публичной офертой

склад запчастей для водомоторной техники