| |
 |
|
 |
Вернуться к выбору узлов мотора
ДЕТАЛИРОВКА ДЛЯ МОДЕЛИ: SUZUKI DF80AT FROM 08002F-510001~ (E01,E40)
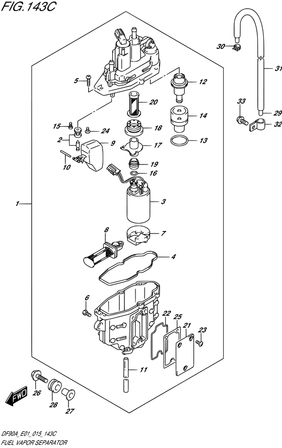
Отделитель паров топлива
Код модели двигателя: DF80AT(H)L/X
Год выпуска двигателя: 2015
Регион: General Export No.1/Costa Rica ,Код региона: P01/P40
Цвет: Shadow Black Metallic
Номер на рисунке | Артикул | Наименование | QTY | Кол-во на складе | Цена |
| 1 | 15600-92J01-000 | Сепаратор-отделитель паров топлива, в сборе - Separator Assy, Fuel Vapor | | под заказ | 89280 руб. |
| 1 | 15600-92J40-000 | (актуальный код замены) Сепаратор-отделитель паров топлива, в сборе - Separator Assy, Fuel Vapor | | под заказ | 89280 руб. |
| 2 | 13370-88L00-000 | Игольчатый клапан, в сборе - Valve Assy, Needle (Valve assy, needle) | | под заказ | 4900 руб. |
| 3 | 15200-92J00-000 | Топливный насос, в сборе - Pump Assy, Fuel (Pump assy, fuel) | | 1 шт | 52190 руб. |
| 3 | 15200-92J30-000 | (актуальный код замены) Топливный насос (высокого давления), в сборе - Pump Assy, Fuel (h) | | 5 шт | 52190 руб. |
| 4 | 15626-92J00-000 | Сальник - Seal (Валик) | | под заказ | 1280 руб. |
| 4 | 15626-92J01-000 | (актуальный код замены) Сальник - Seal | | 1 шт | 1450 руб. |
| 5 | 15628-99E00-000 | Винт (l: 15) - Screw (l:15) (Screw (l:15)) | | под заказ | 240 руб. |
| 6 | 15629-99E10-000 | Винт дренажный - Screw, Drain (Винт дренажный) | | под заказ | 550 руб. |
| 7 | 15641-88L00-000 | Проставка - Spacer (Кольцо/шайба) | | под заказ | 2340 руб. |
| 8 | 15642-88L00-000 | Фильтр в сборе - Filter Assy (Filter assy) | | 19 шт | 2390 руб. |
| 8 | SK-G-0070YT | (не оригинальный аналог) Фильтр топливного сепаратора Skipper для Yamaha F150-F350 | | 0 шт | 699 руб. |
| 9 | 15650-99E00-000 | Поплавок - Float (Поплавок) | | под заказ | 6870 руб. |
| 10 | 15654-88L00-000 | Штифт - Pin (Pin) | | под заказ | 240 руб. |
| 11 | 15683-87J00-000 | Шланг - Hose (Hose, drain # ) (Hose) | | под заказ | 330 руб. |
| 12 | 15760-88L00-000 | Регулятор в сборе - Regulator Assy (Regulator assy) | | под заказ | 18000 руб. |
| 13 | 15644-88L00-000 | Уплотнительное кольцо - O Ring (O ring) | | под заказ | 430 руб. |
| 14 | 15645-88L00-000 | Держатель регулятора - Holder, Regulator (Holder, regulator) | | под заказ | 530 руб. |
| 15 | 02112-0408A-000 | Винт - Screw (Болт) | | под заказ | 90 руб. |
| 16 | 15648-92J00-000 | Кольцо - Ring (Ring) | | под заказ | 850 руб. |
| 17 | 15643-88L00-000 | Соединитель - Joint (Joint) | | под заказ | 520 руб. |
| 17 | 15643-88L10-000 | (актуальный код замены) Соединитель - Joint | | под заказ | 520 руб. |
| 18 | 15641-88L20-000 | Втулка - Bush | | под заказ | 4710 руб. |
| 18 | 15641-88L31-000 | (актуальный код замены) Втулка - Bush | | под заказ | 4710 руб. |
| 19 | 15641-88L40-000 | Втулка - Bush | | под заказ | 4710 руб. |
| 19 | 15641-88L51-000 | (актуальный код замены) Втулка - Bush | | под заказ | 4710 руб. |
| 20 | 15642-88L10-000 | Фильтр - Filter (Filter) | | 16 шт | 1900 руб. |
| 21 | 15612-88L00-000 | Крышка пароотделителя - Cover, Vapor Separator (Cover, vapor separator) | | под заказ | 1270 руб. |
| 22 | 15613-88L00-000 | Уплотнительное кольцо - O Ring (O ring) | | 2 шт | 470 руб. |
| 23 | 15614-88L00-000 | Винт - Screw (Болт) | | под заказ | 430 руб. |
| 24 | 02142-0408B-000 | Винт - Screw (Винт) | | под заказ | 130 руб. |
| 25 | 15613-92J00-000 | Прокладка - Gasket (Прокладка) | | 1 шт | 1660 руб. |
| 26 | 09116-06202-000 | Болт (6x25) - Bolt (6x25) (Bolt (w/washer) # ) (Болт (шайба)) | | под заказ | 250 руб. |
| 27 | 09169-06090-000 | Шайба - Washer (Шайба) | | под заказ | 240 руб. |
| 28 | 09320-09053-000 | Подушка - Cushion (Cushion) | | под заказ | 300 руб. |
| 28 | 09320-09060-000 | (актуальный код замены) Подушка - Cushion | | под заказ | 300 руб. |
| 29 | 09352-50823-600 | Шланг (5x8.2x600) - Hose (5x82x600) (Hose, evapotation (5.0x8.2x600) # L:600->490 # ) (Hose (5x8.2x600)) | | под заказ | 640 руб. |
| 29 | 09352-50005-600 | (актуальный код замены) Шланг (5x8.2x600) - Hose (5x8.2x600) | | под заказ | 640 руб. |
| 30 | 09401-08412-000 | Зажим - Clip (Clip) | | под заказ | 190 руб. |
| 31 | 18498-87JC0-000 | Защита шланга (9.5x11.5x450) - Protector, Hose (95x115x450) (Protector, evap hose (9.5x11.5x450) # L:450->390 # ) (Протектор) | | 1 шт | 650 руб. |
| 31 | 18498-87JC1-000 | (актуальный код замены) Защита шланга (9.5x11.5x450) - Protector, Hose (9.5x11.5x450) | | под заказ | 650 руб. |
| 32 | 09403-12320-000 | Струбцина - Clamp (Clamp) | | под заказ | 350 руб. |
| 33 | 01550-06127-000 | Болт - Bolt (Bolt, rect # ) (Bolt) | | 10 шт | 180 руб. |
Время выполнения запроса 0.94380688667297 сек. |
|