| |
 |
|
 |
Вернуться к выбору узлов мотора
ДЕТАЛИРОВКА ДЛЯ МОДЕЛИ: SUZUKI DF80ATLK10(E1) K10
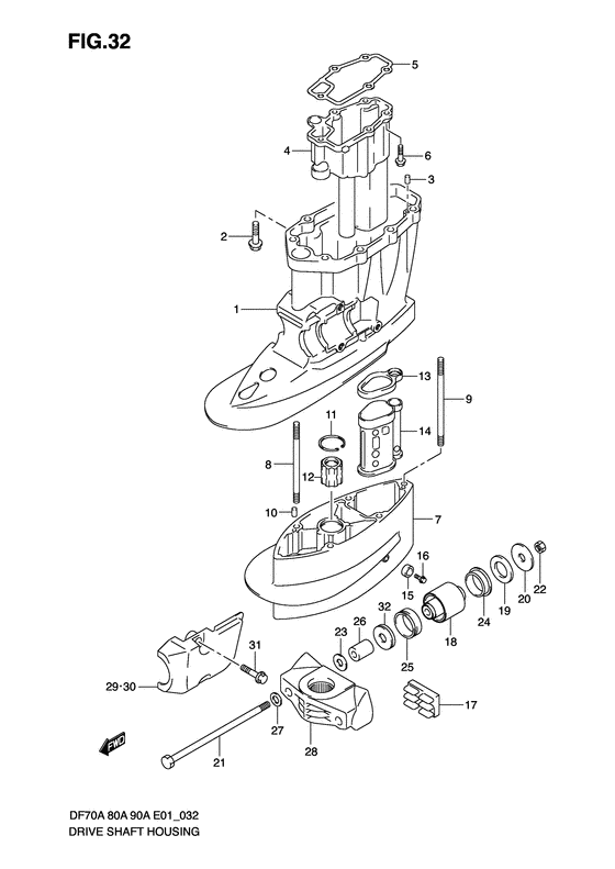
Корпус вала передачи
Код модели двигателя: DF80AT(H)L/X; DF80AWT(H)L/X
Год выпуска двигателя: 2010
Регион: General Export No.1 ,Код региона: P01
Цвет: Shadow Black Metallic
Номер на рисунке | Артикул | Наименование | QTY | Кол-во на складе | Цена |
| 1 | 52111-87L00-0EP | Корпус вала передачи - Housing, Drive Shaft (Housing, drive shaft) | | 2 шт | 99840 руб. |
| 2 | 09116-10139-000 | Болт (10x44) - Bolt (10x44) (Bolt (10x44); # ) | | под заказ | 610 руб. |
| 2 | 09116-10176-000 | (актуальный код замены) Болт (10x44) - Bolt (10x44) | | 4 шт | 760 руб. |
| 2 | 09116-10176-000 | Болт (10x44) - Bolt (10x44) (Bolt, 10x44) | | 4 шт | 760 руб. |
| 3 | 09202-08006-000 | Штифт (8x12) - Pin (8x12) (Pin, knock # Pin, knock; # ) (Pin) | | под заказ | 280 руб. |
| 4 | 52311-87L00-000 | Корпус, Выхлоп Трубка - Housing, Exhaust Tube (Df70a:~010753, df80a:~010135, df90a:~011035 # ) (Housing, exhaust tube) | | под заказ | 0 руб. |
| 5 | 52331-87L00-000 | Прокладка, Exh Трубка Корпус - Gasket, Exh Tube Housing (Df70a:~010753, df80a:~010135, df90a:~011035 # ) (Gasket, exh tube housing) | | 2 шт | 1120 руб. |
| 6 | 09116-08122-000 | Болт (8x30) - Bolt (8x30) (Bolt, exh tube housing (8x30); Df70a:~010753, df80a:~010135, df90a:~011035 # ) (Bolt (8x30)) | | 8 шт | 350 руб. |
| 7 | 52131-87L00-0EP | Удлинитель копуса - Case, Extension (Type:x # ) (Корпус удлиняющий) | | под заказ | 80160 руб. |
| 8 | 09108-10115-000 | Болт под шпильку - Bolt, Stud (Bolt, extension case stud no.1 # Type:x # ) (Болт) | | под заказ | 1850 руб. |
| 9 | 09108-10157-000 | Болт под шпильку - Bolt, Stud (Type:x # ) (Болт) | | под заказ | 2740 руб. |
| 10 | 09202-08006-000 | Штифт (8x12) - Pin (8x12) (Pin, knock # Pin, knock; Type:x # ) (Pin) | | под заказ | 280 руб. |
| 11 | 09381-40005-000 | Стопорное кольцо - Circlip (Type:x # ) (Circlip) | | под заказ | 500 руб. |
| 12 | 57130-87E02-000 | Втулка вала передачи - Bush, Drive Shaft (Type:x # ) (Bush, drive shaft) | | под заказ | 5280 руб. |
| 13 | 52333-87L00-000 | Сальник выхлопной трубки Удлинитель - Seal, Exhaust Tube Extension (Type:x, df70a:~010753, df80a:~010135, df90a:~011035 # ) (Seal, exh tube extension) | | 6 шт | 2000 руб. |
| 13 | 52333-87L01-000 | (актуальный код замены) Сальник выхлопной трубки Удлинитель - Seal, Exhaust Tube Extension | | под заказ | 2000 руб. |
| 14 | 52411-87L00-000 | Удлинитель, Выхлоп Трубка - Extension, Exhaust Tube (Type:x, df70a:~010753, df80a:~010135, df90a:~011035 # ) (Extension, exhaust tube) | | под заказ | 17190 руб. |
| 15 | 55321-87J00-000 | Защитный анод - Anode, Protection (Type:x # ) (Протекторная защита) | | 1 шт | 750 руб. |
| 15 | 55321-87J01-000 | (актуальный код замены) Защитный анод - Anode, Protection | | под заказ | 850 руб. |
| 15 | SMO-55321-87J01-000 | (не оригинальный аналог) Защитный анод SMO-55321-87J01-000 (оригинал) | | под заказ | 590 руб. |
| 15 | SMO-55321-87J01-000 | (аналог) Защитный анод SMO-55321-87J01-000 (оригинал) - код 55321-87J01-000 | | под заказ шт | 585 руб. |
| 15 | 55321-87J10-000 | Анод, Magnesium - Anode, Magnesium (Anode (magnesium); Opt, type:x # ) (Анод) | | под заказ | 1490 руб. |
| 15 | 55321-87J11-000 | (актуальный код замены) Анод (магниевый) - Anode (magnesium) | | 27 шт | 1490 руб. |
| 16 | 09103-06281-000 | Болт (6x14) - Bolt (6x14) (Bolt, protection anode # Bolt, anode protection (6x14); Type:x # ) (Bolt) | | 6 шт | 270 руб. |
| 17 | 54151-87L00-000 | Крепление нижнего упора - Mount, Lwr Thrust (Mount, lower thrust) | | под заказ | 570 руб. |
| 17 | 54151-87L01-000 | (актуальный код замены) Крепление нижнего упора - Mount, Lwr Thrust | | под заказ | 570 руб. |
| 18 | 54160-87L00-000 | Крепление, Lwr - Mount, Lwr (Опора нижняя) | | 1 шт | 11510 руб. |
| 19 | 54165-87L00-000 | Демфер обратного стопора, Lwr - Damper, Reverse Stopper, Lwr (Damper, reverse stopper lower) | | под заказ | 1010 руб. |
| 20 | 09160-12120-000 | Шайба (12x48x3) - Washer (12x48x3) (Washer, reverse stopper lwr (12x48x3); # ) (Washer, 12x48x3) | | под заказ | 790 руб. |
| 21 | 54166-95J02-000 | Болт, Lwr Крепление - Bolt, Lwr Mount (Bolt, lower mount) | | под заказ | 3700 руб. |
| 22 | 09159-12014-000 | Гайка - Nut (Nut, lower mount; # ) (Гайка) | | 18 шт | 370 руб. |
| 23 | 09160-12113-000 | Шайба (12.5x30x2.5) - Washer (125x30x25) (Washer, lwr mt (12.5x30x2.5); # ) (Шайба) | | под заказ | 280 руб. |
| 24 | 54167-87L00-000 | Крепление, Lwr Side - Mount, Lwr Side | | под заказ | 730 руб. |
| 24 | 54167-87L01-000 | (актуальный код замены) Крепление, Lwr Side - Mount, Lwr Side | | под заказ | 730 руб. |
| 24 | 54167-87L01-000 | Крепление, Lwr Side - Mount, Lwr Side (Mount, lower side) | | под заказ | 730 руб. |
| 24 | 54167-87L01-000 | Крепление, Lwr Side - Mount, Lwr Side (Df70a:010114~, df80a:010016~, df90a:010139~ # ) (Mount, lower side) | | под заказ | 730 руб. |
| 25 | 54167-87L10-000 | Крепление, дляward Lwr Side - Mount, Forward Lwr Side (Mount, forward lower side) | | 2 шт | 870 руб. |
| 26 | 54173-87L00-000 | Проставка, Lwr Крепление - Spacer, Lwr Mount (Spacer, lower mount) | | под заказ | 2000 руб. |
| 27 | 54114-90J01-000 | Шайба, Mt Болт (12.5x22x3.0) - Washer, Mt Bolt (125x22x30) (Washer, lower mount bolt; # ) (Washer, lwr mt bolt, 12.5x22x3.0) | | под заказ | 1160 руб. |
| 27 | 54114-90J10-000 | (актуальный код замены) Шайба болта верхнего крепежа - Washer, Upper Mount Bolt | | под заказ | 1160 руб. |
| 28 | 54211-90J01-0EP | Кронштейн нижнего крепления - Bracket, Lwr Mount (Кронштейн нижней опоры (чёрный)) | | под заказ | 16800 руб. |
| 29 | 54221-87L00-0EP | Крышка нижней опоры Stbd - Cover, Lower Mount Stbd (Cover, lower mount stbd) | | под заказ | 9890 руб. |
| 30 | 54231-87L00-0EP | Крышка нижней опоры Port - Cover, Lower Mount Port (Cover, lower mount port) | | под заказ | 9890 руб. |
| 31 | 09116-10139-000 | Болт (10x44) - Bolt (10x44) (Bolt, lower mount cover (w/washer) (10x44); # ) | | под заказ | 610 руб. |
| 31 | 09116-10176-000 | (актуальный код замены) Болт (10x44) - Bolt (10x44) | | 4 шт | 760 руб. |
| 31 | 09116-10176-000 | Болт (10x44) - Bolt (10x44) (Bolt, 10x44) | | 4 шт | 760 руб. |
| 32 | 54180-87L00-000 | Демфер переднего стопора - Damper, Forward Stopper (Damper, forward stopper) | | под заказ | 2720 руб. |
Время выполнения запроса 1.768091917038 сек. |
|