| |
 |
|
 |
Вернуться к выбору узлов мотора
ДЕТАЛИРОВКА ДЛЯ МОДЕЛИ: SUZUKI DF80AT(80A) PRD
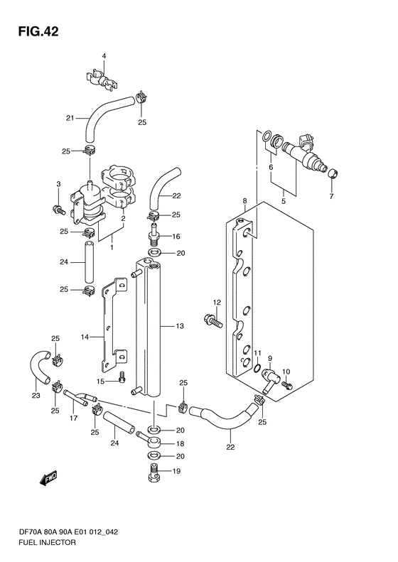
Топливный инжектор
Код модели двигателя: DF80AT(H)L/X; DF80AWT(H)L/X
Год выпуска двигателя: 2011
Регион: General Export No.1 ,Код региона: P01
Цвет: Shadow Black Metallic
Номер на рисунке | Артикул | Наименование | QTY | Кол-во на складе | Цена |
| 1 | 15440-87L10-000 | Топливный фильтр в сборе (hp) - Filter Assy, Fuel (hp) (Filter assy, fuel (hp)) | | под заказ | 6820 руб. |
| 1 | 15440-87L11-000 | (актуальный код замены) Топливный фильтр в сборе (hp) - Filter Assy, Fuel (hp) | | 5 шт | 6820 руб. |
| 2 | 15422-96J00-000 | Струбцина топливного фильтра - Clamp, Fuel Filter (Clamp, filter # Clamp; # ) (Струбцина фильтра) | | под заказ | 730 руб. |
| 2 | 15422-96J01-000 | (актуальный код замены) Струбцина топливного фильтра - Clamp, Fuel Filter | | под заказ | 730 руб. |
| 3 | 01550-06167-000 | Болт - Bolt (Bolt) | | 9 шт | 210 руб. |
| 4 | 09408-00233-000 | Струбцина - Clamp (Clamp) | | под заказ | 250 руб. |
| 5 | 15710-82K50-000 | Топливный инжектор, в сборе - Injector Assy, Fuel (INJECTOR ASSY, FUEL) | | 4 шт | 21780 руб. |
| 6 | 15716-65DT0-000 | Пыльник топливного инжектора - Grommet Set, Fuel Injector (Grommet set, fuel injector; # ) (Набор втулок) | | 12 шт | 1880 руб. |
| 7 | 09320-08062-000 | Подушка - Cushion (Cushion) | | 34 шт | 1010 руб. |
| 8 | 15750-87L10-000 | Трубка подачи - Pipe, Delivery (Pipe, delivery) | | под заказ | 0 руб. |
| 9 | 15830-87L00-000 | Основной топливный соединитель - Joint, Fuel Main (Joint, fuel main) | | под заказ | 2600 руб. |
| 10 | 09103-06281-000 | Болт (6x14) - Bolt (6x14) (Bolt, protection anode # Bolt (6x14); # ) (Bolt) | | 5 шт | 270 руб. |
| 11 | 09280-08012-000 | Уплотнительное кольцо (d: 1.9, Id: 7.8) - O Ring (d:19, Id:78) (O ring (d:1.9 id:7.8) # O ring (d:1.9, id:7.8); # ) (Кольцо D:1.9 ID) | | под заказ | 280 руб. |
| 12 | 01550-08257-000 | Болт - Bolt (Bolt) | | под заказ | 300 руб. |
| 13 | 15770-87L00-000 | Охладитель топлива - Cooler, Fuel (Cooler, fuel) | | под заказ | 12200 руб. |
| 14 | 15775-87L00-000 | Кронштейн охладителя - Bracket, Fuel Cooler (Bracket, fuel cooler) | | под заказ | 0 руб. |
| 15 | 01550-06167-000 | Болт - Bolt (Bolt) | | 9 шт | 210 руб. |
| 16 | 15773-90J00-000 | Соединенине топливного шланга - Union, Fuel Hose (Соединение топливного шланга (H)) | | под заказ | 1420 руб. |
| 17 | 15830-93J00-000 | Трехходовой соединитель топливного шланга - Union, Three Way Fuel Hose (Union, 3 way fuel hose; # ) (Соединение 3-х стороннее) | | под заказ | 1680 руб. |
| 18 | 09363-08004-000 | Соединение - Union (Соединение топливного фильтра) | | под заказ | 1650 руб. |
| 19 | 09360-12008-000 | Соединение - Union (Union; # ) (Болт соединяющий) | | под заказ | 730 руб. |
| 20 | 09168-12013-000 | Прокладка (11.8x22x1.2) - Gasket (118x22x12) (Gasket, union # Gasket (11.8x22x1.2); # ) (Прокладка) | | 10 шт | 260 руб. |
| 21 | 15681-87L30-000 | Топливный шланг (Фильтр To Cooler) - Hose, Fuel (filter To Cooler) (Hose (filter to cooler); # ) (Hose, fuel (filter to cooler)) | | под заказ | 3150 руб. |
| 22 | 15681-87L40-000 | Топливный шланг (Тройник To Dlvy) - Hose, Fuel (3 Way To Dlvy) (Hose (3 way to dlvy); # ) (Hose, fuel (3way to dlvy)) | | под заказ | 3650 руб. |
| 23 | 15682-87L20-000 | Топливный шланг (Тройник To Separator) - Hose, Fuel (3 Way To Separator) (Hose (3 way to separator); # ) (Hose, fuel (3way to separator)) | | под заказ | 2400 руб. |
| 24 | 09343-75001-600 | Шланг (7.5x13.5x600) - Hose (75x135x600) (Hose (7.5x13.5x600); # ) (Hose, 7.5x13.5x600) | | под заказ | 3870 руб. |
| 24 | 09343-75002-600 | (актуальный код замены) Шланг (7.5x13.5x600) - Hose (7.5x13.5x600) | | под заказ | 3870 руб. |
| 25 | 09401-11425-000 | Зажим - Clip (Clip) | | под заказ | 370 руб. |
Время выполнения запроса 1.5571839809418 сек. |
|