Купить оригинальные запчасти на подвесной двигатель Suzuki DF90AT(H)L/X модель 2012 года - Cylinder head
вконтакте

Контактный телефон: +7 (981) 121-46-93, +7 (800) 200-90-76 , Email: parts-katalog@yandex.ru, где купить

 
 

  Логин:

Пароль:

Регистрация

www.partskatalog.ru Все каталоги Запчасти Mercury Запчасти Suzuki Запчасти Tohatsu Запчасти Honda Контакты



УВАЖАЕМЫЕ КЛИЕНТЫ!
C 19 ДЕКАБРЯ 2025 ПО 02 МАРТА 2026 ГОДА ОТДЕЛ ЗАПЧАСТЕЙ И СЕРВИС РАБОТАТЬ НЕ БУДУТ
ПРОДАЖА ЛОДОЧНЫХ МОТОРОВ В ШТАТНОМ РЕЖИМЕ
ОБ ИЗМЕНЕНИЯХ В ГРАФИКЕ РАБОТЫ ЧИТАЙТЕ НА САЙТА



Раздел:   вперёд

Вернуться к выбору узлов мотора


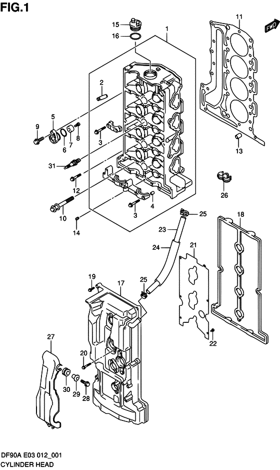
ДЕТАЛИРОВКА ДЛЯ МОДЕЛИ: SUZUKI DF90AT FROM 09003F-210001~ (E03)

Головка блока цилиндра


Код модели двигателя: DF90AT(H)L/X

Год выпуска двигателя: 2012

Регион: USA ,Код региона: P03

Цвет: Shadow Black Metallic

Номер на
рисунке
АртикулНаименованиеQTYКол-во
на складе
Цена
111100-87L01-000

под заказнет сведений
211115-73G01-001

Направляющая клапана - Guide, Valve (Направляющая клапана)

под заказ2750 руб.
309103-06266-000

Болт (6x40) - Bolt (6x40) (Bolt, 6x40 # ) (Bolt)

под заказ170 руб.
409206-08001-000

Штифт (8x11) - Pin (8x11) (Стопор)

9 шт130 руб.
511261-93J00-000

Крышка защитного анода - Cover, Protection Anode (Крышка протектора)

под заказ1600 руб.
609280-22019-000

Уплотнительное кольцо (d: 1.9, Id: 21.8) - O Ring (d:19, Id:218) (Кольцо уплотнительное)

16 шт210 руб.
6SK09280-22019

   (не оригинальный аналог) Кольцо уплотнительное головки блока цилиндров Skipper для Suzuki Модели техники: 4-stroke 8-350HP

0 шт64 руб.
755321-87J00-000

Защитный анод - Anode, Protection (Протекторная защита)

1 шт750 руб.
755321-87J01-000

   (актуальный код замены) Защитный анод - Anode, Protection

под заказ850 руб.
7SMO-55321-87J01-000

   (не оригинальный аналог) Защитный анод SMO-55321-87J01-000 (оригинал)

под заказ590 руб.
7SMO-55321-87J01-000

  (аналог) Защитный анод SMO-55321-87J01-000 (оригинал) - код 55321-87J01-000

 под заказ шт585 руб.
809103-06281-000

Болт (6x14) - Bolt (6x14) (Bolt, protection anode # ) (Bolt)

6 шт270 руб.
901550-08207-000

Болт - Bolt (Bolt)

10 шт240 руб.
1011117-89J00-000

Внутренний болт картера двигателя - Bolt, Crankcase Inside (Bolt, cylinder head # ) (Болт головки цилиндра)

под заказ570 руб.
1111141-87L00-000

Прокладка головки блока цилиндра - Gasket, Cyl Head (Прокладка головки цилиндра)

5 шт8800 руб.
1201550-08407-000

Болт - Bolt (Болт 8 X 40)

под заказ260 руб.
1304211-13189-000

Штифт - Pin (Pin)

под заказ200 руб.
1411112-84400-000

Заглушка масляной трубки Вентури - Plug, Oil Venturi (Заглушка)

под заказ0 руб.
1511382-99E00-000

Колпачок масляного фильтра - Cap, Oil Filler (Крышка масляного бака)

10 шт1110 руб.
1609280-26006-000

Уплотнительное кольцо (d: 3.1, Id: 26.4) - O Ring (d:31, Id:264) (Кольцо уплотнительное)

2 шт220 руб.
1711170-87L11-000

Крышка головки цилиндра - Cover, Cylinder Head (Cover comp, cylinder head)

под заказ34560 руб.
1811189-87L00-000

Прокладка крышки головки блока цилиндра - Gasket, Cyl Head Cover (Прокладка крышки головки цилиндра)

1 шт3010 руб.
1901547-06257-000

Болт - Bolt (Bolt (6x25))

под заказ160 руб.
2001547-06457-000

Болт - Bolt (Bolt (6x45))

под заказ180 руб.
2111173-87L00-000

Пластина сапуна - Plate, Breather (Плата сапуна)

под заказ840 руб.
2202112-0612A-000

Винт - Screw (Болт)

под заказ120 руб.
2309355-11165-600

Шланг (11x16x600) - Hose (11x16x600) (L:600->260 # ) (Шланг)

под заказ960 руб.
2418498-95J00-000

Защита трубки сапуна - Protector, Breather Hose (Protector, breather hose)

под заказ430 руб.
2418498-95J01-000

   (актуальный код замены) Защита трубки сапуна (l: 120) - Protector, Breather Hose (l:120)

под заказ430 руб.
2509401-15414-000

Зажим - Clip (Зажим шланга)

под заказ170 руб.
2609408-00155-000

Струбцина - Clamp (Хомут)

под заказ260 руб.
2711194-87L10-000

Направляющая топливного шланга - Guard, Fuel Hose (Guard, fuel hose)

1 шт1210 руб.
2801550-06207-000

Болт - Bolt (Bolt (chrome))

17 шт220 руб.
2909169-06062-000

Шайба - Washer (Washer # ) (Кольцо/шайба)

под заказ190 руб.
3009320-09016-000

Подушка - Cushion (Cushion, holder # ) (Cushion)

10 шт190 руб.
3109482-00446-000

Свеча зажигания (ngk Dcpr6e) - Plug, Spark (ngk Dcpr6e) (Свеча зажигания)

101 шт1480 руб.


Время выполнения запроса 0.81493878364563 сек.

 
 

данный сайт носит информационный характер и не является публичной офертой

склад запчастей для водомоторной техники