| |
 |
|
 |
Вернуться к выбору узлов мотора
ДЕТАЛИРОВКА ДЛЯ МОДЕЛИ: SUZUKI DF90AT/DF90ATH FROM 09003F-410001~ (E01,E40)
Двигатель гидроподъёма
Код модели двигателя: DF90AT(H)L/X
Год выпуска двигателя: 2014
Регион: General Export No.1/Costa Rica ,Код региона: P01/P40
Цвет: Shadow Black Metallic
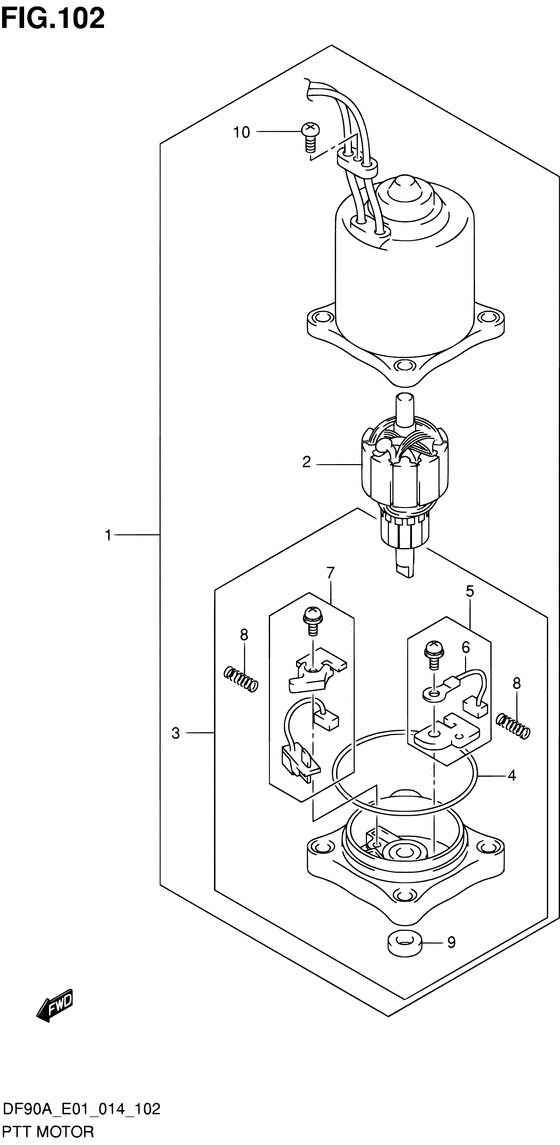
Номер на рисунке | Артикул | Наименование | QTY | Кол-во на складе | Цена |
| 1 | 38100-87L01-000 | Двигатель гидроподъёма лодочного мотора - Motor Assy, Ptt (Motor assy, ptt) | | под заказ | 82560 руб. |
| 1 | 38100-87L03-000 | (актуальный код замены) Двигатель гидроподъёма лодочного мотора - Motor Assy, Ptt | | под заказ | 82560 руб. |
| 2 | 31311-93J00-000 | Якорь - Armature (Отсутствующе) | | под заказ | 50400 руб. |
| 3 | 31173-94910-000 | Держатель щетки - Holder Assy, Brush (Holder assy, brush) | | под заказ | 40080 руб. |
| 3 | 31173-94920-000 | (актуальный код замены) Держатель щетки - Holder Assy, Brush | | под заказ | 40080 руб. |
| 4 | 31123-94910-000 | Уплотнительное кольцо - O Ring (O ring) | | 4 шт | 1450 руб. |
| 5 | 31133-90J00-000 | Щётка в сборе - Brush Assy (Brush assy) | | под заказ | 1440 руб. |
| 5 | 31133-90J20-000 | (актуальный код замены) Щётка в сборе - Brush Assy | | 1 шт | 1750 руб. |
| 6 | 31133-94900-000 | Щётка (+) - Brush (+) (Brush, plus # ) (Brush) | | под заказ | 1440 руб. |
| 6 | 31133-94910-000 | (актуальный код замены) Щётка (+) - Brush (+) | | 10 шт | 1590 руб. |
| 7 | 31136-90J10-000 | Тормоз (прерыватель), в сборе - Breaker Assy (Breaker assy # ) (Вакуумник карбюратора) | | под заказ | 7010 руб. |
| 7 | 31136-90J30-000 | (актуальный код замены) Тормоз (прерыватель), в сборе - Breaker Assy | | 1 шт | 7640 руб. |
| 8 | 31135-94900-000 | Пружина - Spring (Пружина) | | 8 шт | 560 руб. |
| 9 | 33799-97E00-000 | Сальник - Seal, Oil (Oil seal # ) (Сальник) | | 8 шт | 2550 руб. |
| 10 | 31111-94900-000 | Винт - Screw (Винт) | | под заказ | 430 руб. |
Время выполнения запроса 0.79787397384644 сек. |
|