| |
 |
|
 |
Вернуться к выбору узлов мотора
ДЕТАЛИРОВКА ДЛЯ МОДЕЛИ: SUZUKI DF90AT/DF90ATH FROM 09003F-410001~ (E01,E40)
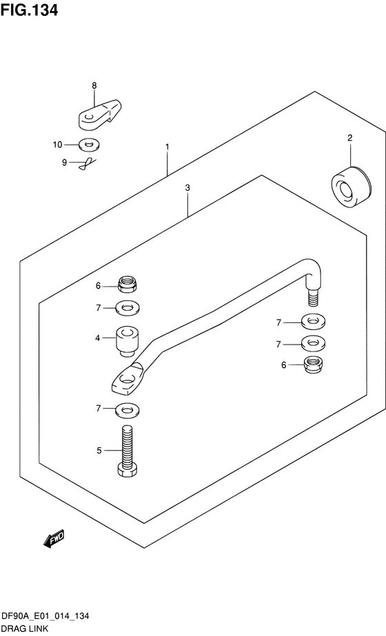
Переключающая тяга
Код модели двигателя: DF90AT(H)L/X
Год выпуска двигателя: 2014
Регион: General Export No.1/Costa Rica ,Код региона: P01/P40
Цвет: Shadow Black Metallic
Номер на рисунке | Артикул | Наименование | QTY | Кол-во на складе | Цена |
| 1 | 67700-87L01-000 | Рулевая тяга - Link Set, Drag (OPT # ) (Link set, drag) | | под заказ | 7880 руб. |
| 2 | 41161-94400-000 | Сальник рулевого кабеля - Seal, Steering Cable (Seal, steering cable # OPT # ) (Уплотение кабеля) | | 15 шт | 1530 руб. |
| 3 | 67701-87L01-000 | Рулевая тяга в сборе - Link Assy, Drag (OPT # ) (Link assy, drag) | | 1 шт | 10550 руб. |
| 4 | 67721-87L00-000 | Проставка переключающей тяги - Spacer, Drag Link (OPT # ) (Spacer, drag link) | | под заказ | 1650 руб. |
| 5 | 67725-99E10-000 | Болт - Bolt (OPT # ) (Bolt) | | под заказ | 1200 руб. |
| 5 | 67725-99E20-000 | (актуальный код замены) Болт переключающей тяги - Bolt, Drag Link | | под заказ | 1200 руб. |
| 6 | 67726-99E00-000 | Блокирующая гайка - Nut, Lock (OPT # ) (Гайка блокирующая) | | 3 шт | 800 руб. |
| 7 | 67728-99E00-000 | Шайба - Washer (OPT # ) (Шайба) | | 2 шт | 260 руб. |
| 8 | 67467-89J01-000 | Коннектор - Connector (Переходник) | | 72 шт | 850 руб. |
| 9 | 09385-06012-000 | Зажим - Clip (Clip) | | 134 шт | 150 руб. |
| 10 | 09160-06055-000 | Шайба (7x12x1) - Washer (7x12x1) (Washer (7x12x1.0) # ) (Шайба) | | 67 шт | 130 руб. |
Время выполнения запроса 0.84659790992737 сек. |
|