Подобрать оригинальные запчасти на подвесной двигатель SUZUKI DF90TL/X модель 2002 года - Thermostat - Термостат
вконтакте

Контактный телефон: +7 (981) 121-46-93, +7 (800) 200-90-76 , Email: parts-katalog@yandex.ru, где купить

 
 

  Логин:

Пароль:

Регистрация

www.partskatalog.ru Все каталоги Запчасти Mercury Запчасти Suzuki Запчасти Tohatsu Запчасти Honda Контакты

назад Раздел:   вперёд

Вернуться к выбору узлов мотора


ДЕТАЛИРОВКА ДЛЯ МОДЕЛИ: SUZUKI DF90TLK2(E1) K2

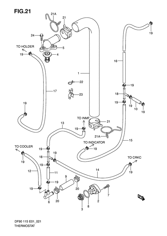
Термостат


Код модели двигателя: DF90TL/X

Год выпуска двигателя: 2002

Регион: General Export No.1 ,Код региона: P01

Цвет: Shadow Black Metallic

Номер на
рисунке
АртикулНаименованиеQTYКол-во
на складе
Цена
111196-90J00-000

Шланг возврата воды - Hose, Water Return (Шланг водный)

под заказ2640 руб.
217611-90J00-0EP

Крышка клапана давления воды - Cover, Water Press Valve (Крышка клапана водной прессуры)

под заказ3480 руб.
217611-90J00-000

   (актуальный код замены) Крышка клапана давления воды - Cover, Water Press Valve

под заказ3480 руб.
317660-90J00-000

Клапан давления воды - Valve, Water Pressure (Клапан водной прессуры)

12 шт2480 руб.
517681-90J01-000

Крышка Comp, Термостат - Cover Comp, Thermostat (Крышка термостата)

под заказ5760 руб.
517681-90J02-000

   (актуальный код замены) Крышка Comp, Термостат - Cover Comp, Thermostat

под заказ5760 руб.
617711-90J00-000

Тройник водяной трубки - 3way, Water Hose (Соединение 3-х стороннее)

5 шт540 руб.
709116-06121-000

Болт (6x25) - Bolt (6x25) (Bolt (6x25) # Bolt (6x25); # ) (Bolt)

19 шт260 руб.
809280-26006-000

Уплотнительное кольцо (d: 3.1, Id: 26.4) - O Ring (d:31, Id:264) (O ring (d:3.1, id:26.4); # ) (Кольцо уплотнительное)

2 шт220 руб.
909352-11153-600

Шланг (11x15x600) - Hose (11x15x600) (Hose (holder to 3 way) # Hose (holder to 3 way); L:600->0 # ) (Шланг (держатель 3-х сторонний))

под заказ960 руб.
909352-11154-600

   (актуальный код замены) Шланг (11x15x600) - Hose (11x15x600)

под заказ960 руб.
1009352-50903-600

Шланг (5x9x600) - Hose (5x9x600) (Hose (inmf cover to 3 way); L:600->0 # ) (Шланг 5X9X600)

под заказ570 руб.
1009352-50006-600

   (актуальный код замены) Шланг (5x9x600) - Hose (5x9x600)

1 шт570 руб.
1109352-50903-600

Шланг (5x9x600) - Hose (5x9x600) (Hose (3 way to 3 way); L:600->0 # ) (Шланг 5X9X600)

под заказ570 руб.
1109352-50006-600

   (актуальный код замены) Шланг (5x9x600) - Hose (5x9x600)

1 шт570 руб.
1209352-50903-600

Шланг (5x9x600) - Hose (5x9x600) (Hose (3 way to cooler); L:600->60 # ) (Шланг 5X9X600)

под заказ570 руб.
1209352-50006-600

   (актуальный код замены) Шланг (5x9x600) - Hose (5x9x600)

1 шт570 руб.
1309352-50903-600

Шланг (5x9x600) - Hose (5x9x600) (Hose (3 way to inmf); L:600->00 # ) (Шланг 5X9X600)

под заказ570 руб.
1309352-50006-600

   (актуальный код замены) Шланг (5x9x600) - Hose (5x9x600)

1 шт570 руб.
1409352-50903-600

Шланг (5x9x600) - Hose (5x9x600) (Hose (3 way to crkc lower); L:600->70 # ) (Шланг 5X9X600)

под заказ570 руб.
1409352-50006-600

   (актуальный код замены) Шланг (5x9x600) - Hose (5x9x600)

1 шт570 руб.
1509352-50903-600

Шланг (5x9x600) - Hose (5x9x600) (Hose (3 way to indicator); L:600->70 # ) (Шланг 5X9X600)

под заказ570 руб.
1509352-50006-600

   (актуальный код замены) Шланг (5x9x600) - Hose (5x9x600)

1 шт570 руб.
1609352-50903-600

Шланг (5x9x600) - Hose (5x9x600) (Hose (crkc upper to 3 way); L:600->50 # ) (Шланг 5X9X600)

под заказ570 руб.
1609352-50006-600

   (актуальный код замены) Шланг (5x9x600) - Hose (5x9x600)

1 шт570 руб.
1709352-50903-00B

Шланг (5x9x2000) - Hose (5x9x2000) (Hose, water (cooler to holder) # Hose, water (cooler to holder); L:2000->90 # ) (Hose)

под заказ1670 руб.
1709352-50006-00B

   (актуальный код замены) Шланг (5x9x2000) - Hose (5x9x2000)

под заказ1670 руб.
1809367-06002-000

Соединитель тройника - Joint, 3 Way (3 way # 3 way, water hose; # ) (Соединение 3-х стороннее)

под заказ220 руб.
1909401-08413-000

Зажим - Clip (Clip)

под заказ190 руб.
2009401-14409-000

Зажим - Clip (Clip)

под заказ190 руб.
2109401-31407-000

Зажим - Clip (Model:01, 02, 05~ # ) (Clip)

под заказ470 руб.
2109401-31201-000

Зажим - Clip (Model:03, 04 # ) (Clip)

под заказ600 руб.
2209408-00024-000

Зажим (id: 23) - Clip (id:23) (Clip, ptt sw terminal # Clip; # ) (Шланг топливный)

под заказ120 руб.
2309408-00056-000

Зажим - Clip (Clip; # ) (Clip)

под заказ190 руб.
2309408-00069-000

Зажим - Clip (Clip # Clip; Model:03~ # ) (Clamp (id:16.5, id:8))

под заказ240 руб.
2401550-06257-000

Болт - Bolt (Bolt)

под заказ180 руб.


Время выполнения запроса 1.6778020858765 сек.

 
 

данный сайт носит информационный характер и не является публичной офертой

склад запчастей для водомоторной техники