Купить запчасти на подвесной двигатель Сузуки DF90TL/X модель 2002 года - Опции: Датчик трима
вконтакте

Контактный телефон: +7 (981) 121-46-93, +7 (800) 200-90-76 , Email: parts-katalog@yandex.ru, где купить

 
 

  Логин:

Пароль:

Регистрация

www.partskatalog.ru Все каталоги Запчасти Mercury Запчасти Suzuki Запчасти Tohatsu Запчасти Honda Контакты



УВАЖАЕМЫЕ КЛИЕНТЫ!
C 19 ДЕКАБРЯ 2025 ПО 02 МАРТА 2026 ГОДА ОТДЕЛ ЗАПЧАСТЕЙ И СЕРВИС РАБОТАТЬ НЕ БУДУТ
ПРОДАЖА ЛОДОЧНЫХ МОТОРОВ В ШТАТНОМ РЕЖИМЕ
ОБ ИЗМЕНЕНИЯХ В ГРАФИКЕ РАБОТЫ ЧИТАЙТЕ НА САЙТА



назад Раздел:   вперёд

Вернуться к выбору узлов мотора


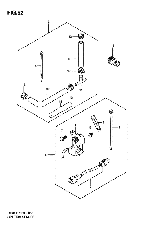
ДЕТАЛИРОВКА ДЛЯ МОДЕЛИ: SUZUKI DF90TL K2

Опции: Датчик трима


Код модели двигателя: DF90TL/X

Год выпуска двигателя: 2002

Цвет: Shadow Black Metallic

Номер на
рисунке
АртикулНаименованиеQTYКол-во
на складе
Цена
134804-99E00-000

Датчик Set, Trim - Sender Set, Trim (MODEL:01 # ) (Датчик тримметра)

под заказ0 руб.
234801-99E01-000

Датчик трима - Sender Assy, Trim

под заказ27360 руб.
234801-99E05-000

   (актуальный код замены) Датчик трима - Sender Assy, Trim

3 шт29540 руб.
234801-99E04-000

Датчик трима - Sender Assy, Trim (Sender assy, trim)

под заказ27360 руб.
234801-99E05-000

   (актуальный код замены) Датчик трима - Sender Assy, Trim

3 шт29540 руб.
336682-90J00-000

Провод, Измеритель трима (l: 6460) - Wire, Trim Meter (l:6460) (Проводка)

под заказ6820 руб.
409100-06113-000

Болт (6x16) - Bolt (6x16) (Болт)

под заказ140 руб.
509125-06063-000

Винт (6x10) - Screw (6x10) (Винт 6X10 (SUS))

6 шт190 руб.
609404-06432-000

Струбцина (l: 65) - Clamp (l:65) (Clamp (l:80) # ) (Clamp (l:80))

8 шт170 руб.
609404-06039-000

   (актуальный код замены) Струбцина (l: 65) - Clamp (l:65)

под заказ170 руб.
709407-14403-000

Струбцина (l: 125) - Clamp (l:125) (Clamp, spark plug cap # ) (Clamp)

под заказ170 руб.
709407-14407-000

Струбцина (l: 145) - Clamp (l:145) (Band # ) (Clamp (l:145))

9 шт230 руб.
834660-90J02-000

Измеритель давления воды, установочный комплект Sub - Kit, Water Press Gauge Sub (Kit, water press gauge sub)

под заказ1270 руб.
834660-90J04-000

   (актуальный код замены) Измеритель давления воды, установочный комплект Sub - Kit, Water Press Gauge Sub

под заказ1270 руб.
909352-50903-600

Шланг (5x9x600) - Hose (5x9x600) (L:600->160 # ) (Шланг 5X9X600)

под заказ570 руб.
909352-50006-600

   (актуальный код замены) Шланг (5x9x600) - Hose (5x9x600)

1 шт570 руб.
1009352-50903-600

Шланг (5x9x600) - Hose (5x9x600) (L:600->210 # ) (Шланг 5X9X600)

под заказ570 руб.
1009352-50006-600

   (актуальный код замены) Шланг (5x9x600) - Hose (5x9x600)

1 шт570 руб.
1109367-06006-000

Тройник - 3 Way (Направляющая трубки)

под заказ300 руб.
1209401-08413-000

Зажим - Clip (Clip)

под заказ190 руб.
1318498-99EA0-000

Защита (l: 80) - Protector (l:80) (NOT FOR DF90/100/115 # ) (Protecto (l:80))

под заказ210 руб.
1318498-99EA1-000

   (актуальный код замены) Защита (9.5x11.5x80) - Protector (9.5x11.5x80)

под заказ210 руб.
1409407-25402-000

Струбцина (l: 250) - Clamp (l:250) (Clamp, tilt sw # NOT FOR DF90/100/115 # ) (Clamp)

под заказ350 руб.
1517917-87L00-000

Коннектор для промывки водой - Connector, Flush Water (Connector, flush water)

2 шт870 руб.


Время выполнения запроса 0.91835308074951 сек.

 
 

данный сайт носит информационный характер и не является публичной офертой

склад запчастей для водомоторной техники