Комплектующие на лодочный мотор Suzuki DF90TL/X модель 2006 года - Водяной насос / Water pump
вконтакте

Контактный телефон: +7 (981) 121-46-93, +7 (800) 200-90-76 , Email: parts-katalog@yandex.ru, где купить

 
 

  Логин:

Пароль:

Регистрация

www.partskatalog.ru Все каталоги Запчасти Mercury Запчасти Suzuki Запчасти Tohatsu Запчасти Honda Контакты



УВАЖАЕМЫЕ КЛИЕНТЫ!
C 19 ДЕКАБРЯ 2025 ПО 02 МАРТА 2026 ГОДА ОТДЕЛ ЗАПЧАСТЕЙ И СЕРВИС РАБОТАТЬ НЕ БУДУТ
ПРОДАЖА ЛОДОЧНЫХ МОТОРОВ В ШТАТНОМ РЕЖИМЕ
ОБ ИЗМЕНЕНИЯХ В ГРАФИКЕ РАБОТЫ ЧИТАЙТЕ НА САЙТА



назад Раздел:   вперёд

Вернуться к выбору узлов мотора


ДЕТАЛИРОВКА ДЛЯ МОДЕЛИ: SUZUKI DF90TL K6

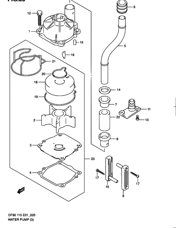
Водяной насос


Код модели двигателя: DF90TL/X

Год выпуска двигателя: 2006

Цвет: Shadow Black Metallic

Номер на
рисунке
АртикулНаименованиеQTYКол-во
на складе
Цена
117410-92J00-000

Корпус водяного насоса - Case, Water Pump (DF100:981305~ DF115T:983179~ DF115Z:980056~ # ) (Корпус водной помпы)

17 шт9030 руб.
117411-92J00-000

(DF100:~981304 DF115T:~983178 DF115Z:~980055 ->17410-92J00 USED WITH 17416-92J10 # )

2 штнет сведений
117410-92J00-000

Корпус водяного насоса - Case, Water Pump (Корпус водной помпы)

17 шт9030 руб.
117416-92J10-000

Сальник корпуса водяного насоса - Sealing, Water Pump Case (Sealing, water pump case)

под заказ1060 руб.
117416-92J11-000

   (актуальный код замены) Сальник корпуса водяного насоса - Sealing, Water Pump Case

15 шт1290 руб.
1SK17416-92J10

   (не оригинальный аналог) Прокладка корпуса помпы Skipper для Suzuki Модели техники: DF90-140

0 шт344 руб.
217461-90J01-000

Крыльчатка водяного насоса - Impeller, Water Pump (Крыльчатка водной помпы)

20 шт7000 руб.
2SC-WT096

   (не оригинальный аналог) Крыльчатка помпы охлаждения двигателя Suzuki SC-WT096

под заказ1660 руб.
317471-92J00-000

Панель в нижней части корпуса помпы - Panel, Pump Case Under (Panel, pump case under)

6 шт1140 руб.
317471-87E01

   (не оригинальный аналог) Пластина помпы Suzuki 17471-87E01

под заказ790 руб.
317471-92J10-000

Панель в нижней части корпуса помпы - Panel, Pump Case Under (DF115WT # ) (Panel, pump case under)

5 шт3480 руб.
417472-87E10-000

Прокладка панели корпуса помпы - Gasket, Pump Case Panel (Gasket, pump case panel # ) (Прокладка панели)

7 шт690 руб.
4SMO-17472-87E10-000

   (не оригинальный аналог) Прокладка SMO-17472-87E10-000 панели корпуса помпы (без упаковки) - оригинал Suzuki

под заказ460 руб.
4SMO-17472-87E10-000

  (аналог) Прокладка SMO-17472-87E10-000 панели корпуса помпы (без упаковки) - оригинал Suzuki - код 17472-87E10-000

 под заказ шт460 руб.
517561-90J02-000

под заказнет сведений
509161-16008-000

Шайба (15.8x26x1) - Washer (158x26x1) (Шайба)

1 шт170 руб.
517561-90J03-000

Водяная трубка (l) - Tube, Water (l) (Tube, water l)

под заказ3220 руб.
517561-90J12-000

под заказнет сведений
509161-16008-000

Шайба (15.8x26x1) - Washer (158x26x1) (Шайба)

1 шт170 руб.
517561-90J13-000

Водяная трубка (x) - Tube, Water (x) (Tube, water x)

под заказ3800 руб.
617562-90J00-000

Втулка, Водяная трубка вышеr - Bush, Water Tube Upr (Втулка верхней трубы)

под заказ370 руб.
617562-90J01-000

   (актуальный код замены) Втулка, Водяная трубка вышеr - Bush, Water Tube Upr

3 шт370 руб.
717563-87D00-000

Нижняя втулка водяной трубки - Bush, Water Tube, Lower (Bush, water tube lower # ) (Втулка трубы)

под заказ870 руб.
717563-87D01-000

   (актуальный код замены) Нижняя втулка водяной трубки - Bush, Water Tube, Lower

4 шт930 руб.
817564-87D00-000

Втулка корпуса водяной помпы - Bush, Water Pump Case (Bush, water pump case # ) (Втулка водной помпы)

68 шт1270 руб.
917631-90J00-000

Водяной фильтр с левой стороны - Filter, Water Port Side (Filter, water port side # ) (Фильтр водный)

6 шт900 руб.
1017632-90J00-000

Водяной фильтр с правой стороны - Filter, Water Stbd Side (Filter, water stbd side # ) (Фильтр водный)

13 шт890 руб.
1117635-90J00-000

Заглушка подключения водяной трубки - Plug, Sub Water Tube (Заглушка трубки)

3 шт520 руб.
1209116-08131-000

Болт (8x45) - Bolt (8x45) (Bolt (8x45))

20 шт500 руб.
1309125-05046-000

Винт (5x12) - Screw (5x12) (Screw (5x12) # ) (Болт)

под заказ150 руб.
1409161-16008-000

Шайба (15.8x26x1) - Washer (158x26x1) (Шайба)

1 шт170 руб.
1509202-06031-000

Штифт (6x12) - Pin (6x12) (Pin, knock # ) (Pin)

20 шт220 руб.
1609420-05009-000

Ключ - Key (Ключ)

9 шт760 руб.
16SK09420-05009

   (не оригинальный аналог) Шпонка крыльчатки помпы охлаждения Skipper для Suzuki DF90-300

0 шт167 руб.
1709132-04034-000

Винт (4x18) - Screw (4x18) (Болт)

24 шт170 руб.
1817413-92J01-000

Рукав корпуса водяной помпы - Sleeve, Water Pump Case (Sleeve, water pump case)

под заказ3330 руб.
1817413-92J11-000

Рукав корпуса водяной помпы - Sleeve, Water Pump Case (DF115WT # ) (Sleeve, water pump case)

под заказ10610 руб.
1917416-92J00-000

Сальник корпуса водяного насоса №1 - Sealing, Water Pump Case No1 (DF100:~981304 DF115T:~983178 DF115Z:~980055 # ) (Прокладка помпы NO.1)

25 шт670 руб.
2017417-92J00-000

Сальник корпуса водяного насоса №2 - Sealing, Water Pump Case No2 (DF100:~981304 DF115T:~983178 DF115Z:~980055 # ) (Прокладка помпы NO.2)

8 шт530 руб.
2117416-92J10-000

Сальник корпуса водяного насоса - Sealing, Water Pump Case (DF100:981305~ DF115T:983179~ DF115Z:980056~ # ) (Sealing, water pump case)

под заказ1060 руб.
2117416-92J11-000

   (актуальный код замены) Сальник корпуса водяного насоса - Sealing, Water Pump Case

15 шт1290 руб.
21SK17416-92J10

   (не оригинальный аналог) Прокладка корпуса помпы Skipper для Suzuki Модели техники: DF90-140

0 шт344 руб.
2217612-90J00-000

Прокладка водяной трубки - Spacer, Water Tube (Spacer, water tube (ul) # TYPE:X # ) (Прокладка трубы водной (X))

1 шт540 руб.
2217612-90J01-000

   (актуальный код замены) Прокладка водяной трубки - Spacer, Water Tube

под заказ540 руб.
2317400-92J00-000

Ремкомплект водяного насоса - Kit, Water Pump Repair (OPT # ) (Ремкомплект водного насоса)

8 шт8880 руб.
2317400-92J21-000

Ремкомплект водяного насоса - Kit, Water Pump Repair (OPT DF100:981305~ DF115T:983179~ DF115Z:980056~ # ) (Kit, water pump repair)

под заказ7400 руб.
2317400-92J23-000

   (актуальный код замены) Ремкомплект водяного насоса - Kit, Water Pump Repair

под заказ8490 руб.
23SK17400-92J21

   (не оригинальный аналог) Ремкомплект помпы охлаждения Skipper

0 шт2488 руб.


Время выполнения запроса 1.5801410675049 сек.

 
 

данный сайт носит информационный характер и не является публичной офертой

склад запчастей для водомоторной техники