Подобрать запчасти на подвесной двигатель Suzuki DF90AT(H)L/X - Starting motor
вконтакте

Контактный телефон: +7 (981) 121-46-93, +7 (800) 200-90-76 , Email: parts-katalog@yandex.ru, где купить

 
 

  Логин:

Пароль:

Регистрация

www.partskatalog.ru Все каталоги Запчасти Mercury Запчасти Suzuki Запчасти Tohatsu Запчасти Honda Контакты



УВАЖАЕМЫЕ КЛИЕНТЫ!
C 19 ДЕКАБРЯ 2025 ПО 02 МАРТА 2026 ГОДА ОТДЕЛ ЗАПЧАСТЕЙ И СЕРВИС РАБОТАТЬ НЕ БУДУТ
ПРОДАЖА ЛОДОЧНЫХ МОТОРОВ В ШТАТНОМ РЕЖИМЕ
ОБ ИЗМЕНЕНИЯХ В ГРАФИКЕ РАБОТЫ ЧИТАЙТЕ НА САЙТА



назад Раздел:   вперёд

Вернуться к выбору узлов мотора


ДЕТАЛИРОВКА ДЛЯ МОДЕЛИ: SUZUKI DF90A K9

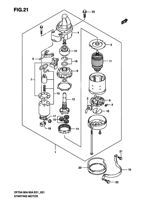
Двигатель электростартера


Код модели двигателя: DF90AT(H)L/X

Год выпуска двигателя: 2009

Цвет: Shadow Black Metallic

Номер на
рисунке
АртикулНаименованиеQTYКол-во
на складе
Цена
131100-96J01-000

Двигатель электростартера в сборе - Motor Assy, Starting

под заказ118080 руб.
131100-96J02-000

   (актуальный код замены) Двигатель электростартера в сборе - Motor Assy, Starting

1 шт118080 руб.
131100-96J02-000

Двигатель электростартера в сборе - Motor Assy, Starting (MOTOR ASSY, STARTING)

1 шт118080 руб.
231131-90J01-000

Набор щёток (+) - Brush Set (+) (Brush set, plus)

2 шт3840 руб.
331135-90J00-000

Пружина - Spring (Пружина)

под заказ710 руб.
431151-94J00-000

Case, Двигатель электростартера Шестерня - Case, Starting Motor Gear

под заказ15320 руб.
431151-94J01-000

   (актуальный код замены) Case, Двигатель электростартера Шестерня - Case, Starting Motor Gear

под заказ15320 руб.
531152-90J00-000

Пластина, Ctr - Plate, Ctr (Пластина center display circuit)

под заказ1890 руб.
631153-90J00-000

Кронштейн, Шестерня - Bracket, Gear (Кронштейн шестерни)

под заказ3340 руб.
731171-96J00-000

Пылезащитная крышка - Cover Kit, Dust (Крышка)

под заказ1530 руб.
831173-90J01-000

Держатель щетки - Holder Assy, Brush

под заказ12440 руб.
831173-90J02-000

   (актуальный код замены) Держатель щетки - Holder Assy, Brush

под заказ12440 руб.
831173-90J02-000

Держатель щетки - Holder Assy, Brush (HOLDER ASSY, BRUSH)

под заказ12440 руб.
931191-96J00-000

Рычаг переключателя - Lever, Shift (Рукоятка переключение)

под заказ1720 руб.
1031220-94J00-000

Переключатель, Магнето - Switch, Magneto (Замок зажигания)

2 шт23570 руб.
1131310-90J00-000

Якорь - Armature (Отсутствующе)

под заказ52320 руб.
1231320-93J00-000

Шестерня - Pinion (Pinion)

под заказ25440 руб.
1331341-93J00-000

Вал шестерни - Shaft, Pinion (Вал шестерни)

под заказ12440 руб.
1431343-90J00-000

Внутреняя шестерня - Internal Gear (Шестерня внутренняя)

под заказ7060 руб.
1531344-90J00-000

Планетарные шестерни - Gear, Planetary (Gear, planetry # ) (Шестерня)

1 шт3100 руб.
1631360-93J01-000

Установочная шайба, Стопор - Washer Set, Stopper (Washer set, stopper)

под заказ1260 руб.
1731913-93J00-000

Клемма - Terminal (Контакт)

под заказ2020 руб.
1831914-93J00-000

Колпачок клеммы - Cap, Terminal (Крышка)

под заказ480 руб.
1931912-87L00-000

Крепежная скоба двигателя электростартера - Band, Starter Motor (Band, starter motor)

под заказ1260 руб.
2031918-87L00-000

Демпфер, Lwr - Damper, Lwr (Damper, lower)

под заказ930 руб.
2031918-87L01-000

   (актуальный код замены) Демпфер, Lwr - Damper, Lwr

под заказ930 руб.
2101550-06167-000

Болт - Bolt (Bolt)

9 шт210 руб.
2201550-08207-000

Болт - Bolt (Bolt)

10 шт240 руб.
2301550-08357-000

Болт - Bolt (Bolt)

под заказ260 руб.


Время выполнения запроса 0.9340968132019 сек.

 
 

данный сайт носит информационный характер и не является публичной офертой

склад запчастей для водомоторной техники