Подобрать оригинальные запчасти на подвесной двигатель Suzuki модель 2010 года - Корпус вала передачи
вконтакте

Контактный телефон: +7 (981) 121-46-93, +7 (800) 200-90-76 , Email: parts-katalog@yandex.ru, где купить

 
 

  Логин:

Пароль:

Регистрация

www.partskatalog.ru Все каталоги Запчасти Mercury Запчасти Suzuki Запчасти Tohatsu Запчасти Honda Контакты



УВАЖАЕМЫЕ КЛИЕНТЫ!
C 19 ДЕКАБРЯ 2025 ПО 02 МАРТА 2026 ГОДА ОТДЕЛ ЗАПЧАСТЕЙ И СЕРВИС РАБОТАТЬ НЕ БУДУТ
ПРОДАЖА ЛОДОЧНЫХ МОТОРОВ В ШТАТНОМ РЕЖИМЕ
ОБ ИЗМЕНЕНИЯХ В ГРАФИКЕ РАБОТЫ ЧИТАЙТЕ НА САЙТА



назад Раздел:   вперёд

Вернуться к выбору узлов мотора


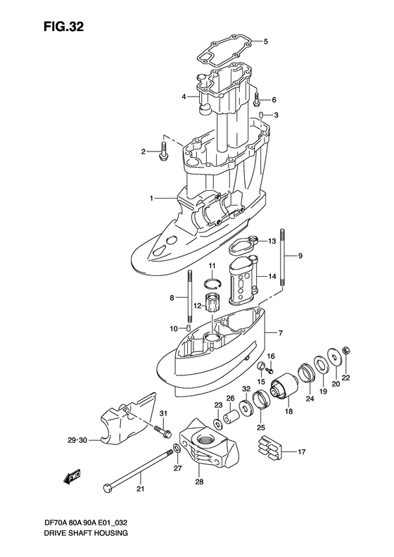
ДЕТАЛИРОВКА ДЛЯ МОДЕЛИ: SUZUKI DF90AWT(E1) PRD

Корпус вала передачи


Год выпуска двигателя: 2010

Номер на
рисунке
АртикулНаименованиеQTYКол-во
на складе
Цена
152111-87L00-0EP

Корпус вала передачи - Housing, Drive Shaft (Housing, drive shaft)

2 шт99840 руб.
209116-10139-000

Болт (10x44) - Bolt (10x44) (Bolt (10x44); # )

под заказ610 руб.
209116-10176-000

   (актуальный код замены) Болт (10x44) - Bolt (10x44)

4 шт760 руб.
209116-10176-000

Болт (10x44) - Bolt (10x44) (Bolt, 10x44)

4 шт760 руб.
309202-08006-000

Штифт (8x12) - Pin (8x12) (Pin, knock # Pin, knock; # ) (Pin)

под заказ280 руб.
452311-87L00-000

Корпус, Выхлоп Трубка - Housing, Exhaust Tube (Df70a:~010753, df80a:~010135, df90a:~011035 # ) (Housing, exhaust tube)

под заказ0 руб.
552331-87L00-000

Прокладка, Exh Трубка Корпус - Gasket, Exh Tube Housing (Df70a:~010753, df80a:~010135, df90a:~011035 # ) (Gasket, exh tube housing)

2 шт1120 руб.
609116-08122-000

Болт (8x30) - Bolt (8x30) (Bolt, exh tube housing (8x30); Df70a:~010753, df80a:~010135, df90a:~011035 # ) (Bolt (8x30))

8 шт350 руб.
752131-87L00-0EP

Удлинитель копуса - Case, Extension (Type:x # ) (Корпус удлиняющий)

под заказ80160 руб.
809108-10115-000

Болт под шпильку - Bolt, Stud (Bolt, extension case stud no.1 # Type:x # ) (Болт)

под заказ1850 руб.
909108-10157-000

Болт под шпильку - Bolt, Stud (Type:x # ) (Болт)

под заказ2740 руб.
1009202-08006-000

Штифт (8x12) - Pin (8x12) (Pin, knock # Pin, knock; Type:x # ) (Pin)

под заказ280 руб.
1109381-40005-000

Стопорное кольцо - Circlip (Type:x # ) (Circlip)

под заказ500 руб.
1257130-87E02-000

Втулка вала передачи - Bush, Drive Shaft (Type:x # ) (Bush, drive shaft)

под заказ5280 руб.
1352333-87L00-000

Сальник выхлопной трубки Удлинитель - Seal, Exhaust Tube Extension (Type:x, df70a:~010753, df80a:~010135, df90a:~011035 # ) (Seal, exh tube extension)

6 шт2000 руб.
1352333-87L01-000

   (актуальный код замены) Сальник выхлопной трубки Удлинитель - Seal, Exhaust Tube Extension

под заказ2000 руб.
1452411-87L00-000

Удлинитель, Выхлоп Трубка - Extension, Exhaust Tube (Type:x, df70a:~010753, df80a:~010135, df90a:~011035 # ) (Extension, exhaust tube)

под заказ17190 руб.
1555321-87J00-000

Защитный анод - Anode, Protection (Type:x # ) (Протекторная защита)

1 шт750 руб.
1555321-87J01-000

   (актуальный код замены) Защитный анод - Anode, Protection

под заказ850 руб.
15SMO-55321-87J01-000

   (не оригинальный аналог) Защитный анод SMO-55321-87J01-000 (оригинал)

под заказ590 руб.
15SMO-55321-87J01-000

  (аналог) Защитный анод SMO-55321-87J01-000 (оригинал) - код 55321-87J01-000

 под заказ шт585 руб.
1555321-87J10-000

Анод, Magnesium - Anode, Magnesium (Anode (magnesium); Opt, type:x # ) (Анод)

под заказ1490 руб.
1555321-87J11-000

   (актуальный код замены) Анод (магниевый) - Anode (magnesium)

27 шт1490 руб.
1609103-06281-000

Болт (6x14) - Bolt (6x14) (Bolt, protection anode # Bolt, anode protection (6x14); Type:x # ) (Bolt)

6 шт270 руб.
1754151-87L00-000

Крепление нижнего упора - Mount, Lwr Thrust (Mount, lower thrust)

под заказ570 руб.
1754151-87L01-000

   (актуальный код замены) Крепление нижнего упора - Mount, Lwr Thrust

под заказ570 руб.
1854160-87L00-000

Крепление, Lwr - Mount, Lwr (Опора нижняя)

1 шт11510 руб.
1954165-87L00-000

Демфер обратного стопора, Lwr - Damper, Reverse Stopper, Lwr (Damper, reverse stopper lower)

под заказ1010 руб.
2009160-12120-000

Шайба (12x48x3) - Washer (12x48x3) (Washer, reverse stopper lwr (12x48x3); # ) (Washer, 12x48x3)

под заказ790 руб.
2154166-95J02-000

Болт, Lwr Крепление - Bolt, Lwr Mount (Bolt, lower mount)

под заказ3700 руб.
2209159-12014-000

Гайка - Nut (Nut, lower mount; # ) (Гайка)

18 шт370 руб.
2309160-12113-000

Шайба (12.5x30x2.5) - Washer (125x30x25) (Washer, lwr mt (12.5x30x2.5); # ) (Шайба)

под заказ280 руб.
2454167-87L00-000

Крепление, Lwr Side - Mount, Lwr Side

под заказ730 руб.
2454167-87L01-000

   (актуальный код замены) Крепление, Lwr Side - Mount, Lwr Side

под заказ730 руб.
2454167-87L01-000

Крепление, Lwr Side - Mount, Lwr Side (Mount, lower side)

под заказ730 руб.
2454167-87L01-000

Крепление, Lwr Side - Mount, Lwr Side (Df70a:010114~, df80a:010016~, df90a:010139~ # ) (Mount, lower side)

под заказ730 руб.
2554167-87L10-000

Крепление, дляward Lwr Side - Mount, Forward Lwr Side (Mount, forward lower side)

2 шт870 руб.
2654173-87L00-000

Проставка, Lwr Крепление - Spacer, Lwr Mount (Spacer, lower mount)

под заказ2000 руб.
2754114-90J01-000

Шайба, Mt Болт (12.5x22x3.0) - Washer, Mt Bolt (125x22x30) (Washer, lower mount bolt; # ) (Washer, lwr mt bolt, 12.5x22x3.0)

под заказ1160 руб.
2754114-90J10-000

   (актуальный код замены) Шайба болта верхнего крепежа - Washer, Upper Mount Bolt

под заказ1160 руб.
2854211-90J01-0EP

Кронштейн нижнего крепления - Bracket, Lwr Mount (Кронштейн нижней опоры (чёрный))

под заказ16800 руб.
2954221-87L00-0EP

Крышка нижней опоры Stbd - Cover, Lower Mount Stbd (Cover, lower mount stbd)

под заказ9890 руб.
3054231-87L00-0EP

Крышка нижней опоры Port - Cover, Lower Mount Port (Cover, lower mount port)

под заказ9890 руб.
3109116-10139-000

Болт (10x44) - Bolt (10x44) (Bolt, lower mount cover (w/washer) (10x44); # )

под заказ610 руб.
3109116-10176-000

   (актуальный код замены) Болт (10x44) - Bolt (10x44)

4 шт760 руб.
3109116-10176-000

Болт (10x44) - Bolt (10x44) (Bolt, 10x44)

4 шт760 руб.
3254180-87L00-000

Демфер переднего стопора - Damper, Forward Stopper (Damper, forward stopper)

под заказ2720 руб.


Время выполнения запроса 2.3301429748535 сек.

 
 

данный сайт носит информационный характер и не является публичной офертой

склад запчастей для водомоторной техники