Найти запчасти на подвесной двигатель SUZUKI модель 2011 года - Топливный инжектор
вконтакте

Контактный телефон: +7 (981) 121-46-93, +7 (800) 200-90-76 , Email: parts-katalog@yandex.ru, где купить

 
 

  Логин:

Пароль:

Регистрация

www.partskatalog.ru Все каталоги Запчасти Mercury Запчасти Suzuki Запчасти Tohatsu Запчасти Honda Контакты



УВАЖАЕМЫЕ КЛИЕНТЫ!
C 19 ДЕКАБРЯ 2025 ПО 02 МАРТА 2026 ГОДА ОТДЕЛ ЗАПЧАСТЕЙ И СЕРВИС РАБОТАТЬ НЕ БУДУТ
ПРОДАЖА ЛОДОЧНЫХ МОТОРОВ В ШТАТНОМ РЕЖИМЕ
ОБ ИЗМЕНЕНИЯХ В ГРАФИКЕ РАБОТЫ ЧИТАЙТЕ НА САЙТА



назад Раздел:   вперёд

Вернуться к выбору узлов мотора


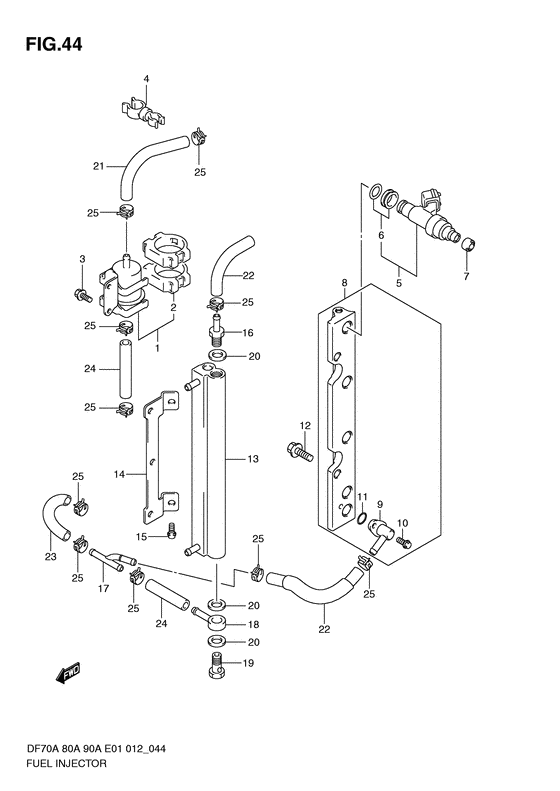
ДЕТАЛИРОВКА ДЛЯ МОДЕЛИ: SUZUKI DF90AT(80A) PRD

Топливный инжектор


Год выпуска двигателя: 2011

Номер на
рисунке
АртикулНаименованиеQTYКол-во
на складе
Цена
115440-87L10-000

Топливный фильтр в сборе (hp) - Filter Assy, Fuel (hp) (Filter assy, fuel (hp))

под заказ6820 руб.
115440-87L11-000

   (актуальный код замены) Топливный фильтр в сборе (hp) - Filter Assy, Fuel (hp)

5 шт6820 руб.
215422-96J00-000

Струбцина топливного фильтра - Clamp, Fuel Filter (Clamp, filter # Clamp; # ) (Струбцина фильтра)

под заказ730 руб.
215422-96J01-000

   (актуальный код замены) Струбцина топливного фильтра - Clamp, Fuel Filter

под заказ730 руб.
301550-06167-000

Болт - Bolt (Bolt)

9 шт210 руб.
409408-00233-000

Струбцина - Clamp (Clamp)

под заказ250 руб.
515710-82K50-000

Топливный инжектор, в сборе - Injector Assy, Fuel (INJECTOR ASSY, FUEL)

4 шт21780 руб.
615716-65DT0-000

Пыльник топливного инжектора - Grommet Set, Fuel Injector (Grommet set, fuel injector; # ) (Набор втулок)

12 шт1880 руб.
709320-08062-000

Подушка - Cushion (Cushion)

34 шт1010 руб.
815750-87L10-000

Трубка подачи - Pipe, Delivery (Pipe, delivery)

под заказ0 руб.
915830-87L00-000

Основной топливный соединитель - Joint, Fuel Main (Joint, fuel main)

под заказ2600 руб.
1009103-06281-000

Болт (6x14) - Bolt (6x14) (Bolt, protection anode # Bolt (6x14); # ) (Bolt)

6 шт270 руб.
1109280-08012-000

Уплотнительное кольцо (d: 1.9, Id: 7.8) - O Ring (d:19, Id:78) (O ring (d:1.9 id:7.8) # O ring (d:1.9, id:7.8); # ) (Кольцо D:1.9 ID)

под заказ280 руб.
1201550-08257-000

Болт - Bolt (Bolt)

под заказ300 руб.
1315770-87L00-000

Охладитель топлива - Cooler, Fuel (Cooler, fuel)

под заказ12200 руб.
1415775-87L00-000

Кронштейн охладителя - Bracket, Fuel Cooler (Bracket, fuel cooler)

под заказ0 руб.
1501550-06167-000

Болт - Bolt (Bolt)

9 шт210 руб.
1615773-90J00-000

Соединенине топливного шланга - Union, Fuel Hose (Соединение топливного шланга (H))

под заказ1420 руб.
1715830-93J00-000

Трехходовой соединитель топливного шланга - Union, Three Way Fuel Hose (Union, 3 way fuel hose; # ) (Соединение 3-х стороннее)

под заказ1680 руб.
1809363-08004-000

Соединение - Union (Соединение топливного фильтра)

под заказ1650 руб.
1909360-12008-000

Соединение - Union (Union; # ) (Болт соединяющий)

под заказ730 руб.
2009168-12013-000

Прокладка (11.8x22x1.2) - Gasket (118x22x12) (Gasket, union # Gasket (11.8x22x1.2); # ) (Прокладка)

10 шт260 руб.
2115681-87L30-000

Топливный шланг (Фильтр To Cooler) - Hose, Fuel (filter To Cooler) (Hose (filter to cooler); # ) (Hose, fuel (filter to cooler))

под заказ3150 руб.
2215681-87L40-000

Топливный шланг (Тройник To Dlvy) - Hose, Fuel (3 Way To Dlvy) (Hose (3 way to dlvy); # ) (Hose, fuel (3way to dlvy))

под заказ3650 руб.
2315682-87L20-000

Топливный шланг (Тройник To Separator) - Hose, Fuel (3 Way To Separator) (Hose (3 way to separator); # ) (Hose, fuel (3way to separator))

под заказ2400 руб.
2409343-75001-600

Шланг (7.5x13.5x600) - Hose (75x135x600) (Hose (7.5x13.5x600); # ) (Hose, 7.5x13.5x600)

под заказ3870 руб.
2409343-75002-600

   (актуальный код замены) Шланг (7.5x13.5x600) - Hose (7.5x13.5x600)

под заказ3870 руб.
2509401-11425-000

Зажим - Clip (Clip)

4 шт370 руб.


Время выполнения запроса 0.82982993125916 сек.

 
 

данный сайт носит информационный характер и не является публичной офертой

склад запчастей для водомоторной техники