 |
|
 |
Вернуться к выбору узлов мотора
ДЕТАЛИРОВКА ДЛЯ МОДЕЛИ: SUZUKI DF100T FROM 10002F-210001~ (E01,E40)
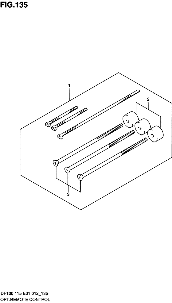
Опции: дистанционное управление
Код модели двигателя: DF100TL/X
Год выпуска двигателя: 2012
Регион: General Export No.1/Costa Rica ,Код региона: P01/P40
Цвет: Shadow Black Metallic
Номер на рисунке | Артикул | Наименование | QTY | Кол-во на складе | Цена |
| 1 | 67140-95600-000 | Двойной комплект навесного оборудования Remocon - Attachment Kit, Twin Remocon (Attachment, twin remocon kit # ) (Фиксация) | | под заказ | 4300 руб. |
| 1 | 67140-95601-000 | (актуальный код замены) Двойной комплект навесного оборудования Remocon - Attachment Kit, Twin Remocon | | под заказ | 4300 руб. |
| 2 | 67294-95600-000 | Проставка - Spacer (Кольцо/шайба) | | под заказ | 460 руб. |
| 3 | 67296-95620-000 | Винт (l: 165) - Screw (l:165) (L:165 # ) | | под заказ | 1180 руб. |
| 3 | 67296-95621-000 | (актуальный код замены) Винт (l: 165) - Screw (l:165) | | под заказ | 1180 руб. |
Время выполнения запроса 0.62633395195007 сек. |