Найти запчасти на подвесной двигатель SUZUKI DF100ATL/X - Картер коробки передач
вконтакте

Контактный телефон: +7 (981) 121-46-93, +7 (800) 200-90-76 , Email: parts-katalog@yandex.ru, где купить

 
 

  Логин:

Пароль:

Регистрация

www.partskatalog.ru Все каталоги Запчасти Mercury Запчасти Suzuki Запчасти Tohatsu Запчасти Honda Контакты



УВАЖАЕМЫЕ КЛИЕНТЫ!
C 19 ДЕКАБРЯ 2025 ПО 02 МАРТА 2026 ГОДА ОТДЕЛ ЗАПЧАСТЕЙ И СЕРВИС РАБОТАТЬ НЕ БУДУТ
ПРОДАЖА ЛОДОЧНЫХ МОТОРОВ В ШТАТНОМ РЕЖИМЕ
ОБ ИЗМЕНЕНИЯХ В ГРАФИКЕ РАБОТЫ ЧИТАЙТЕ НА САЙТА



назад Раздел:   вперёд

Вернуться к выбору узлов мотора


ДЕТАЛИРОВКА ДЛЯ МОДЕЛИ: SUZUKI DF100AT FROM 10003F-310001~ (E01,E40)

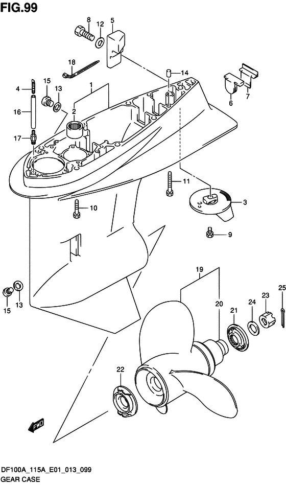
Картер коробки передач


Код модели двигателя: DF100ATL/X

Год выпуска двигателя: 2013

Регион: General Export No.1/Costa Rica ,Код региона: P01/P40

Цвет: Shadow Black Metallic

Номер на
рисунке
АртикулНаименованиеQTYКол-во
на складе
Цена
155110-90J15-0EP

Картер коробки передач - Case, Gear (Case, gear (black))

под заказ198720 руб.
155110-90J16-0EP

   (актуальный код замены) Картер коробки передач - Case, Gear

3 шт198720 руб.
209263-28016-000

Подшипник (28.6x38x31.8) - Bearing (286x38x318) (Bearing, pinion # ) (Подшипник 28.5X38X32)

13 шт8630 руб.
2BH1820ANSK

   (подбор по маркировке) Подшипник NSK BH-1820A(28.575*38.1*31.75 мм)

под заказ0
355125-90J01-000

Пластина трима - Tab, Trim (Киль (черный))

13 шт2400 руб.
455127-87D00-000

Заглушка, Соединение - Plug, Union (Union, speedometer hose # ) (Соединение шланга спидометра)

под заказ380 руб.
555321-90J01-000

Анод, Картер коробки передач - Anode, Gear Case (Анод редуктора)

4 шт960 руб.
655332-87D11-000

Резинка выхлопного сальника - Rubber, Exhaust Seal (выхлопная прокладка резиновая)

под заказ810 руб.
655332-87D12-000

   (актуальный код замены) Резинка выхлопного сальника - Rubber, Exhaust Seal

под заказ810 руб.
755333-87D10-000

Пластина выхлопного сальника - Plate, Exhaust Seal (Plate, exhaust seal # ) (Плата выхода)

под заказ1040 руб.
809100-06131-000

Болт (6x12) - Bolt (6x12) (Болт 6X12)

под заказ160 руб.
909116-08137-000

Болт (8x22) - Bolt (8x22) (Bolt (8x22) # ) (Болт (8X22))

10 шт690 руб.
1009116-10150-000

Болт (10x55) - Bolt (10x55) (Болт 10X55)

9 шт1270 руб.
1109117-10039-000

Болт (10x80) - Bolt (10x80) (Bolt (10x80) # ) (Bolt)

10 шт1040 руб.
1209160-06085-000

Шайба (6.5x15x1) - Washer (65x15x1) (Washer (6.5x15x1.0) # ) (Шайба)

под заказ120 руб.
1309168-10022-000

Прокладка (10x17x1.5) - Gasket (10x17x15) (Прокладка)

2205 шт150 руб.
1409202-08006-000

Штифт (8x12) - Pin (8x12) (Pin, knock # ) (Pin)

под заказ280 руб.
1509248-10008-000

Заглушка (10x7.5) - Plug (10x75) (Заглушка дренажная 10X7)

120 шт500 руб.
1609355-40805-00B

Шланг (4x8x2000) - Hose (4x8x2000) (L:2000->1100 # ) (Hose)

под заказ2090 руб.
1709362-09008-000

Соединение - Union (Золотник)

10 шт300 руб.
1809407-10404-000

Струбцина (l: 100) - Clamp (l:100) (Clamp, battery lead (l:96) # ) (Clamp (l:100))

под заказ190 руб.
1958100-90JA0-019

Гребной винт (3x14x17) - Propeller (3x14x17) (Винт)

1 шт35280 руб.
1958100-90JB0-019

Гребной винт (3x14x19) - Propeller (3x14x19) (Винт)

7 шт41230 руб.
1958100-90JC0-019

Гребной винт (3x14x21) - Propeller (3x14x21) (Винт)

5 шт41890 руб.
1958100-90JD0-019

Гребной винт (3x14x23) - Propeller (3x14x23) (Винт)

4 шт44180 руб.
1958100-90JE0-019

Гребной винт (3x13-1 / 2x15) - Propeller (3x13-1/2x15) (Винт)

под заказ35280 руб.
2058105-90J00-000

Втулка Set, Гребной винт - Bush Set, Propeller (Bush set, propeller)

под заказ14840 руб.
2157633-90J02-000

Проставка гайки гребного винта - Spacer, Propeller Nut (Spacer, propeller nut # ) (Прокладка пропеллера)

2 шт5480 руб.
21SK57633-90J02

   (не оригинальный аналог) Шайба упорная гребного винта Skipper для Suzuki DF40-140

0 шт1523 руб.
2257635-92J01-000

Стопор втулки гребного винта - Stopper, Propeller Bush (Упорная гайка)

2 шт9890 руб.
2309141-18005-000

Гайка - Nut (Гайка 18MM)

19 шт900 руб.
2409160-18028-000

Шайба (18.5x31x1) - Washer (185x31x1) (Шайба)

3 шт280 руб.
24SK09160-18028

   (не оригинальный аналог) Шайба гребного винта Skipper для Suzuki 40-225, DF40-300

0 шт157 руб.
2509204-03003-000

Штифт - Pin (Шпонка)

374 шт220 руб.
2625700-92J00-000

Комплект сальников редуктора - Sealing Kit, Gear Case (OPT NOT ILLUSTRATED # ) (Набор уплотняющий)

48 шт6070 руб.


Время выполнения запроса 1.1823608875275 сек.

 
 

данный сайт носит информационный характер и не является публичной офертой

склад запчастей для водомоторной техники