Купить комплектующие на лодочный мотор Suzuki DF100TL/X модель 2009 года - Переключающая тяга
вконтакте

Контактный телефон: +7 (981) 121-46-93, +7 (800) 200-90-76 , Email: parts-katalog@yandex.ru, где купить

 
 

  Логин:

Пароль:

Регистрация

www.partskatalog.ru Все каталоги Запчасти Mercury Запчасти Suzuki Запчасти Tohatsu Запчасти Honda Контакты

назад Раздел:   вперёд

Вернуться к выбору узлов мотора


ДЕТАЛИРОВКА ДЛЯ МОДЕЛИ: SUZUKI DF100TL K9

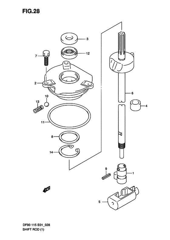
Переключающая тяга


Код модели двигателя: DF100TL/X

Год выпуска двигателя: 2009

Цвет: Shadow Black Metallic

Номер на
рисунке
АртикулНаименованиеQTYКол-во
на складе
Цена
125131-90J01-000

Хомут рычага переключения - Yoke, Shifter (<-25131-90J00 # ) (Хомут)

1 шт6340 руб.
225141-90J03-000

Корпус направляющей переключающей тяги - Housing, Shift Rod Guide (<-25141-90J00 # ) (Корпус направляющей штока передачи)

под заказ8210 руб.
325222-90J00-000

Крышка направляющей корпуса сальника - Cover, Shift Guide Hsg Oil Seal (Cover, oil seal # ) (Крышка сальника)

под заказ190 руб.
325222-90J01-000

   (актуальный код замены) Крышка корпуса сальника направляющей вала - Cover, Sft Guide Hsg Oil Seal

4 шт290 руб.
425232-90J00-000

Индуктор картера коробки передач - Magneto, Gear Case (втулка коробки передач)

2 шт570 руб.
525321-90J00-000

Ползунок, сдвиг по горизонтали - Slider, Shift Horizontal (Слайдер горизонтального смещения)

под заказ12290 руб.
625350-90J01-000

Переключающая тяга Assist (l) - Rod, Shift Assist (l) (<-25350-90J00 # ) (Вал передачи (L))

1 шт14310 руб.
625350-90J11-000

Переключающая тяга Assist (x) - Rod, Shift Assist (x) (Rod, shift assist (ul) # <-25350-90J10 # ) (Вал передачи (UL))

под заказ0 руб.
709117-06031-000

Болт (6x20) - Bolt (6x20) (Bolt (6x20) # ) (Bolt)

под заказ270 руб.
809160-30037-000

Шайба (30x38x1.9) - Washer (30x38x19) (Washer (30x38x1.9) # ) (Шайба, T:1.9)

под заказ340 руб.
909205-04014-000

Стопор пружины (4x14) - Pin, Spring (4x14) (Pin)

15 шт120 руб.
1009260-10005-000

Шарик - Ball (Steel ball # ) (Ball)

4 шт210 руб.
1109280-69001-000

Уплотнительное кольцо (d: 3.1, Id: 68.5) - O Ring (d:31, Id:685) (O ring (d:3.1, id:68.5) # ) (O ring)

24 шт290 руб.
1209283-10011-000

Сальник (10x22x8) - Seal, Oil (10x22x8) (Seal, dust # ) (Уплотнение)

24 шт540 руб.
12SK09283-10011

   (не оригинальный аналог) Сальник вала переключения передач Skipper для Suzuki Модели техники: DF90-300HP

0 шт142 руб.
1309440-07033-000

Пружина - Spring (Пружина кулачка)

под заказ160 руб.
1408331-41386-000

Стопорное кольцо - Circlip

под заказ180 руб.
1408331-4138A-000

   (актуальный код замены) Стопорное кольцо - Circlip

под заказ180 руб.
1408331-4138A-000

Стопорное кольцо - Circlip (Circlip)

под заказ180 руб.


Время выполнения запроса 0.70554399490356 сек.

 
 

данный сайт носит информационный характер и не является публичной офертой

склад запчастей для водомоторной техники