| |
 |
|
 |
Вернуться к выбору узлов мотора
ДЕТАЛИРОВКА ДЛЯ МОДЕЛИ: SUZUKI DF115AT FROM 11503F-310001~ (E01,E40)
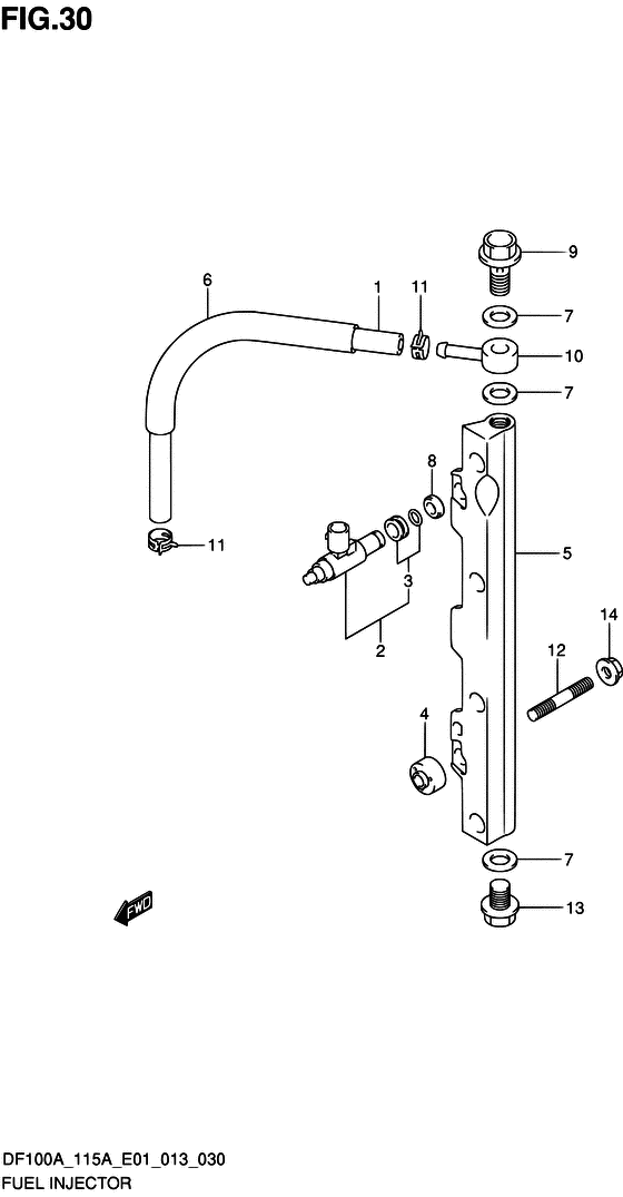
Топливный инжектор
Год выпуска двигателя: 2013
Номер на рисунке | Артикул | Наименование | QTY | Кол-во на складе | Цена |
| 1 | 15681-92J00-000 | Топливный шланг (separator To Dlvy) - Hose, Fuel (separator To Dlvy) (Hose, fuel (separator to dlvy)) | | под заказ | 2000 руб. |
| 1 | 15681-92J01-000 | (актуальный код замены) Топливный шланг (separator To Dlvy) - Hose, Fuel (separator To Dlvy) | | под заказ | 2000 руб. |
| 2 | 15710-82K50-000 | Топливный инжектор, в сборе - Injector Assy, Fuel (INJECTOR ASSY, FUEL) | | 4 шт | 21780 руб. |
| 3 | 15716-65DT0-000 | Пыльник топливного инжектора - Grommet Set, Fuel Injector (Набор втулок) | | 12 шт | 1880 руб. |
| 4 | 15735-58B00-000 | Изолятор подающей трубки - Insulator, Delivery Pipe (Insulator, delivery pipe # ) (Изолятор) | | под заказ | 520 руб. |
| 5 | 15751-92J00-000 | Трубка подачи - Pipe, Delivery (Pipe, delivery) | | под заказ | 12630 руб. |
| 6 | 18498-99E20-000 | Защита топливного шланга (l: 450) - Protector, Fuel Hose (l:450) (L:450->190 # ) (Протектор топливного шланга (L:450)) | | под заказ | 1200 руб. |
| 6 | 18498-99E21-000 | (актуальный код замены) Защита топливного шланга (l: 450) - Protector, Fuel Hose (l:450) | | под заказ | 1200 руб. |
| 7 | 09168-12013-000 | Прокладка (11.8x22x1.2) - Gasket (118x22x12) (Gasket, union # ) (Прокладка) | | 10 шт | 260 руб. |
| 8 | 09320-08062-000 | Подушка - Cushion (Cushion) | | 34 шт | 1010 руб. |
| 9 | 09360-12008-000 | Соединение - Union (Болт соединяющий) | | под заказ | 730 руб. |
| 10 | 09363-08004-000 | Соединение - Union (Соединение топливного фильтра) | | под заказ | 1650 руб. |
| 11 | 09401-11425-000 | Зажим - Clip (Clip) | | под заказ | 370 руб. |
| 12 | 01421-08407-000 | Болт под шпильку - Bolt, Stud (Болт) | | под заказ | 360 руб. |
| 13 | 01550-12167-000 | Болт - Bolt (Bolt, delivery pipe # ) (Bolt) | | под заказ | 290 руб. |
| 14 | 08316-10087-000 | Гайка - Nut (Nut (chrome)) | | 14 шт | 170 руб. |
Время выполнения запроса 0.94218802452087 сек. |
|