| |
 |
|
 |
Вернуться к выбору узлов мотора
ДЕТАЛИРОВКА ДЛЯ МОДЕЛИ: SUZUKI DF115AT FROM 11503F-310001~ (E01,E40)
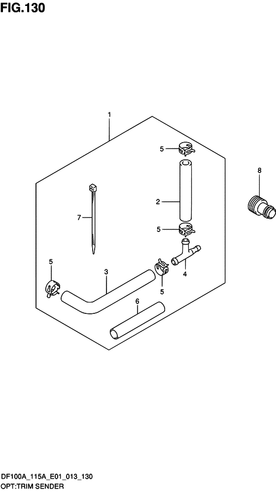
Опции: Датчик трима
Год выпуска двигателя: 2013
Номер на рисунке | Артикул | Наименование | QTY | Кол-во на складе | Цена |
| 1 | 34660-90J02-000 | Измеритель давления воды, установочный комплект Sub - Kit, Water Press Gauge Sub (Kit, water press gauge sub) | | под заказ | 1270 руб. |
| 1 | 34660-90J04-000 | (актуальный код замены) Измеритель давления воды, установочный комплект Sub - Kit, Water Press Gauge Sub | | под заказ | 1270 руб. |
| 2 | 09352-50903-600 | Шланг (5x9x600) - Hose (5x9x600) (L:600->160 # ) (Шланг 5X9X600) | | под заказ | 570 руб. |
| 2 | 09352-50006-600 | (актуальный код замены) Шланг (5x9x600) - Hose (5x9x600) | | 1 шт | 570 руб. |
| 3 | 09352-50903-600 | Шланг (5x9x600) - Hose (5x9x600) (L:600->210 # ) (Шланг 5X9X600) | | под заказ | 570 руб. |
| 3 | 09352-50006-600 | (актуальный код замены) Шланг (5x9x600) - Hose (5x9x600) | | 1 шт | 570 руб. |
| 4 | 09367-06006-000 | Тройник - 3 Way (Направляющая трубки) | | под заказ | 300 руб. |
| 5 | 09401-08413-000 | Зажим - Clip (Clip) | | под заказ | 190 руб. |
| 6 | 18498-99EA0-000 | Защита (l: 80) - Protector (l:80) (Protecto (l:80)) | | под заказ | 210 руб. |
| 6 | 18498-99EA1-000 | (актуальный код замены) Защита (9.5x11.5x80) - Protector (9.5x11.5x80) | | под заказ | 210 руб. |
| 7 | 09407-25402-000 | Струбцина (l: 250) - Clamp (l:250) (Clamp, tilt sw # ) (Clamp) | | под заказ | 350 руб. |
| 8 | 17917-87L00-000 | Коннектор для промывки водой - Connector, Flush Water (Connector, flush water) | | 2 шт | 870 руб. |
Время выполнения запроса 0.61007189750671 сек. |
|