Подобрать запчасти Suzuki DF115TL/X; DF115WTL/X - Водяной насос / Water pump
вконтакте

Контактный телефон: +7 (981) 121-46-93, +7 (800) 200-90-76 , Email: parts-katalog@yandex.ru, где купить

 
 

  Логин:

Пароль:

Регистрация

www.partskatalog.ru Все каталоги Запчасти Mercury Запчасти Suzuki Запчасти Tohatsu Запчасти Honda Контакты



УВАЖАЕМЫЕ КЛИЕНТЫ!
C 19 ДЕКАБРЯ 2025 ПО 02 МАРТА 2026 ГОДА ОТДЕЛ ЗАПЧАСТЕЙ И СЕРВИС РАБОТАТЬ НЕ БУДУТ
ПРОДАЖА ЛОДОЧНЫХ МОТОРОВ В ШТАТНОМ РЕЖИМЕ
ОБ ИЗМЕНЕНИЯХ В ГРАФИКЕ РАБОТЫ ЧИТАЙТЕ НА САЙТА



назад Раздел:   вперёд

Вернуться к выбору узлов мотора


ДЕТАЛИРОВКА ДЛЯ МОДЕЛИ: SUZUKI DF115WTL K3

Водяной насос


Код модели двигателя: DF115TL/X; DF115WTL/X

Год выпуска двигателя: 2003

Цвет: Shadow Black Metallic

Номер на
рисунке
АртикулНаименованиеQTYКол-во
на складе
Цена
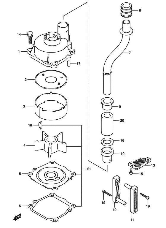
117411-90J20-000

Корпус водяного насоса Set - Water Pump Case Set

под заказ18390 руб.
117400-90821-000

   (актуальный код замены) Корпус водяного насоса Set - Water Pump Case Set

под заказ18390 руб.
117400-90821-000

Корпус водяного насоса Set - Water Pump Case Set (Water pump case set)

под заказ18390 руб.
217412-90J00-000

Панель сверху корпуса помпы - Panel, Pump Case Upr

под заказ2740 руб.
217412-90J01-000

   (актуальный код замены) Панель сверху корпуса помпы - Panel, Pump Case Upr

4 шт2740 руб.
217412-90J01-000

Панель сверху корпуса помпы - Panel, Pump Case Upr (Пластина помпы, верхняя)

4 шт2740 руб.
317413-90J00-000

Гильза, Водяной насос - Sleeve, Water Pump (Sleeve, wataer pump # ) (Втулка водной помпы)

3 шт4280 руб.
417461-90J00-000

Крыльчатка водяного насоса - Impeller, Water Pump

под заказ6340 руб.
417461-90J01-000

   (актуальный код замены) Крыльчатка водяного насоса - Impeller, Water Pump

20 шт7000 руб.
4SK17461-90J00P

   (не оригинальный аналог) Крыльчатка Skipper для Suzuki DF90-175, DF100A-200A Performance

0 шт789 руб.
4SK17461-90J00

   (не оригинальный аналог) Крыльчатка Skipper для Suzuki DF90-175, DF100A-200A Standard

0 шт993 руб.
4SC-WT096

   (не оригинальный аналог) Крыльчатка помпы охлаждения двигателя Suzuki SC-WT096

под заказ1660 руб.
417461-90J01-000

Крыльчатка водяного насоса - Impeller, Water Pump (Крыльчатка водной помпы)

20 шт7000 руб.
517471-87E10-000

Панель в нижней части корпуса помпы - Panel, Pump Case Under

под заказ3480 руб.
517471-92J10-000

   (актуальный код замены) Панель в нижней части корпуса помпы - Panel, Pump Case Under

5 шт3480 руб.
517471-87E01

   (не оригинальный аналог) Пластина помпы Suzuki 17471-87E01

под заказ790 руб.
517471-92J10-000

Панель в нижней части корпуса помпы - Panel, Pump Case Under (Panel, pump case under)

5 шт3480 руб.
617472-87E10-000

Прокладка панели корпуса помпы - Gasket, Pump Case Panel (Gasket, pump case panel # ) (Прокладка панели)

7 шт690 руб.
6SMO-17472-87E10-000

   (не оригинальный аналог) Прокладка SMO-17472-87E10-000 панели корпуса помпы (без упаковки) - оригинал Suzuki

под заказ460 руб.
6SMO-17472-87E10-000

  (аналог) Прокладка SMO-17472-87E10-000 панели корпуса помпы (без упаковки) - оригинал Suzuki - код 17472-87E10-000

 под заказ шт460 руб.
717560-90J01-000

под заказ0 руб.
709161-16008-000

Шайба (15.8x26x1) - Washer (158x26x1) (Шайба)

1 шт170 руб.
717561-90J03-000

Водяная трубка (l) - Tube, Water (l) (Tube, water l)

под заказ3220 руб.
717560-90J11-000

под заказ0 руб.
709161-16008-000

Шайба (15.8x26x1) - Washer (158x26x1) (Шайба)

1 шт170 руб.
717561-90J13-000

Водяная трубка (x) - Tube, Water (x) (Tube, water x)

под заказ3800 руб.
817562-90J00-000

Втулка, Водяная трубка вышеr - Bush, Water Tube Upr (Втулка верхней трубы)

под заказ370 руб.
817562-90J01-000

   (актуальный код замены) Втулка, Водяная трубка вышеr - Bush, Water Tube Upr

3 шт370 руб.
917563-87D00-000

Нижняя втулка водяной трубки - Bush, Water Tube, Lower (Bush, water tube lower # ) (Втулка трубы)

под заказ870 руб.
917563-87D01-000

   (актуальный код замены) Нижняя втулка водяной трубки - Bush, Water Tube, Lower

4 шт930 руб.
1017564-87D00-000

Втулка корпуса водяной помпы - Bush, Water Pump Case (Bush, water pump case # ) (Втулка водной помпы)

68 шт1270 руб.
1117631-90J00-000

Водяной фильтр с левой стороны - Filter, Water Port Side (Filter, water port side # ) (Фильтр водный)

6 шт900 руб.
1217632-90J00-000

Водяной фильтр с правой стороны - Filter, Water Stbd Side (Filter, water stbd side # ) (Фильтр водный)

13 шт890 руб.
1317635-87E00-000

Водяной фильтр Sub - Filter, Water Sub (Фильтр водный)

8 шт620 руб.
1409117-08057-000

Болт (8x25) - Bolt (8x25)

под заказ400 руб.
1409117-08110-000

   (актуальный код замены) Болт (8x25) - Bolt (8x25)

под заказ400 руб.
1409117-08110-000

Болт (8x25) - Bolt (8x25) (Bolt (8x25))

под заказ400 руб.
1509125-05046-000

Винт (5x12) - Screw (5x12) (Screw (5x12) # ) (Болт)

под заказ150 руб.
1609161-16008-000

Шайба (15.8x26x1) - Washer (158x26x1) (Шайба)

1 шт170 руб.
1709202-06031-000

Штифт (6x12) - Pin (6x12) (Pin, knock # ) (Pin)

20 шт220 руб.
1809420-05006-000

Ключ - Key

под заказ760 руб.
1809420-05009-000

   (актуальный код замены) Ключ - Key

9 шт760 руб.
1809420-05009-000

Ключ - Key (Ключ)

9 шт760 руб.
18SK09420-05009

   (не оригинальный аналог) Шпонка крыльчатки помпы охлаждения Skipper для Suzuki DF90-300

0 шт167 руб.
1909132-04034-000

Винт (4x18) - Screw (4x18) (Болт)

24 шт170 руб.
2017612-90J00-000

Прокладка водяной трубки - Spacer, Water Tube (Spacer, water tube (ul) # ) (Прокладка трубы водной (X))

1 шт540 руб.
2017612-90J01-000

   (актуальный код замены) Прокладка водяной трубки - Spacer, Water Tube

под заказ540 руб.
2117400-90J10-000

Ремкомплект водяного насоса - Kit, Water Pump Repair (OPT # )

под заказ6920 руб.
2117400-90J20-000

   (актуальный код замены) Ремкомплект водяного насоса - Kit, Water Pump Repair

12 шт11200 руб.
21SC-WT310

   (не оригинальный аналог) Ремкомплект насоса охлаждения Suzuki SC-WT310

под заказ3860 руб.
2117400-90J20-000

Ремкомплект водяного насоса - Kit, Water Pump Repair (Kit, water pump repair)

12 шт11200 руб.
21SK17400-90J20

   (не оригинальный аналог) Ремкомплект помпы охлаждения Skipper для Suzuki DF115-140

0 шт1579 руб.


Время выполнения запроса 2.18026304245 сек.

 
 

данный сайт носит информационный характер и не является публичной офертой

склад запчастей для водомоторной техники