| |
 |
|
 |
Вернуться к выбору узлов мотора
ДЕТАЛИРОВКА ДЛЯ МОДЕЛИ: SUZUKI DF115TLK4(E1) K4
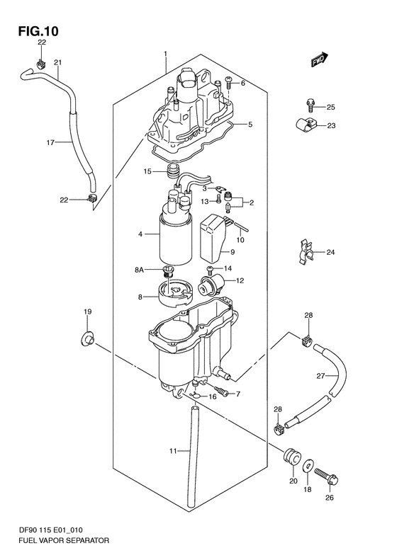
Отделитель паров топлива
Код модели двигателя: DF115TL/X; DF115WTL/X
Год выпуска двигателя: 2004
Регион: General Export No.1 ,Код региона: P01
Цвет: Shadow Black Metallic
Номер на рисунке | Артикул | Наименование | QTY | Кол-во на складе | Цена |
| 1 | 15600-90J10-000 | Сепаратор-отделитель паров топлива, в сборе - Separator Assy, Fuel Vapor (Сепаратор топливного пара) | | под заказ | 118080 руб. |
| 2 | 13370-99E10-000 | Игольчатый клапан, в сборе - Valve Assy, Needle (Valve, needle; # ) (Клапан) | | под заказ | 6530 руб. |
| 3 | 13373-99E10-000 | Пластина, Игольчатый клапан - Plate, Needle Valve (Plate) | | под заказ | 580 руб. |
| 4 | 15200-90J10-000 | Топливный насос, в сборе - Pump Assy, Fuel (Pump, fuel; # ) (Насос топливный) | | 3 шт | 55680 руб. |
| 5 | 15626-90J10-000 | Сальник - Seal (Валик) | | под заказ | 1890 руб. |
| 6 | 15628-99E00-000 | Винт (l: 15) - Screw (l:15) (Screw (l:15); # ) (Screw (l:15)) | | под заказ | 240 руб. |
| 7 | 15629-99E10-000 | Винт дренажный - Screw, Drain (Винт дренажный) | | под заказ | 550 руб. |
| 8 | 15641-90J10-000 | Прокладка топливного насоса - Spacer, Fuel Pump (Spacer, fuel pump; # ) (Прокладка топливного насоса) | | под заказ | 4180 руб. |
| 8 | 15642-90J00-000 | Фильтр - Filter (Filter, fuel pump; # ) (Фильтр топливного насоса) | | 2 шт | 1110 руб. |
| 9 | 15650-99E00-000 | Поплавок - Float (Поплавок) | | под заказ | 6870 руб. |
| 10 | 15654-99E00-000 | Штифт - Pin (Pin) | | под заказ | 240 руб. |
| 11 | 15683-87J00-000 | Шланг - Hose (Hose, drain # L:240->75 # ) (Hose) | | под заказ | 330 руб. |
| 12 | 15760-87J00-000 | Регулятор - Regulator (Регулятор) | | под заказ | 28560 руб. |
| 13 | 13614-89J00-000 | Винт - Screw (Болт) | | под заказ | 240 руб. |
| 14 | 15631-99E10-000 | Винт, Регулятор - Screw, Regulator (Screw, regulator # Screw, regulator; # ) (Болт) | | под заказ | 240 руб. |
| 15 | 15647-93J10-000 | Втулка топливного насоса - Bush, Fuel Pump (Втулка топливного насоса) | | под заказ | 1320 руб. |
| 16 | 13671-13F00-000 | Зажим - Clip (Clip) | | под заказ | 370 руб. |
| 17 | 18498-90J00-000 | Защита шланга вентиляции (290) - Protector, Evap Hose (290) (Protector, evap hose # Protector, evap hose; # ) (Protector) | | под заказ | 410 руб. |
| 17 | 18498-90J01-000 | (актуальный код замены) Защита шланга вентиляции (290) - Protector, Evap Hose (290) | | под заказ | 410 руб. |
| 18 | 09160-06084-000 | Шайба (6.5x18x1.6) - Washer (65x18x16) (Washer (6.5x18x1.6); Model:03~05 # ) (Шайба 6.5X18X1) | | 7 шт | 130 руб. |
| 19 | 09169-06075-000 | Шайба - Washer (Шайба) | | под заказ | 240 руб. |
| 20 | 09320-09039-000 | Подушка - Cushion (Cushion, silencer cover # ) (Валик) | | 8 шт | 320 руб. |
| 20 | 09320-09059-000 | (актуальный код замены) Подушка (9x18x14) - Cushion (9x18x14) | | под заказ | 320 руб. |
| 21 | 09352-50823-600 | Шланг (5x8.2x600) - Hose (5x82x600) (Hose, evapotation (5.0x8.2x600) # Hose, evaporation (5.0x8.2x600); L:600->40 # ) (Hose (5x8.2x600)) | | под заказ | 640 руб. |
| 21 | 09352-50005-600 | (актуальный код замены) Шланг (5x8.2x600) - Hose (5x8.2x600) | | под заказ | 640 руб. |
| 22 | 09401-08412-000 | Зажим - Clip (Clip) | | под заказ | 190 руб. |
| 23 | 09403-13408-000 | Струбцина - Clamp (Clamp) | | под заказ | 490 руб. |
| 23 | 09403-13413-000 | (актуальный код замены) Струбцина - Clamp | | под заказ | 490 руб. |
| 24 | 09408-00124-000 | Зажим - Clip (Clamp) | | под заказ | 290 руб. |
| 25 | 01550-06127-000 | Болт - Bolt (Bolt, rect # ) (Bolt) | | 10 шт | 180 руб. |
| 26 | 01550-06257-000 | Болт - Bolt (Bolt) | | под заказ | 180 руб. |
| 26 | 09116-06202-000 | Болт (6x25) - Bolt (6x25) (Bolt (w/washer) # Bolt (w/washer); Model:06~ # ) (Болт (шайба)) | | под заказ | 250 руб. |
| 27 | 15680-90J01-000 | Топливный шланг - Hose, Fuel (Hose, fuel) | | под заказ | 3700 руб. |
| 28 | 09401-11425-000 | Зажим - Clip (Clip) | | под заказ | 370 руб. |
Время выполнения запроса 4.5917611122131 сек. |
|