Оригинальные запчасти на подвесной двигатель Сузуки DF115TL/X; DF115WTL/X - Основание двигателя
вконтакте

Контактный телефон: +7 (981) 121-46-93, +7 (800) 200-90-76 , Email: parts-katalog@yandex.ru, где купить

 
 

  Логин:

Пароль:

Регистрация

www.partskatalog.ru Все каталоги Запчасти Mercury Запчасти Suzuki Запчасти Tohatsu Запчасти Honda Контакты

назад Раздел:   вперёд

Вернуться к выбору узлов мотора


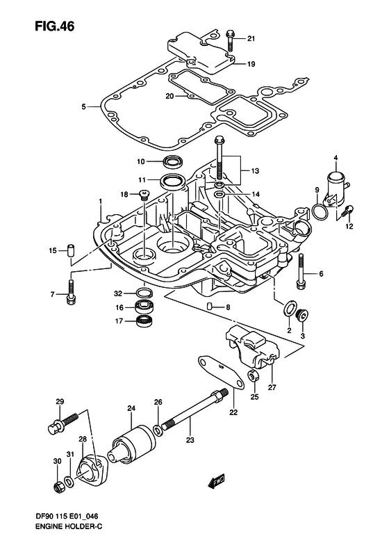
ДЕТАЛИРОВКА ДЛЯ МОДЕЛИ: SUZUKI DF115TL K7

Основание двигателя


Код модели двигателя: DF115TL/X; DF115WTL/X

Год выпуска двигателя: 2007

Цвет: Shadow Black Metallic

Номер на
рисунке
АртикулНаименованиеQTYКол-во
на складе
Цена
151110-90840-0EP

Основание двигателя (черный цвет) - Holder Set, Engine (black) (INC.NO.2, 3, 10, 11, 16, 17, 32 FIG.5 NO.7 # )

под заказ0 руб.
151110-90842-0EP

Основание двигателя (черный цвет) - Holder Set, Engine (black) (основание двигателя (чёрный))

под заказнет сведений
151110-90841-0EP

Основание двигателя (черный цвет) - Holder Set, Engine (black) (MODEL:07 # )

под заказ0 руб.
151110-90842-0EP

Основание двигателя (черный цвет) - Holder Set, Engine (black) (основание двигателя (чёрный))

под заказнет сведений
151110-90842-0EP

Основание двигателя (черный цвет) - Holder Set, Engine (black) (MODEL:08~ # ) (основание двигателя (чёрный))

под заказнет сведений
209160-18031-000

Шайба (18.5x28x2.6) - Washer (185x28x26) (~MODEL:07 # ) (Gasket (18.5x28x2.6))

12 шт190 руб.
309248-18010-000

Заглушка (18x15) - Plug (18x15) (~MODEL:07 # ) (Plug)

под заказ610 руб.
451115-90J00-000

Модуль возврата воды - Union, Water Return (Соединение отдачи воды)

2 шт1100 руб.
551211-90J21-000

Прокладка основания двигателя - Gasket, Engine Holder

под заказ6390 руб.
551211-90J22-000

   (актуальный код замены) Прокладка основания двигателя - Gasket, Engine Holder

11 шт8050 руб.
551211-90J22-000

Прокладка основания двигателя - Gasket, Engine Holder (Gasket, engine holder)

11 шт8050 руб.
609116-08119-000

Болт (8x70) - Bolt (8x70)

под заказ1010 руб.
609116-08160-000

   (актуальный код замены) Болт (8x70) - Bolt (8x70)

под заказ1010 руб.
609116-08160-000

Болт (8x70) - Bolt (8x70) (Bolt (8x70))

под заказ1010 руб.
709116-08128-000

Болт (8x40) - Bolt (8x40) (<-09116-08098 # ) (Bolt (8x40))

под заказ390 руб.
809206-08001-000

Штифт (8x11) - Pin (8x11) (Стопор)

9 шт130 руб.
909280-26006-000

Уплотнительное кольцо (d: 3.1, Id: 26.4) - O Ring (d:31, Id:264) (Кольцо уплотнительное)

2 шт220 руб.
1009282-24003-000

Сальник (24x36x6) - Seal, Oil (24x36x6) (Сальник)

40 шт610 руб.
1109283-32044-000

Сальник (32x47x6) - Seal, Oil (32x47x6) (Сальник)

22 шт1610 руб.
1201550-06257-000

Болт - Bolt (Bolt)

под заказ180 руб.
1329117-93J10-000

Болт - Bolt (Bolt (w/washer) (8x45) # <-09117-08038 # ) (Bolt (8x45))

под заказ440 руб.
1409160-08059-000

Шайба (8.5x18x1.6) - Washer (85x18x16) (Washer (8.5x18x1.6) # ) (Шайба)

9 шт120 руб.
1504211-11129-000

Штифт - Pin (Pin)

14 шт150 руб.
1609262-17019-000

Подшипник (17x35x8) - Bearing (17x35x8) (Bearing, clutch shaft # ) (Подшипник вала муфты)

12 шт2120 руб.
1616003NTN

   (подбор по маркировке) Подшипник NTN 16003(17*35*8 мм)

под заказ190 руб.
1709289-18001-000

Сальник (18x30x8) - Seal, Oil (18x30x8) (Уплотнение вала муфты)

5 шт1830 руб.
1809248-12005-000

Заглушка, M12 - Plug, M12 (Заглушка вала)

под заказ350 руб.
1951122-90J00-000

Крышка монтажного корпуса - Cover, Mount Case (Крышка)

под заказ6050 руб.
2051123-90J01-000

Прокладка крепления крышки корпуса - Gasket, Mount Case Cover (Прокладка крышки)

2 шт900 руб.
2101550-0825A-000

Болт - Bolt (Болт)

под заказ180 руб.
2254123-90J00-000

Пластина, вышеr Крепление - Plate, Upr Mount (Плата верхней опоры)

под заказ1510 руб.
2254123-90J01-000

   (актуальный код замены) Пластина верхней опоры - Plate, Upper Mount

под заказ1510 руб.
2354112-90J21-000

Болт, вышеr Крепление - Bolt, Upr Mount (Болт верхней опоры)

под заказ4300 руб.
2454130-90J40-000

Крепление, вышеr - Mount, Upr (Опора верхняя)

1 шт4420 руб.
2509159-12014-000

Гайка - Nut (Гайка)

18 шт370 руб.
2654114-90J01-000

Шайба, Mt Болт (12.5x22x3.0) - Washer, Mt Bolt (125x22x30) (Washer, lwr mt bolt, 12.5x22x3.0)

под заказ1160 руб.
2654114-90J10-000

   (актуальный код замены) Шайба болта верхнего крепежа - Washer, Upper Mount Bolt

под заказ1160 руб.
2754125-90J10-000

Крепление верхнего упора - Mount, Upr Thrust (Опора верхняя)

1 шт1440 руб.
2754125-90J11-000

   (актуальный код замены) Крепление верхнего упора - Mount, Upr Thrust

под заказ1440 руб.
2854148-90J11-0EP

Крышка, вышеr Крепление - Cover, Upr Mount (Cover, upper mount)

под заказ9650 руб.
2909116-10139-000

Болт (10x44) - Bolt (10x44)

под заказ610 руб.
2909116-10176-000

   (актуальный код замены) Болт (10x44) - Bolt (10x44)

4 шт760 руб.
2909116-10176-000

Болт (10x44) - Bolt (10x44) (Bolt, 10x44)

4 шт760 руб.
3009159-12014-000

Гайка - Nut (Гайка)

18 шт370 руб.
3109160-12110-000

Шайба (12.5x22x3) - Washer (125x22x3) (Шайба)

6 шт370 руб.
3208331-41356-000

Стопорное кольцо - Circlip

под заказ170 руб.
3208331-41359-000

   (актуальный код замены) Стопорное кольцо - Circlip

7 шт200 руб.
3208331-41359-000

Стопорное кольцо - Circlip (Стопорное кольцо (пружинное))

7 шт200 руб.


Время выполнения запроса 2.0481178760529 сек.

 
 

данный сайт носит информационный характер и не является публичной офертой

склад запчастей для водомоторной техники