| |
 |
|
 |
Вернуться к выбору узлов мотора
ДЕТАЛИРОВКА ДЛЯ МОДЕЛИ: SUZUKI DF115WZ FROM 11502Z-110001~
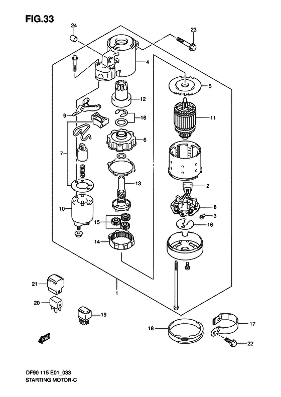
Двигатель электростартера
Код модели двигателя: DF115(Z)TL/X; DF115W(Z)TL/X
Год выпуска двигателя: 2011
Цвет: Shadow Black Metallic
Номер на рисунке | Артикул | Наименование | QTY | Кол-во на складе | Цена |
| 1 | 31100-90J01-000 | Двигатель электростартера в сборе - Motor Assy, Starting (Motor assy, starting) | | под заказ | 142080 руб. |
| 2 | 31131-90J01-000 | Набор щёток (+) - Brush Set (+) (Brush set, plus) | | 2 шт | 3840 руб. |
| 3 | 31135-90J00-000 | Пружина - Spring (Пружина) | | под заказ | 710 руб. |
| 4 | 31151-90J00-000 | Картер коробки передач - Case, Gear (Case, gear) | | под заказ | 26880 руб. |
| 5 | 31152-90J00-000 | Пластина, Ctr - Plate, Ctr (Пластина center display circuit) | | под заказ | 1890 руб. |
| 6 | 31153-90J00-000 | Кронштейн, Шестерня - Bracket, Gear (Кронштейн шестерни) | | под заказ | 3340 руб. |
| 7 | 31171-90J00-000 | Крышка, Dust - Cover, Dust (Крышка) | | под заказ | 2020 руб. |
| 8 | 31173-90J01-000 | Держатель щетки - Holder Assy, Brush | | под заказ | 12440 руб. |
| 8 | 31173-90J02-000 | (актуальный код замены) Держатель щетки - Holder Assy, Brush | | под заказ | 12440 руб. |
| 8 | 31173-90J02-000 | Держатель щетки - Holder Assy, Brush (HOLDER ASSY, BRUSH) | | под заказ | 12440 руб. |
| 9 | 31191-90J00-000 | Рычаг переключателя - Lever, Shift (Рукоятка переключение) | | под заказ | 2270 руб. |
| 10 | 31220-90J00-000 | Переключатель, Магнето - Switch, Magneto (Замок зажигания) | | 1 шт | 31440 руб. |
| 11 | 31310-90J00-000 | Якорь - Armature (Отсутствующе) | | под заказ | 52320 руб. |
| 12 | 31320-90J00-000 | Шестерня - Pinion (Pinion) | | 1 шт | 38880 руб. |
| 13 | 31341-90J00-000 | Вал шестерни - Shaft, Pinion (Вал шестерни) | | под заказ | 14930 руб. |
| 14 | 31343-90J00-000 | Внутреняя шестерня - Internal Gear (Шестерня внутренняя) | | под заказ | 7060 руб. |
| 15 | 31344-90J00-000 | Планетарные шестерни - Gear, Planetary (Gear, planetry # ) (Шестерня) | | 1 шт | 3100 руб. |
| 16 | 31360-90J00-000 | Установочная шайба, Стопор - Washer Set, Stopper (Набор шайб) | | под заказ | 1670 руб. |
| 17 | 31912-90J00-000 | Ремешок двигателя стартера - Band, Starting Motor (Лента стартера мотора) | | под заказ | 690 руб. |
| 18 | 31918-90J00-000 | Демпфер, Lwr - Damper, Lwr (Демпфер нижний) | | под заказ | 890 руб. |
| 18 | 31918-90J01-000 | (актуальный код замены) Демпфер, Lwr - Damper, Lwr | | под заказ | 890 руб. |
| 18 | 31918-90J10-000 | Демпфер, Lwr - Damper, Lwr (MODEL:06~ # ) (Демпфер нижний) | | под заказ | 880 руб. |
| 18 | 31918-90J11-000 | (актуальный код замены) Демпфер, Lwr - Damper, Lwr | | под заказ | 880 руб. |
| 19 | 38910-92E00-000 | Реле главного модуля управления двигателем - Relay, Ecm Main (Relay, starting motor # MODEL:01, 02 # ) (Реле топливного впрыска) | | 2 шт | 5910 руб. |
| 20 | 38860-76F01-000 | Реле в сборе - Relay Assy (Relay, starting motor # MODEL:03~ # ) (Реле стартера) | | 7 шт | 5000 руб. |
| 21 | 38915-90J00-000 | Держатель реле - Holder, Relay (MODEL:03~ # ) (Держатель реле) | | 2 шт | 370 руб. |
| 22 | 01550-08207-000 | Болт - Bolt (Bolt) | | 10 шт | 240 руб. |
| 23 | 01550-10507-000 | Болт - Bolt (Bolt) | | под заказ | 290 руб. |
| 24 | 04211-13149-000 | Штифт - Pin (Pin) | | под заказ | 170 руб. |
Время выполнения запроса 0.97920107841492 сек. |
|