| |
 |
|
 |
Вернуться к выбору узлов мотора
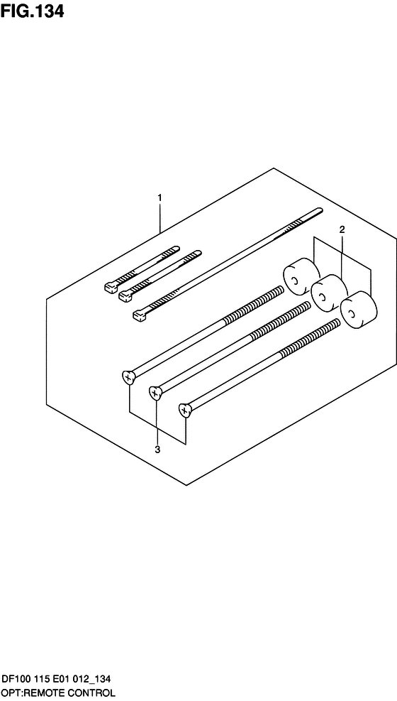
ДЕТАЛИРОВКА ДЛЯ МОДЕЛИ: SUZUKI DF115T FROM 11502F-210001~ (E01,E40)
Опции: дистанционное управление
Год выпуска двигателя: 2012
Номер на рисунке | Артикул | Наименование | QTY | Кол-во на складе | Цена |
| 1 | 67140-95600-000 | Двойной комплект навесного оборудования Remocon - Attachment Kit, Twin Remocon (Attachment, twin remocon kit # ) (Фиксация) | | под заказ | 4300 руб. |
| 1 | 67140-95601-000 | (актуальный код замены) Двойной комплект навесного оборудования Remocon - Attachment Kit, Twin Remocon | | под заказ | 4300 руб. |
| 2 | 67294-95600-000 | Проставка - Spacer (Кольцо/шайба) | | под заказ | 460 руб. |
| 3 | 67296-95620-000 | Винт (l: 165) - Screw (l:165) (L:165 # ) | | под заказ | 1180 руб. |
| 3 | 67296-95621-000 | (актуальный код замены) Винт (l: 165) - Screw (l:165) | | под заказ | 1180 руб. |
| 3 | 67296-95621-000 | Винт (l: 165) - Screw (l:165) (SCREW (L:165)) | | под заказ | 1180 руб. |
Время выполнения запроса 0.50465989112854 сек. |
|