Подобрать оригинальные запчасти на подвесной лодочный мотор Suzuki DF140(Z)TL/X; DF140WTL/X - Fuel injector
вконтакте

Контактный телефон: +7 (981) 121-46-93, +7 (800) 200-90-76 , Email: parts-katalog@yandex.ru, где купить

 
 

  Логин:

Пароль:

Регистрация

www.partskatalog.ru Все каталоги Запчасти Mercury Запчасти Suzuki Запчасти Tohatsu Запчасти Honda Контакты

назад Раздел:   вперёд

Вернуться к выбору узлов мотора


ДЕТАЛИРОВКА ДЛЯ МОДЕЛИ: SUZUKI DF140WTL K3 (E40)

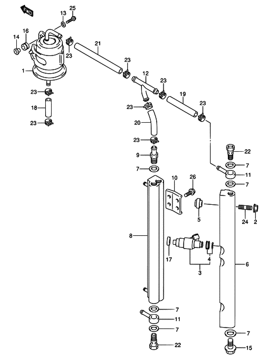
Топливный инжектор


Код модели двигателя: DF140(Z)TL/X; DF140WTL/X

Год выпуска двигателя: 2003

Цвет: Shadow Black Metallic

Номер на
рисунке
АртикулНаименованиеQTYКол-во
на складе
Цена
115440-90J10-000

Топливный фильтр в сборе - Filter Assy, Fuel (Фильтр топливный)

8 шт10900 руб.
1SK-G-5120YT

   (не оригинальный аналог) Фильтр топливный Skipper для Suzuki DF90-140 тонкой очистки

1 шт1094 руб.
208316-10087-000

Гайка - Nut (Nut (chrome))

14 шт170 руб.
315710-65D00-000

Топливный инжектор, в сборе - Injector Assy, Fuel (Injector, fuel # ) (Форсунка)

4 шт36720 руб.
415716-65DT0-000

Пыльник топливного инжектора - Grommet Set, Fuel Injector (Набор втулок)

12 шт1880 руб.
515735-58B00-000

Изолятор подающей трубки - Insulator, Delivery Pipe (Insulator, delivery pipe # ) (Изолятор)

под заказ520 руб.
615751-90J01-000

Трубка подачи - Pipe, Delivery

под заказ16710 руб.
615751-90J03-000

   (актуальный код замены) Трубка подачи - Pipe, Delivery

под заказ16710 руб.
615751-90J03-000

Трубка подачи - Pipe, Delivery (Трубка нагнетания)

под заказ16710 руб.
715762-90J00-000

Прокладка, Соединение - Gasket, Union (Gasket, union # ) (Gasket (11.8x22x1.2))

под заказ610 руб.
815770-90J01-000

Охладитель топлива - Cooler, Fuel

под заказ12200 руб.
815770-90J02-000

   (актуальный код замены) Охладитель топлива - Cooler, Fuel

под заказ12200 руб.
815770-90J02-000

Охладитель топлива - Cooler, Fuel (Охладитель топливный)

под заказ12200 руб.
915773-90J00-000

Соединенине топливного шланга - Union, Fuel Hose (Соединение топливного шланга (H))

под заказ1420 руб.
1015775-90J00-000

Кронштейн охладителя - Bracket, Fuel Cooler (Кронштейн топливного охладителя)

под заказ470 руб.
1115830-90J00-000

Основной топливный соединитель - Joint, Fuel Main (Joint, fuel main # ) (Болт соединяющий)

под заказ1860 руб.
1215830-99E00-000

Соединительный тройник - Union, 3 Way (Union, 3 way fuel hose # ) (Соединение топливного шланга, 3-х стороннее)

под заказ1680 руб.
1309160-06084-000

Шайба (6.5x18x1.6) - Washer (65x18x16) (Шайба 6.5X18X1)

7 шт130 руб.
1409169-06062-000

Шайба - Washer (Washer # ) (Кольцо/шайба)

под заказ190 руб.
1509247-12013-000

Заглушка (12x16) - Plug (12x16) (Plug, delivery pipe # ) (Bolt)

под заказ470 руб.
1609320-08501-000

Подушка - Cushion (Cushion)

под заказ240 руб.
1709320-08062-000

Подушка - Cushion (Cushion)

34 шт1010 руб.
1809356-75137-600

Шланг (7.5x13.5x600) - Hose (75x135x600) (Hose (separator to filter) # L:600->0 # ) (Шланг топливный)

6 шт12580 руб.
1909356-75137-600

Шланг (7.5x13.5x600) - Hose (75x135x600) (Hose (separator to filter) # L:600->0 # ) (Шланг топливный)

6 шт12580 руб.
2009356-75137-600

Шланг (7.5x13.5x600) - Hose (75x135x600) (Hose (separator to filter) # L:600->0 # ) (Шланг топливный)

6 шт12580 руб.
2109356-75137-600

Шланг (7.5x13.5x600) - Hose (75x135x600) (Hose (separator to filter) # L:600->10 # ) (Шланг топливный)

6 шт12580 руб.
2209360-12013-000

Соединение - Union (Болт соединяющий)

под заказ790 руб.
2309401-11414-000

Зажим (id: 11.5) - Clip (id:115) (Clip)

под заказ290 руб.
2401421-08357-000

Болт под шпильку - Bolt, Stud (Болт)

под заказ330 руб.
2501500-06257-000

Болт - Bolt (Bolt)

под заказ150 руб.
2601550-06167-000

Болт - Bolt (Bolt)

9 шт210 руб.


Время выполнения запроса 0.80670213699341 сек.

 
 

данный сайт носит информационный характер и не является публичной офертой

склад запчастей для водомоторной техники