Оригинальные запчасти на двигатель Suzuki - Отделитель паров топлива / Fuel vapor separator
вконтакте

Контактный телефон: +7 (981) 121-46-93, +7 (800) 200-90-76 , Email: parts-katalog@yandex.ru, где купить

 
 

  Логин:

Пароль:

Регистрация

www.partskatalog.ru Все каталоги Запчасти Mercury Запчасти Suzuki Запчасти Tohatsu Запчасти Honda Контакты

назад Раздел:   вперёд

Вернуться к выбору узлов мотора


ДЕТАЛИРОВКА ДЛЯ МОДЕЛИ: SUZUKI DF140AT FROM 14003F-310001~

Отделитель паров топлива


Год выпуска двигателя: 2013

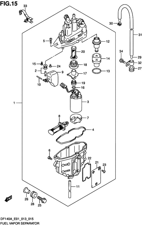
Номер на
рисунке
АртикулНаименованиеQTYКол-во
на складе
Цена
115600-92J00-000

Сепаратор-отделитель паров топлива, в сборе - Separator Assy, Fuel Vapor

под заказ89280 руб.
115600-92J40-000

   (актуальный код замены) Сепаратор-отделитель паров топлива, в сборе - Separator Assy, Fuel Vapor

под заказ89280 руб.
115600-92J02-000

Сепаратор-отделитель паров топлива, в сборе - Separator Assy, Fuel Vapor (SEPARATOR ASSY, FUEL VAPOR)

под заказ89280 руб.
115600-92J40-000

   (актуальный код замены) Сепаратор-отделитель паров топлива, в сборе - Separator Assy, Fuel Vapor

под заказ89280 руб.
213370-88L00-000

Игольчатый клапан, в сборе - Valve Assy, Needle (Valve assy, needle)

под заказ4900 руб.
315200-92J00-000

Топливный насос, в сборе - Pump Assy, Fuel (Pump assy, fuel)

1 шт52190 руб.
315200-92J30-000

   (актуальный код замены) Топливный насос (высокого давления), в сборе - Pump Assy, Fuel (h)

5 шт52190 руб.
415626-92J00-000

Сальник - Seal (Валик)

под заказ1280 руб.
415626-92J01-000

   (актуальный код замены) Сальник - Seal

1 шт1450 руб.
515628-99E00-000

Винт (l: 15) - Screw (l:15) (Screw (l:15))

под заказ240 руб.
615629-99E10-000

Винт дренажный - Screw, Drain (Винт дренажный)

под заказ550 руб.
715641-88L00-000

Проставка - Spacer (Кольцо/шайба)

под заказ2340 руб.
815642-88L00-000

Фильтр в сборе - Filter Assy (Filter assy)

19 шт2390 руб.
8SK-G-0070YT

   (не оригинальный аналог) Фильтр топливного сепаратора Skipper для Yamaha F150-F350

0 шт699 руб.
915650-99E00-000

Поплавок - Float (Поплавок)

под заказ6870 руб.
1015654-88L00-000

Штифт - Pin (Pin)

под заказ240 руб.
1115683-87J00-000

Шланг - Hose (Hose, drain # ) (Hose)

под заказ330 руб.
1215760-88L00-000

Регулятор в сборе - Regulator Assy (Regulator assy)

под заказ18000 руб.
1315644-88L00-000

Уплотнительное кольцо - O Ring (O ring)

под заказ430 руб.
1415645-88L00-000

Держатель регулятора - Holder, Regulator (Holder, regulator)

под заказ530 руб.
1502112-0408A-000

Винт - Screw (Болт)

под заказ90 руб.
1615648-92J00-000

Кольцо - Ring (Ring)

под заказ850 руб.
1715643-88L00-000

Соединитель - Joint (Joint)

под заказ520 руб.
1715643-88L10-000

   (актуальный код замены) Соединитель - Joint

под заказ520 руб.
1815641-88L20-000

Втулка - Bush

под заказ4710 руб.
1815641-88L31-000

   (актуальный код замены) Втулка - Bush

под заказ4710 руб.
1815641-88L31-000

Втулка - Bush (BUSH)

под заказ4710 руб.
1915641-88L40-000

Втулка - Bush

под заказ4710 руб.
1915641-88L51-000

   (актуальный код замены) Втулка - Bush

под заказ4710 руб.
1915641-88L51-000

Втулка - Bush (BUSH)

под заказ4710 руб.
2015642-88L10-000

Фильтр - Filter (Filter)

16 шт1900 руб.
2115612-99E01-000

Крышка пароотделителя - Cover, Vapor Separator (Cover, vapor separator)

под заказ1680 руб.
2215613-88L00-000

Уплотнительное кольцо - O Ring (O ring)

2 шт470 руб.
2315614-99E00-000

Винт - Screw

под заказ430 руб.
2315614-88L00-000

   (актуальный код замены) Винт - Screw

под заказ430 руб.
2315614-88L00-000

Винт - Screw (Болт)

под заказ430 руб.
2402142-0408B-000

Винт - Screw (Винт)

под заказ130 руб.
2509116-06202-000

Болт (6x25) - Bolt (6x25) (Bolt (w/washer) # ) (Болт (шайба))

под заказ250 руб.
2609169-06090-000

Шайба - Washer (Шайба)

под заказ240 руб.
2709320-08076-000

Пыльник - Grommet (Grommet, guide air # ) (Втулка направления воздуха)

под заказ440 руб.
2709320-08517-000

   (актуальный код замены) Подушка, Держатель кабеля - Cushion, Cable Holder

под заказ440 руб.
2809320-09053-000

Подушка - Cushion (Cushion)

под заказ300 руб.
2809320-09060-000

   (актуальный код замены) Подушка - Cushion

под заказ300 руб.
2909352-50823-00B

Шланг (5x8.2x2000) - Hose (5x82x2000) (Hose (vapor sep to filter) # L:2000->680 # ) (Hose 5x8.2x2000)

1 шт1420 руб.
2909352-50005-00B

   (актуальный код замены) Шланг (5x8.2x2000) - Hose (5x8.2x2000)

под заказ1420 руб.
3009401-08412-000

Зажим - Clip (Clip)

под заказ190 руб.
3118498-88L00-000

Защита шланга вентиляции (610) - Protector, Evap Hose (610) (Protector, evap hose (610))

под заказ720 руб.
3118498-88L01-000

   (актуальный код замены) Защита шланга вентиляции (610) - Protector, Evap Hose (610)

под заказ720 руб.
3209403-13408-000

Струбцина - Clamp (Clamp)

под заказ490 руб.
3209403-13413-000

   (актуальный код замены) Струбцина - Clamp

под заказ490 руб.
3309408-00302-000

Струбцина - Clamp (Clamp)

под заказ260 руб.
3401550-06127-000

Болт - Bolt (Bolt, rect # ) (Bolt)

10 шт180 руб.


Время выполнения запроса 0.99675703048706 сек.

 
 

данный сайт носит информационный характер и не является публичной офертой

склад запчастей для водомоторной техники