Комплектующие на подвесной двигатель SUZUKI DF140(Z)TL/X модель 2002 года - Топливный инжектор
вконтакте

Контактный телефон: +7 (981) 121-46-93, +7 (800) 200-90-76 , Email: parts-katalog@yandex.ru, где купить

 
 

  Логин:

Пароль:

Регистрация

www.partskatalog.ru Все каталоги Запчасти Mercury Запчасти Suzuki Запчасти Tohatsu Запчасти Honda Контакты



УВАЖАЕМЫЕ КЛИЕНТЫ!
C 19 ДЕКАБРЯ 2025 ПО 02 МАРТА 2026 ГОДА ОТДЕЛ ЗАПЧАСТЕЙ И СЕРВИС РАБОТАТЬ НЕ БУДУТ
ПРОДАЖА ЛОДОЧНЫХ МОТОРОВ В ШТАТНОМ РЕЖИМЕ
ОБ ИЗМЕНЕНИЯХ В ГРАФИКЕ РАБОТЫ ЧИТАЙТЕ НА САЙТА



назад Раздел:   вперёд

Вернуться к выбору узлов мотора


ДЕТАЛИРОВКА ДЛЯ МОДЕЛИ: SUZUKI DF140ZUL K2

Топливный инжектор


Код модели двигателя: DF140(Z)TL/X

Год выпуска двигателя: 2002

Цвет: Shadow Black Metallic

Номер на
рисунке
АртикулНаименованиеQTYКол-во
на складе
Цена
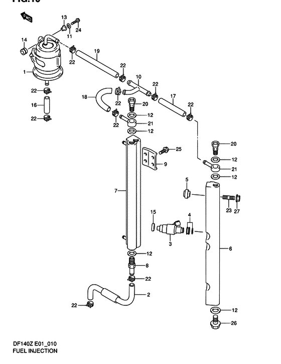
115440-90J00-000

Топливный фильтр - Filter, Fuel (Фильтр топливный)

45 шт11100 руб.
215680-90J00-000

Топливный шланг - Hose, Fuel

под заказ3700 руб.
215680-90J01-000

   (актуальный код замены) Топливный шланг - Hose, Fuel

под заказ3700 руб.
215680-90J01-000

Топливный шланг - Hose, Fuel (Hose, fuel)

под заказ3700 руб.
315710-65D00-000

Топливный инжектор, в сборе - Injector Assy, Fuel (Injector, fuel # ) (Форсунка)

4 шт36720 руб.
415716-65DT0-000

Пыльник топливного инжектора - Grommet Set, Fuel Injector (Набор втулок)

12 шт1880 руб.
515735-58B00-000

Изолятор подающей трубки - Insulator, Delivery Pipe (Insulator, delivery pipe # ) (Изолятор)

под заказ520 руб.
615751-90J00-000

Трубка подачи - Pipe, Delivery

под заказ16710 руб.
615751-90J03-000

   (актуальный код замены) Трубка подачи - Pipe, Delivery

под заказ16710 руб.
615751-90J03-000

Трубка подачи - Pipe, Delivery (Трубка нагнетания)

под заказ16710 руб.
715770-90J00-000

Охладитель топлива - Cooler, Fuel

под заказ12200 руб.
715770-90J02-000

   (актуальный код замены) Охладитель топлива - Cooler, Fuel

под заказ12200 руб.
715770-90J02-000

Охладитель топлива - Cooler, Fuel (Охладитель топливный)

под заказ12200 руб.
815773-90J00-000

Соединенине топливного шланга - Union, Fuel Hose (Соединение топливного шланга (H))

под заказ1420 руб.
915775-90J00-000

Кронштейн охладителя - Bracket, Fuel Cooler (Кронштейн топливного охладителя)

под заказ470 руб.
1015830-99E00-000

Соединительный тройник - Union, 3 Way (Union, 3 way fuel hose # ) (Соединение топливного шланга, 3-х стороннее)

под заказ1680 руб.
1109160-06084-000

Шайба (6.5x18x1.6) - Washer (65x18x16) (Шайба 6.5X18X1)

7 шт130 руб.
1209168-12013-000

Прокладка (11.8x22x1.2) - Gasket (118x22x12) (Gasket, union # ) (Прокладка)

10 шт260 руб.
1309169-06062-000

Шайба - Washer (Washer # ) (Кольцо/шайба)

под заказ190 руб.
1409320-08501-000

Подушка - Cushion (Cushion)

под заказ240 руб.
1509320-08062-000

Подушка - Cushion (Cushion)

34 шт1010 руб.
1609356-75137-600

Шланг (7.5x13.5x600) - Hose (75x135x600) (Hose (separator to filter) # L:600->0 # ) (Шланг топливный)

6 шт12580 руб.
1709356-75137-600

Шланг (7.5x13.5x600) - Hose (75x135x600) (Hose (separator to filter) # L:600->0 # ) (Шланг топливный)

6 шт12580 руб.
1809356-75137-600

Шланг (7.5x13.5x600) - Hose (75x135x600) (Hose (separator to filter) # L:600->0 # ) (Шланг топливный)

6 шт12580 руб.
1909356-75137-600

Шланг (7.5x13.5x600) - Hose (75x135x600) (Hose (separator to filter) # L:600->10 # ) (Шланг топливный)

6 шт12580 руб.
2009360-12008-000

Соединение - Union (Болт соединяющий)

под заказ730 руб.
2109363-08004-000

Соединение - Union (Соединение топливного фильтра)

под заказ1650 руб.
2209401-11414-000

Зажим (id: 11.5) - Clip (id:115) (Clip)

под заказ290 руб.
2301421-08357-000

Болт под шпильку - Bolt, Stud (Болт)

под заказ330 руб.
2401500-06257-000

Болт - Bolt (Bolt)

под заказ150 руб.
2501550-06167-000

Болт - Bolt (Bolt)

9 шт210 руб.
2601550-12167-000

Болт - Bolt (Bolt, delivery pipe # ) (Bolt)

под заказ290 руб.
2708316-10087-000

Гайка - Nut (Nut (chrome))

14 шт170 руб.


Время выполнения запроса 4.1653409004211 сек.

 
 

данный сайт носит информационный характер и не является публичной офертой

склад запчастей для водомоторной техники