| |
 |
|
 |
Вернуться к выбору узлов мотора
ДЕТАЛИРОВКА ДЛЯ МОДЕЛИ: SUZUKI DF140ZUL K2
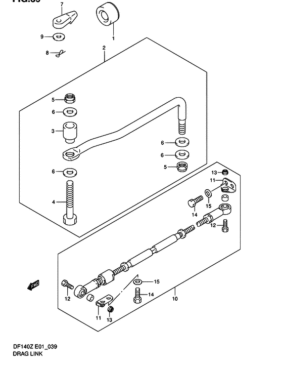
Переключающая тяга
Код модели двигателя: DF140(Z)TL/X
Год выпуска двигателя: 2002
Цвет: Shadow Black Metallic
Номер на рисунке | Артикул | Наименование | QTY | Кол-во на складе | Цена |
| 1 | 41161-94400-000 | Сальник рулевого кабеля - Seal, Steering Cable (Seal, steering cable # ) (Уплотение кабеля) | | 16 шт | 1530 руб. |
| 2 | 67701-90J00-000 | Рулевая тяга в сборе - Link Assy, Drag | | 10 шт | 5810 руб. |
| 2 | 67701-90J01-000 | (актуальный код замены) Рулевая тяга в сборе - Link Assy, Drag | | 1 шт | 5810 руб. |
| 2 | 67701-90J01-000 | Рулевая тяга в сборе - Link Assy, Drag (Link assy, drag) | | 1 шт | 5810 руб. |
| 3 | 67721-99E00-000 | Проставка - Spacer (Кольцо/шайба) | | под заказ | 1110 руб. |
| 4 | 67725-99E00-000 | Болт переключающей тяги - Bolt, Drag Link (Болт соединяющий) | | 4 шт | 850 руб. |
| 5 | 67726-99E00-000 | Блокирующая гайка - Nut, Lock (Гайка блокирующая) | | 4 шт | 800 руб. |
| 6 | 67728-99E00-000 | Шайба - Washer (Шайба) | | 4 шт | 260 руб. |
| 7 | 67467-89J01-000 | Коннектор - Connector (Переходник) | | 73 шт | 850 руб. |
| 8 | 09385-06012-000 | Зажим - Clip (Clip) | | 138 шт | 150 руб. |
| 9 | 09160-06055-000 | Шайба (7x12x1) - Washer (7x12x1) (Washer (7x12x1.0) # ) (Шайба) | | 67 шт | 130 руб. |
| 10 | 67600-90J00-000 | Рулевая тяга, комплект - Kit, Tie Rod (OPT # ) (Комплект рулевой тяги) | | под заказ | 175680 руб. |
| 11 | 67631-90J00-000 | Кронштейн рулевой тяги - Bracket, Tie Rod (OPT # ) (Кронштейн связки) | | под заказ | 18870 руб. |
| 12 | 67725-99E10-000 | Болт - Bolt (OPT # ) (Bolt) | | под заказ | 1200 руб. |
| 12 | 67725-99E20-000 | (актуальный код замены) Болт переключающей тяги - Bolt, Drag Link | | под заказ | 1200 руб. |
| 13 | 67726-99E00-000 | Блокирующая гайка - Nut, Lock (OPT # ) (Гайка блокирующая) | | 4 шт | 800 руб. |
| 14 | 09100-12081-000 | Болт (12x25) - Bolt (12x25) (OPT # ) (Bolt) | | под заказ | 1630 руб. |
| 15 | 09160-12066-000 | Шайба (12.5x22x2.5) - Washer (125x22x25) (Washer (12.5x22x2.5) # OPT # ) (Шайба) | | 19 шт | 150 руб. |
Время выполнения запроса 0.69882917404175 сек. |
|