| |
 |
|
 |
Вернуться к выбору узлов мотора
ДЕТАЛИРОВКА ДЛЯ МОДЕЛИ: SUZUKI DF140AZ FROM 14003Z-410001~
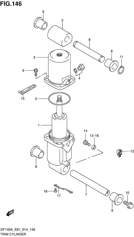
Цилиндр трима
Код модели двигателя: DF140A(Z)TL/X
Год выпуска двигателя: 2014
Регион: General Export No.1 ,Код региона: P01
Цвет: Shadow Black Metallic
Номер на рисунке | Артикул | Наименование | QTY | Кол-во на складе | Цена |
| 1 | 48400-90J02-000 | Коллектор в сборе - Manifold Assy (Коллектор) | | под заказ | 85440 руб. |
| 1 | 48400-90J03-000 | (актуальный код замены) Коллектор в сборе - Manifold Assy | | под заказ | 85440 руб. |
| 2 | 48611-90J00-000 | Металлический соединитель - Joint, Metal (Соединение металлическое) | | под заказ | 18530 руб. |
| 3 | 48571-87L00-000 | Бак резервуара - Tank, Reservoir (Tank, reservoir) | | под заказ | 18150 руб. |
| 3 | 48571-87L01-000 | (актуальный код замены) Бак резервуара - Tank, Reservoir | | под заказ | 18150 руб. |
| 4 | 48572-87J10-000 | Заглушка - Plug (Plug) | | 2 шт | 2030 руб. |
| 5 | 48557-90J00-000 | Уплотнительное кольцо - O Ring (O ring) | | 4 шт | 2010 руб. |
| 6 | 48862-87J20-000 | Болт резервуара - Bolt, Reservoir (Bolt, reservoir) | | 2 шт | 1350 руб. |
| 7 | 48121-90J00-000 | Вал наклона Цилиндр Lwr - Shaft, Tilt Cylinder Lwr (Shaft, tilt cyl lower # ) (Вал гидроподъемника) | | под заказ | 7060 руб. |
| 8 | 48321-90J00-000 | Вал наклона Цилиндр вышеr - Shaft, Tilt Cylinder Upr (Shaft, tilt cyl upper # ) (Вал гидроподъемника) | | под заказ | 4520 руб. |
| 9 | 48326-95E00-000 | Втулка, Цилиндр наклона Lwr - Bush, Tilt Cylinder Lwr (Bush, tilt cylinder # ) (Втулка цилиндра) | | 9 шт | 580 руб. |
| 10 | 09116-10174-000 | Болт (10x35) - Bolt (10x35) | | под заказ | 1000 руб. |
| 10 | 09116-10179-000 | (актуальный код замены) Болт (10x35) - Bolt (10x35) | | под заказ | 1000 руб. |
| 10 | 09116-10179-000 | Болт (10x35) - Bolt (10x35) (Bolt (10x35)) | | под заказ | 1000 руб. |
| 11 | 09380-22015-000 | Стопорное кольцо - Circlip (Circlip) | | под заказ | 290 руб. |
| 12 | 09403-20308-000 | Струбцина - Clamp (Clip) | | 4 шт | 270 руб. |
| 13 | 55321-87J00-000 | Защитный анод - Anode, Protection | | 1 шт | 750 руб. |
| 13 | 55321-87J01-000 | (актуальный код замены) Защитный анод - Anode, Protection | | 26 шт | 850 руб. |
| 13 | SMO-55321-87J01-000 | (не оригинальный аналог) Защитный анод SMO-55321-87J01-000 (оригинал) | | под заказ | 590 руб. |
| 13 | SMO-55321-87J01-000 | (аналог) Защитный анод SMO-55321-87J01-000 (оригинал) - код 55321-87J01-000 | | под заказ шт | 585 руб. |
| 13 | 55321-87J01-000 | Защитный анод - Anode, Protection (ANODE, PROTECTION) | | 26 шт | 850 руб. |
| 13 | SMO-55321-87J01-000 | (аналог) Защитный анод SMO-55321-87J01-000 (оригинал) - код 55321-87J01-000 | | под заказ шт | 585 руб. |
| 14 | 09103-06281-000 | Болт (6x14) - Bolt (6x14) (Bolt, protection anode # ) (Bolt) | | 5 шт | 270 руб. |
| 15 | 29404-93J10-000 | Струбцина - Clamp (Струбцина переключателя) | | под заказ | 190 руб. |
| 15 | 29404-93J11-000 | (актуальный код замены) Струбцина - Clamp | | под заказ | 190 руб. |
| 16 | 55321-87J10-000 | Анод, Magnesium - Anode, Magnesium (OPT # ) (Анод) | | под заказ | 1490 руб. |
| 16 | 55321-87J11-000 | (актуальный код замены) Анод (магниевый) - Anode (magnesium) | | 27 шт | 1490 руб. |
| 17 | 36895-87D10-000 | Lead (l: 310) - Lead (l:310) (Lead (swivel to hsg) # ) (Провод) | | 2 шт | 1300 руб. |
| 18 | 09125-05050-000 | Винт (5x8) - Screw (5x8) (Винт 5X8) | | под заказ | 150 руб. |
Время выполнения запроса 1.0593690872192 сек. |
|