Купить запчасти на мотор Suzuki DF140(Z)TL/X модель 2002 года - Gear case
вконтакте

Контактный телефон: +7 (981) 121-46-93, +7 (800) 200-90-76 , Email: parts-katalog@yandex.ru, где купить

 
 

  Логин:

Пароль:

Регистрация

www.partskatalog.ru Все каталоги Запчасти Mercury Запчасти Suzuki Запчасти Tohatsu Запчасти Honda Контакты



УВАЖАЕМЫЕ КЛИЕНТЫ!
C 19 ДЕКАБРЯ 2025 ПО 02 МАРТА 2026 ГОДА ОТДЕЛ ЗАПЧАСТЕЙ И СЕРВИС РАБОТАТЬ НЕ БУДУТ
ПРОДАЖА ЛОДОЧНЫХ МОТОРОВ В ШТАТНОМ РЕЖИМЕ
ОБ ИЗМЕНЕНИЯХ В ГРАФИКЕ РАБОТЫ ЧИТАЙТЕ НА САЙТА



назад Раздел:   вперёд

Вернуться к выбору узлов мотора


ДЕТАЛИРОВКА ДЛЯ МОДЕЛИ: SUZUKI DF140ZULK2(E1) K2

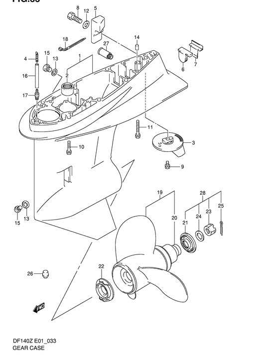
Картер коробки передач


Код модели двигателя: DF140(Z)TL/X

Год выпуска двигателя: 2002

Регион: Япония

Цвет: Shadow Black Metallic

Номер на
рисунке
АртикулНаименованиеQTYКол-во
на складе
Цена
155110-92J00-0EP

Корпус редутора - Case Assy, Gear (Case, gear (black); # ) (Case, gear (black))

под заказ165600 руб.
155110-92J01-Y5S

   (актуальный код замены) Картер коробки передач - Case, Gear

под заказ165600 руб.
209263-28016-000

Подшипник (28.6x38x31.8) - Bearing (286x38x318) (Bearing, pinion # Bearing, pinion; # ) (Подшипник 28.5X38X32)

13 шт8630 руб.
2BH1820ANSK

   (подбор по маркировке) Подшипник NSK BH-1820A(28.575*38.1*31.75 мм)

под заказ0
355125-92J00-000

Пластина трима - Tab, Trim (Киль (черный))

2 шт12000 руб.
455127-87D00-000

Заглушка, Соединение - Plug, Union (Union, speedometer hose # Union, speedometer hose; # ) (Соединение шланга спидометра)

под заказ380 руб.
555321-90J01-000

Анод, Картер коробки передач - Anode, Gear Case (Анод редуктора)

4 шт960 руб.
655332-87D10-000

Резинка выхлопного сальника - Rubber, Exhaust Seal

под заказ810 руб.
655332-87D12-000

   (актуальный код замены) Резинка выхлопного сальника - Rubber, Exhaust Seal

под заказ810 руб.
655332-87D11-000

Резинка выхлопного сальника - Rubber, Exhaust Seal (выхлопная прокладка резиновая)

под заказ810 руб.
655332-87D12-000

   (актуальный код замены) Резинка выхлопного сальника - Rubber, Exhaust Seal

под заказ810 руб.
755333-87D10-000

Пластина выхлопного сальника - Plate, Exhaust Seal (Plate, exhaust seal # ) (Плата выхода)

под заказ1040 руб.
809100-06131-000

Болт (6x12) - Bolt (6x12) (Bolt (6x12); # ) (Болт 6X12)

под заказ160 руб.
909116-08103-000

Болт (8x22) - Bolt (8x22) (Bolt (8x22); # )

под заказ550 руб.
909116-08137-000

   (актуальный код замены) Болт (8x22) - Bolt (8x22)

10 шт690 руб.
909116-08137-000

Болт (8x22) - Bolt (8x22) (Bolt (8x22) # ) (Болт (8X22))

10 шт690 руб.
1009117-10038-000

Болт (10x55) - Bolt (10x55) (Bolt (10x55); # )

под заказ1180 руб.
1009116-10150-000

   (актуальный код замены) Болт (10x55) - Bolt (10x55)

9 шт1270 руб.
1009116-10150-000

Болт (10x55) - Bolt (10x55) (Болт 10X55)

9 шт1270 руб.
1109117-10039-000

Болт (10x80) - Bolt (10x80) (Bolt (10x80) # Bolt (10x80); # ) (Bolt)

10 шт1040 руб.
1209160-06085-000

Шайба (6.5x15x1) - Washer (65x15x1) (Washer (6.5x15x1.0) # Washer (6.5x15x1.0); # ) (Шайба)

под заказ120 руб.
1309168-10022-000

Прокладка (10x17x1.5) - Gasket (10x17x15) (Gasket (10x17x1.5); # ) (Прокладка)

2205 шт150 руб.
1409202-08006-000

Штифт (8x12) - Pin (8x12) (Pin, knock # ) (Pin)

под заказ280 руб.
1509248-10008-000

Заглушка (10x7.5) - Plug (10x75) (Plug, drain; # ) (Заглушка дренажная 10X7)

120 шт500 руб.
1609355-40805-00B

Шланг (4x8x2000) - Hose (4x8x2000) (L:2000->100 # ) (Hose)

под заказ2090 руб.
1709362-09008-000

Соединение - Union (Золотник)

10 шт300 руб.
1809407-14407-000

Струбцина (l: 145) - Clamp (l:145) (Band # Clamp; # ) (Clamp (l:145))

9 шт230 руб.
1958200-90J00-000

Гребной винт (3x14-1 / 4x18) - Propeller (3x14-1/4x18) (Propeller (3x14.25x18); Opt sus # ) (Гребной винт (3X14-1/4X18))

1 шт0 руб.
1958200-90J10-000

Запчасть снята с производства - The Spare Part Is Laid Off (Propeller (3x14.25x20); Opt sus # )

под заказ0 руб.
1958200-90J20-000

Запчасть снята с производства - The Spare Part Is Laid Off (Propeller (3x14.25x22); Opt sus # )

под заказ0 руб.
1958200-90J30-000

Гребной винт (3x14-1 / 4x24) - Propeller (3x14-1/4x24) (Propeller (3x14.25x24); Opt sus # ) (Гребной винт (3X14-1/4X24))

под заказ159360 руб.
1958200-92J00-000

Гребной винт (3x14.1 / 4x18) - Propeller (3x141/4x18) (Propeller (3x14.25x18); Opt sus, counter rotation # ) (Гребной винт (3X14.1/4X18))

под заказ0 руб.
1958200-92J10-000

Запчасть снята с производства - The Spare Part Is Laid Off (Propeller (3x14.25x20); Opt sus, counter rotation # )

под заказ0 руб.
1958200-92J20-000

Запчасть снята с производства - The Spare Part Is Laid Off (Propeller (3x14.25x22); Opt sus, counter rotation # )

под заказ0 руб.
1958200-92J30-000

Гребной винт (3x14-1 / 4x24) - Propeller (3x14-1/4x24) (Propeller (3x14.25x24); Opt sus, counter rotation # ) (Гребной винт (3X14-1/4X24))

под заказ159360 руб.
2058120-90J00-000

Втулка гребного винта - Bush, Propeller (Втулка)

под заказ6820 руб.
2157633-90J00-000

Проставка гайки гребного винта - Spacer, Propeller Nut

под заказ5480 руб.
2157633-90J02-000

   (актуальный код замены) Проставка гайки гребного винта - Spacer, Propeller Nut

2 шт5480 руб.
2157633-90J02-000

Проставка гайки гребного винта - Spacer, Propeller Nut (Spacer, propeller nut # ) (Прокладка пропеллера)

2 шт5480 руб.
21SK57633-90J02

   (не оригинальный аналог) Шайба упорная гребного винта Skipper для Suzuki DF40-140

0 шт1523 руб.
2257635-92J00-000

Стопор втулки гребного винта - Stopper, Propeller Bush

под заказ9890 руб.
2257635-92J01-000

   (актуальный код замены) Стопор втулки гребного винта - Stopper, Propeller Bush

2 шт9890 руб.
2257635-92J01-000

Стопор втулки гребного винта - Stopper, Propeller Bush (Упорная гайка)

2 шт9890 руб.
2309141-18005-000

Гайка - Nut (Гайка 18MM)

19 шт900 руб.
2409160-18028-000

Шайба (18.5x31x1) - Washer (185x31x1) (Washer (18.5x31x1.0); # ) (Шайба)

3 шт280 руб.
24SK09160-18028

   (не оригинальный аналог) Шайба гребного винта Skipper для Suzuki 40-225, DF40-300

0 шт157 руб.
2509204-03003-000

Штифт - Pin (Cotter pin (l:25); # ) (Шпонка)

374 шт220 руб.
2655116-87E00-000

Заглушка, Картер коробки передач - Plug, Gear Case (Opt # ) (Заглушка редуктора)

под заказ3340 руб.
2755182-95200-000

Запчасть снята с производства - The Spare Part Is Laid Off (Attachment, flush hose for usa; Opt # )

под заказ0 руб.
2857630-90J00-000

Гайка гребного винта, комплект - Kit, Propeller Nut (Opt # ) (Комплект гаек винта)

6 шт5860 руб.
28SK57630-90J00

   (не оригинальный аналог) Комплект установочный гребного винта Skipper для Suzuki DF40-140

0 шт1543 руб.
2925700-92J00-000

Комплект сальников редуктора - Sealing Kit, Gear Case (Opt not shown # ) (Набор уплотняющий)

48 шт6070 руб.


Время выполнения запроса 2.4482619762421 сек.

 
 

данный сайт носит информационный характер и не является публичной офертой

склад запчастей для водомоторной техники