Подобрать оригинальные запчасти на лодочный мотор Suzuki DF140(Z)TL/X; DF140WTL/X модель 2003 года - Engine holder
вконтакте

Контактный телефон: +7 (981) 121-46-93, +7 (800) 200-90-76 , Email: parts-katalog@yandex.ru, где купить

 
 

  Логин:

Пароль:

Регистрация

www.partskatalog.ru Все каталоги Запчасти Mercury Запчасти Suzuki Запчасти Tohatsu Запчасти Honda Контакты

назад Раздел:   вперёд

Вернуться к выбору узлов мотора


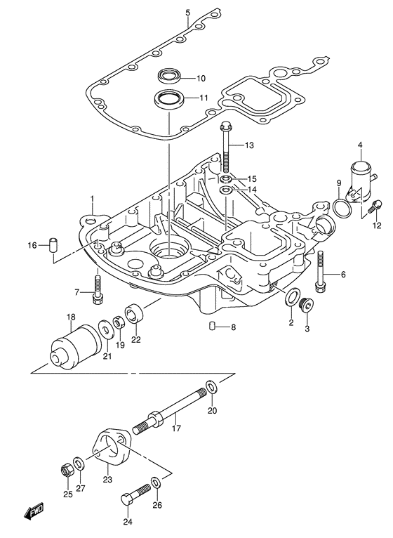
ДЕТАЛИРОВКА ДЛЯ МОДЕЛИ: SUZUKI DF140WTLK3(E40) K3

Основание двигателя


Код модели двигателя: DF140(Z)TL/X; DF140WTL/X

Год выпуска двигателя: 2003

Регион: Япония

Цвет: Shadow Black Metallic

Номер на
рисунке
АртикулНаименованиеQTYКол-во
на складе
Цена
151110-90810-0EP

Держатель & Cl Sft Set, Eng (чёрный) - Holder & Cl Sft Set, Eng (black) (Holder set, engine (black); Inc.no.2, 3, 10, 11, , fig.5 no.7 # )

под заказ0 руб.
151110-90832-0EP

   (актуальный код замены) Запчасть снята с производства - The Spare Part Is Laid Off

под заказ0 руб.
151110-90832-0EP

Держатель & Cl Sft Set, Eng (чёрный) - Holder & Cl Sft Set, Eng (black) (Holder & cl sft set, eng (black))

под заказ0 руб.
209160-18031-000

Шайба (18.5x28x2.6) - Washer (185x28x26) (Gasket (18.5x28x2.6); # ) (Gasket (18.5x28x2.6))

9 шт190 руб.
309248-18006-000

Заглушка (18x8) - Plug (18x8) (Plug)

под заказ460 руб.
451115-90J00-000

Модуль возврата воды - Union, Water Return (Соединение отдачи воды)

2 шт1100 руб.
551211-90J02-000

Прокладка основания двигателя - Gasket, Engine Holder

под заказ8500 руб.
551211-90J22-000

   (актуальный код замены) Прокладка основания двигателя - Gasket, Engine Holder

10 шт8050 руб.
551211-90J10-000

Прокладка основания двигателя - Gasket, Engine Holder (Прокладка держателя)

1 шт8500 руб.
551211-90J22-000

   (актуальный код замены) Прокладка основания двигателя - Gasket, Engine Holder

10 шт8050 руб.
609116-08119-000

Болт (8x70) - Bolt (8x70) (Bolt (8x70); # )

под заказ1010 руб.
609116-08160-000

   (актуальный код замены) Болт (8x70) - Bolt (8x70)

под заказ1010 руб.
609116-08160-000

Болт (8x70) - Bolt (8x70) (Bolt (8x70))

под заказ1010 руб.
709116-08123-000

Болт (8x40) - Bolt (8x40) (Bolt (8x40); # )

под заказ390 руб.
709116-08128-000

   (актуальный код замены) Болт (8x40) - Bolt (8x40)

под заказ390 руб.
709116-08128-000

Болт (8x40) - Bolt (8x40) (Bolt (8x40))

под заказ390 руб.
809206-08001-000

Штифт (8x11) - Pin (8x11) (Стопор)

5 шт130 руб.
909280-26006-000

Уплотнительное кольцо (d: 3.1, Id: 26.4) - O Ring (d:31, Id:264) (O ring (d:3.1, id:26.4); # ) (Кольцо уплотнительное)

2 шт220 руб.
1009282-24003-000

Сальник (24x36x6) - Seal, Oil (24x36x6) (Seal, oil; # ) (Сальник)

38 шт670 руб.
1109283-32044-000

Сальник (32x47x6) - Seal, Oil (32x47x6) (Seal, oil; # ) (Сальник)

20 шт1610 руб.
1201550-06257-000

Болт - Bolt (Bolt)

под заказ180 руб.
1301550-08903-000

Болт - Bolt

под заказ330 руб.
1301550-0890B-000

   (актуальный код замены) Болт - Bolt

под заказ330 руб.
1301550-0890B-000

Болт - Bolt (Bolt)

под заказ330 руб.
1409160-08053-000

Шайба (8.5x19x2.3) - Washer (85x19x23) (Washer (8.5x19x2.3); # )

под заказ160 руб.
1409160-08039-000

   (актуальный код замены) Шайба (8.5x19x2.3) - Washer (8.5x19x2.3)

под заказ160 руб.
1409160-08039-000

Шайба (8.5x19x2.3) - Washer (85x19x23) (Шайба)

под заказ160 руб.
1509164-08020-000

Шайба - Washer (Washer, wave # Washer, wave; # ) (Шайба)

под заказ160 руб.
1604211-11129-000

Штифт - Pin (Pin; # ) (Pin)

14 шт150 руб.
1754112-90J02-000

Болт, вышеr Крепление - Bolt, Upr Mount

под заказ4540 руб.
1754112-90J10-000

   (актуальный код замены) Болт, вышеr Крепление - Bolt, Upr Mount

под заказ4540 руб.
1754112-90J10-000

Болт, вышеr Крепление - Bolt, Upr Mount (Болт верхней опоры)

под заказ4540 руб.
1854130-90J31-000

Крепление, вышеr - Mount, Upr (Опора верхняя)

1 шт10370 руб.
1909140-12029-000

Гайка - Nut (Гайка)

под заказ310 руб.
2009160-12099-000

Шайба, вышеr Крепление - Washer, Upr Mount (Washer (12.5x24x2.5); # )

под заказ810 руб.
2054113-90J00-000

   (актуальный код замены) Шайба, вышеr Крепление - Washer, Upr Mount

под заказ810 руб.
2054113-90J00-000

Шайба, вышеr Крепление - Washer, Upr Mount (Washer (12.5x24x2.5) # ) (Шайба болта верхней опоры)

под заказ810 руб.
2109160-12101-000

Шайба (12.5x22x3) - Washer (125x22x3) (Washer (12x22x3.0); # )

под заказ370 руб.
2109160-12110-000

   (актуальный код замены) Шайба (12.5x22x3) - Washer (12.5x22x3)

6 шт370 руб.
2109160-12110-000

Шайба (12.5x22x3) - Washer (125x22x3) (Шайба)

6 шт370 руб.
2254125-90J00-000

Крепление верхнего упора Reverse - Mount, Upr Thrust Reverse (Опора верхняя)

под заказ740 руб.
2254125-90J01-000

   (актуальный код замены) Крепление верхнего упора Reverse - Mount, Upr Thrust Reverse

под заказ740 руб.
2354148-90J01-0EP

Крышка, вышеr Крепление - Cover, Upr Mount (Cover, upper mount (black); # )

под заказ9650 руб.
2354148-90J11-0EP

   (актуальный код замены) Крышка, вышеr Крепление - Cover, Upr Mount

под заказ9650 руб.
2354148-90J11-0EP

Крышка, вышеr Крепление - Cover, Upr Mount (Cover, upper mount)

под заказ9650 руб.
2409100-10157-000

Болт (10x45) - Bolt (10x45) (Bolt (10x45); # )

под заказ1810 руб.
2409100-10157-XC0

   (актуальный код замены) Болт (10x45) - Bolt (10x45)

под заказ1810 руб.
2409100-10157-XC0

Болт (10x45) - Bolt (10x45) (Болт 10X45)

под заказ1810 руб.
2509159-12014-000

Гайка - Nut (Гайка)

18 шт370 руб.
2609160-10082-000

Шайба (10.5x19x2) - Washer (105x19x2) (Washer # Washer (10.5x19x2.0); # ) (Gasket (10.5x19x2))

19 шт120 руб.
2709164-13007-000

Шайба - Washer

под заказ830 руб.
2709164-13007-XC0

   (актуальный код замены) Шайба - Washer

под заказ830 руб.
2709164-13007-XC0

Шайба - Washer (Шайба)

под заказ830 руб.


Время выполнения запроса 1.5995810031891 сек.

 
 

данный сайт носит информационный характер и не является публичной офертой

склад запчастей для водомоторной техники