| |
 |
|
 |
Вернуться к выбору узлов мотора
ДЕТАЛИРОВКА ДЛЯ МОДЕЛИ: SUZUKI DF140WTLK3(E1) K3
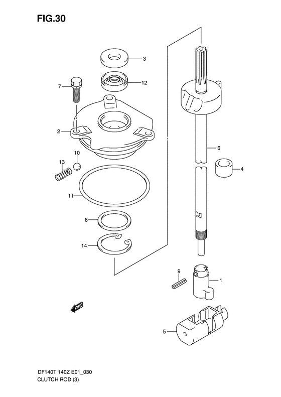
Тяга сцепления
Год выпуска двигателя: 2003
Номер на рисунке | Артикул | Наименование | QTY | Кол-во на складе | Цена |
| 1 | 25131-90J01-000 | Хомут рычага переключения - Yoke, Shifter (Хомут) | | 1 шт | 6340 руб. |
| 2 | 25141-90J03-000 | Корпус направляющей переключающей тяги - Housing, Shift Rod Guide (Housing, shift rod guide; # ) (Корпус направляющей штока передачи) | | под заказ | 8210 руб. |
| 3 | 25222-90J00-000 | Крышка направляющей корпуса сальника - Cover, Shift Guide Hsg Oil Seal (Cover, oil seal # Cover, sft guide hsg oil seal; # ) (Крышка сальника) | | под заказ | 190 руб. |
| 3 | 25222-90J01-000 | (актуальный код замены) Крышка корпуса сальника направляющей вала - Cover, Sft Guide Hsg Oil Seal | | 4 шт | 290 руб. |
| 4 | 25232-90J00-000 | Индуктор картера коробки передач - Magneto, Gear Case (втулка коробки передач) | | 2 шт | 570 руб. |
| 5 | 25321-92J00-000 | Ползунок, сдвиг по горизонтали - Slider, Shift Horizontal (Slider, shift holizontal # Slider, shift horizontal; # ) (Слайдер горизонтального смещения) | | под заказ | 14020 руб. |
| 6 | 25350-90J01-000 | Переключающая тяга Assist (l) - Rod, Shift Assist (l) (Rod, shift assist (l); # ) (Вал передачи (L)) | | 2 шт | 14310 руб. |
| 6 | 25350-90J11-000 | Переключающая тяга Assist (x) - Rod, Shift Assist (x) (Rod, shift assist (ul) # Rod, shift assist (x); # ) (Вал передачи (UL)) | | под заказ | 0 руб. |
| 7 | 09117-06031-000 | Болт (6x20) - Bolt (6x20) (Bolt (6x20) # Bolt (6x20); # ) (Bolt) | | под заказ | 270 руб. |
| 8 | 09160-30037-000 | Шайба (30x38x1.9) - Washer (30x38x19) (Washer (30x38x1.9) # Washer (30x38x1.9); # ) (Шайба, T:1.9) | | под заказ | 340 руб. |
| 9 | 09205-04014-000 | Стопор пружины (4x14) - Pin, Spring (4x14) (Pin) | | 15 шт | 120 руб. |
| 10 | 09260-10005-000 | Шарик - Ball (Steel ball # ) (Ball) | | 4 шт | 210 руб. |
| 11 | 09280-69001-000 | Уплотнительное кольцо (d: 3.1, Id: 68.5) - O Ring (d:31, Id:685) (O ring (d:3.1, id:68.5) # O ring (d:3.1, id:68.5); # ) (O ring) | | 14 шт | 290 руб. |
| 12 | 09283-10011-000 | Сальник (10x22x8) - Seal, Oil (10x22x8) (Seal, dust # Seal, dust; # ) (Уплотнение) | | 24 шт | 540 руб. |
| 12 | SK09283-10011 | (не оригинальный аналог) Сальник вала переключения передач Skipper для Suzuki Модели техники: DF90-300HP | | 0 шт | 142 руб. |
| 13 | 09440-07033-000 | Пружина - Spring (Пружина кулачка) | | под заказ | 160 руб. |
| 14 | 08331-41386-000 | Стопорное кольцо - Circlip | | под заказ | 180 руб. |
| 14 | 08331-4138A-000 | (актуальный код замены) Стопорное кольцо - Circlip | | под заказ | 180 руб. |
| 14 | 08331-4138A-000 | Стопорное кольцо - Circlip (Circlip) | | под заказ | 180 руб. |
Время выполнения запроса 0.95387816429138 сек. |
|