| |
 |
|
 |
Вернуться к выбору узлов мотора
ДЕТАЛИРОВКА ДЛЯ МОДЕЛИ: SUZUKI DF140WTL K7
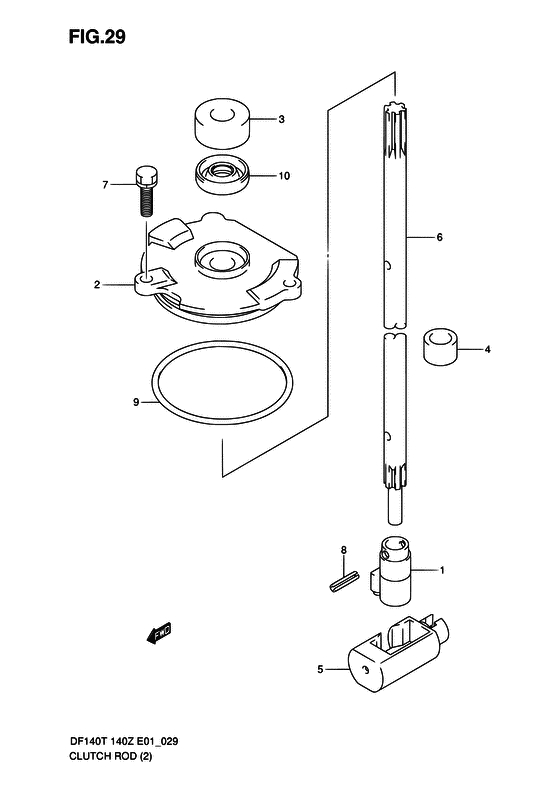
Тяга сцепления
Год выпуска двигателя: 2007
Номер на рисунке | Артикул | Наименование | QTY | Кол-во на складе | Цена |
| 1 | 25131-92J00-000 | Хомут рычага переключения - Yoke, Shifter (Хомут) | | под заказ | 4800 руб. |
| 1 | 25131-92J01-000 | (актуальный код замены) Хомут рычага переключения - Yoke, Shifter | | 2 шт | 4800 руб. |
| 2 | 25141-92J00-000 | Корпус направляющей переключающей тяги - Housing, Shift Rod Guide | | под заказ | 3580 руб. |
| 2 | 25141-92J01-000 | (актуальный код замены) Корпус направляющей переключающей тяги - Housing, Shift Rod Guide | | 1 шт | 3580 руб. |
| 2 | 25141-92J01-000 | Корпус направляющей переключающей тяги - Housing, Shift Rod Guide (Housing, shift rod guide) | | 1 шт | 3580 руб. |
| 3 | 25222-92J00-000 | Крышка направляющей корпуса сальника - Cover, Shift Guide Hsg Oil Seal (Cover, oil seal # ) (Крышка сальника) | | под заказ | 370 руб. |
| 3 | 25222-92J01-000 | (актуальный код замены) Крышка направляющей корпуса сальника - Cover, Shift Guide Hsg Oil Seal | | 2 шт | 370 руб. |
| 4 | 25232-90J00-000 | Индуктор картера коробки передач - Magneto, Gear Case (втулка коробки передач) | | 2 шт | 570 руб. |
| 5 | 25321-92J10-000 | Ползунок, сдвиг по горизонтали - Slider, Shift Horizontal (Слайдер горизонтального смещения) | | 1 шт | 9680 руб. |
| 6 | 25111-92J00-000 | Переключающая тяга (l) - Rod, Shift (l) (вал передачи (L)) | | 1 шт | 8930 руб. |
| 6 | 25111-92J10-000 | Переключающая тяга (x) - Rod, Shift (x) (вал передачи (X)) | | 1 шт | 9220 руб. |
| 7 | 29116-93J00-000 | Болт - Bolt (<-09116-06106 # ) (Bolt (6x20)) | | 10 шт | 250 руб. |
| 8 | 09205-04014-000 | Стопор пружины (4x14) - Pin, Spring (4x14) (Pin) | | 15 шт | 120 руб. |
| 9 | 09280-69001-000 | Уплотнительное кольцо (d: 3.1, Id: 68.5) - O Ring (d:31, Id:685) (O ring (d:3.1, id:68.5) # ) (O ring) | | 14 шт | 290 руб. |
| 10 | 09283-10011-000 | Сальник (10x22x8) - Seal, Oil (10x22x8) (Seal, dust # ) (Уплотнение) | | 24 шт | 540 руб. |
| 10 | SK09283-10011 | (не оригинальный аналог) Сальник вала переключения передач Skipper для Suzuki Модели техники: DF90-300HP | | 0 шт | 142 руб. |
Время выполнения запроса 0.98587989807129 сек. |
|