Запчасти на лодочный мотор Сузуки - Основание двигателя
вконтакте

Контактный телефон: +7 (981) 121-46-93, +7 (800) 200-90-76 , Email: parts-katalog@yandex.ru, где купить

 
 

  Логин:

Пароль:

Регистрация

www.partskatalog.ru Все каталоги Запчасти Mercury Запчасти Suzuki Запчасти Tohatsu Запчасти Honda Контакты



УВАЖАЕМЫЕ КЛИЕНТЫ!
C 19 ДЕКАБРЯ 2025 ПО 02 МАРТА 2026 ГОДА ОТДЕЛ ЗАПЧАСТЕЙ И СЕРВИС РАБОТАТЬ НЕ БУДУТ
ПРОДАЖА ЛОДОЧНЫХ МОТОРОВ В ШТАТНОМ РЕЖИМЕ
ОБ ИЗМЕНЕНИЯХ В ГРАФИКЕ РАБОТЫ ЧИТАЙТЕ НА САЙТА



назад Раздел:   вперёд

Вернуться к выбору узлов мотора


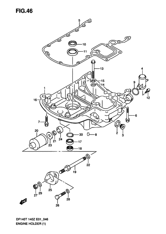
ДЕТАЛИРОВКА ДЛЯ МОДЕЛИ: SUZUKI DF140WTL K9

Основание двигателя


Год выпуска двигателя: 2009

Номер на
рисунке
АртикулНаименованиеQTYКол-во
на складе
Цена
151110-90810-0EP

Держатель & Cl Sft Set, Eng (чёрный) - Holder & Cl Sft Set, Eng (black) (INC.NO.2, 3, 10, 11 FIG.5 NO.7 ->51110-90830-0EP CONTENTS SHAFT, CLUTCH LINK, CLUTCH COVER PLUG, CLUTCH SHAFT HOLDER SET (51110-90820-0EP) # )

под заказ0 руб.
151110-90832-0EP

   (актуальный код замены) Запчасть снята с производства - The Spare Part Is Laid Off

под заказ0 руб.
151110-90832-0EP

Держатель & Cl Sft Set, Eng (чёрный) - Holder & Cl Sft Set, Eng (black) (Holder & cl sft set, eng (black))

под заказ0 руб.
151110-90821-0EP

Основание двигателя (черный цвет) - Holder Set, Engine (black) (DF140T:375472~ DF140Z:371347~ DF140WT:376072~ DF140WZ INC.NO.2, 3, 10, 11, 17, 18, 30 FIG.5 NO.7 # )

под заказ149760 руб.
151110-90822-0EP

   (актуальный код замены) Основание двигателя (черный цвет) - Holder Set, Engine (black)

под заказ149760 руб.
151110-90822-0EP

Основание двигателя (черный цвет) - Holder Set, Engine (black) (основание двигателя (чёрный))

под заказ149760 руб.
151110-90822-0EP

Основание двигателя (черный цвет) - Holder Set, Engine (black) (DF140T:513458~ DF140Z:510407~ INC.NO.2, 3, 10, 11, 17, 18, 30 FIG.5 NO.7 # ) (основание двигателя (чёрный))

под заказ149760 руб.
209160-18031-000

Шайба (18.5x28x2.6) - Washer (185x28x26) (Gasket (18.5x28x2.6))

12 шт190 руб.
309248-18006-000

Заглушка (18x8) - Plug (18x8) (Plug)

под заказ460 руб.
309248-18010-000

Заглушка (18x15) - Plug (18x15) (DF140T:513458~ DF140Z:510407~ # ) (Plug)

под заказ610 руб.
451115-90J00-000

Модуль возврата воды - Union, Water Return (Соединение отдачи воды)

2 шт1100 руб.
551211-90J10-000

Прокладка основания двигателя - Gasket, Engine Holder (<-51211-90J02 # ) (Прокладка держателя)

1 шт8500 руб.
551211-90J22-000

   (актуальный код замены) Прокладка основания двигателя - Gasket, Engine Holder

11 шт8050 руб.
609116-08119-000

Болт (8x70) - Bolt (8x70)

под заказ1010 руб.
609116-08160-000

   (актуальный код замены) Болт (8x70) - Bolt (8x70)

под заказ1010 руб.
609116-08160-000

Болт (8x70) - Bolt (8x70) (Bolt (8x70))

под заказ1010 руб.
709116-08128-000

Болт (8x40) - Bolt (8x40) (<-09116-08098 # ) (Bolt (8x40))

под заказ390 руб.
809206-08001-000

Штифт (8x11) - Pin (8x11) (Стопор)

9 шт130 руб.
909280-26006-000

Уплотнительное кольцо (d: 3.1, Id: 26.4) - O Ring (d:31, Id:264) (Кольцо уплотнительное)

2 шт220 руб.
1009282-24003-000

Сальник (24x36x6) - Seal, Oil (24x36x6) (Сальник)

40 шт610 руб.
1109283-32044-000

Сальник (32x47x6) - Seal, Oil (32x47x6) (Сальник)

22 шт1610 руб.
1201550-06257-000

Болт - Bolt (Bolt)

под заказ180 руб.
1301550-08903-000

Болт - Bolt

под заказ330 руб.
1301550-0890B-000

   (актуальный код замены) Болт - Bolt

под заказ330 руб.
1301550-0890B-000

Болт - Bolt (Bolt)

под заказ330 руб.
1409160-08053-000

Шайба (8.5x19x2.3) - Washer (85x19x23)

под заказ160 руб.
1409160-08039-000

   (актуальный код замены) Шайба (8.5x19x2.3) - Washer (8.5x19x2.3)

под заказ160 руб.
1409160-08039-000

Шайба (8.5x19x2.3) - Washer (85x19x23) (Шайба)

под заказ160 руб.
1509164-08020-000

Шайба - Washer (Washer, wave # ) (Шайба)

под заказ160 руб.
1604211-11129-000

Штифт - Pin (Pin)

14 шт150 руб.
1709262-17019-000

Подшипник (17x35x8) - Bearing (17x35x8) (Bearing, clutch shaft # DF140T:375472~ DF140Z:371347~ DF140WT:376072~ DF140WZ # ) (Подшипник вала муфты)

12 шт2120 руб.
1716003NTN

   (подбор по маркировке) Подшипник NTN 16003(17*35*8 мм)

под заказ190 руб.
1809289-18001-000

Сальник (18x30x8) - Seal, Oil (18x30x8) (DF140T:375472~ DF140Z:371347~ DF140WT:376072~ DF140WZ # ) (Уплотнение вала муфты)

5 шт1830 руб.
1954112-90J10-000

Болт, вышеr Крепление - Bolt, Upr Mount (<-54112-90J02 # ) (Болт верхней опоры)

под заказ4540 руб.
2054130-90J31-000

Крепление, вышеr - Mount, Upr (<-54130-90J20 # ) (Опора верхняя)

1 шт10370 руб.
2109140-12029-000

Гайка - Nut (Гайка)

под заказ310 руб.
2254113-90J00-000

Шайба, вышеr Крепление - Washer, Upr Mount (Washer (12.5x24x2.5) # <-09160-12099 # ) (Шайба болта верхней опоры)

под заказ810 руб.
2309160-12110-000

Шайба (12.5x22x3) - Washer (125x22x3) (<-09160-12101 # ) (Шайба)

6 шт370 руб.
2454125-90J00-000

Крепление верхнего упора Reverse - Mount, Upr Thrust Reverse (Опора верхняя)

под заказ740 руб.
2454125-90J01-000

   (актуальный код замены) Крепление верхнего упора Reverse - Mount, Upr Thrust Reverse

под заказ740 руб.
2554148-90J01-0EP

Крышка, вышеr Крепление - Cover, Upr Mount

под заказ9650 руб.
2554148-90J11-0EP

   (актуальный код замены) Крышка, вышеr Крепление - Cover, Upr Mount

под заказ9650 руб.
2554148-90J11-0EP

Крышка, вышеr Крепление - Cover, Upr Mount (Cover, upper mount)

под заказ9650 руб.
2609100-10157-000

Болт (10x45) - Bolt (10x45)

под заказ1810 руб.
2609100-10157-XC0

   (актуальный код замены) Болт (10x45) - Bolt (10x45)

под заказ1810 руб.
2609100-10157-XC0

Болт (10x45) - Bolt (10x45) (Болт 10X45)

под заказ1810 руб.
2609116-10139-000

Болт (10x44) - Bolt (10x44) (MODEL:06 # )

под заказ610 руб.
2609116-10176-000

   (актуальный код замены) Болт (10x44) - Bolt (10x44)

4 шт760 руб.
2609116-10176-000

Болт (10x44) - Bolt (10x44) (Bolt, 10x44)

4 шт760 руб.
2709159-12014-000

Гайка - Nut (Гайка)

18 шт370 руб.
2809160-10082-000

Шайба (10.5x19x2) - Washer (105x19x2) (Washer # MODEL02~05 # ) (Gasket (10.5x19x2))

19 шт120 руб.
2909164-13007-000

Шайба - Washer

под заказ830 руб.
2909164-13007-XC0

   (актуальный код замены) Шайба - Washer

под заказ830 руб.
2909164-13007-XC0

Шайба - Washer (Шайба)

под заказ830 руб.
3008331-41356-000

Стопорное кольцо - Circlip (DF140T:510851~ DF140Z:510118~ # )

под заказ170 руб.
3008331-41359-000

   (актуальный код замены) Стопорное кольцо - Circlip

7 шт200 руб.
3008331-41359-000

Стопорное кольцо - Circlip (Стопорное кольцо (пружинное))

7 шт200 руб.


Время выполнения запроса 1.2021460533142 сек.

 
 

данный сайт носит информационный характер и не является публичной офертой

склад запчастей для водомоторной техники