Оригинальные запчасти на подвесной двигатель Suzuki модель 2006 года - Ptt motor
вконтакте

Контактный телефон: +7 (981) 121-46-93, +7 (800) 200-90-76 , Email: parts-katalog@yandex.ru, где купить

 
 

  Логин:

Пароль:

Регистрация

www.partskatalog.ru Все каталоги Запчасти Mercury Запчасти Suzuki Запчасти Tohatsu Запчасти Honda Контакты



УВАЖАЕМЫЕ КЛИЕНТЫ!
C 19 ДЕКАБРЯ 2025 ПО 02 МАРТА 2026 ГОДА ОТДЕЛ ЗАПЧАСТЕЙ И СЕРВИС РАБОТАТЬ НЕ БУДУТ
ПРОДАЖА ЛОДОЧНЫХ МОТОРОВ В ШТАТНОМ РЕЖИМЕ
ОБ ИЗМЕНЕНИЯХ В ГРАФИКЕ РАБОТЫ ЧИТАЙТЕ НА САЙТА



назад Раздел:   вперёд

Вернуться к выбору узлов мотора


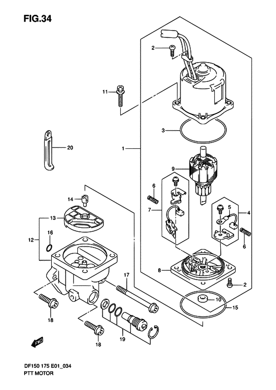
ДЕТАЛИРОВКА ДЛЯ МОДЕЛИ: SUZUKI DF150TX K6

Двигатель гидроподъёма


Год выпуска двигателя: 2006

Номер на
рисунке
АртикулНаименованиеQTYКол-во
на складе
Цена
138100-96J00-000

Двигатель гидроподъёма лодочного мотора - Motor Assy, Ptt

под заказ82560 руб.
138100-96J12-000

   (актуальный код замены) Двигатель гидроподъёма лодочного мотора - Motor Assy, Ptt

под заказ82560 руб.
138100-96J10-000

Двигатель гидроподъёма лодочного мотора - Motor Assy, Ptt (MOTOR ASSY, PTT)

под заказ82560 руб.
138100-96J12-000

   (актуальный код замены) Двигатель гидроподъёма лодочного мотора - Motor Assy, Ptt

под заказ82560 руб.
231111-94900-000

Винт - Screw (Винт)

под заказ430 руб.
331123-94900-000

Уплотнительное кольцо - O Ring

под заказ1320 руб.
331123-94910-000

   (актуальный код замены) Уплотнительное кольцо - O Ring

5 шт1450 руб.
331123-94910-000

Уплотнительное кольцо - O Ring (O ring)

5 шт1450 руб.
431133-90J00-000

Щётка в сборе - Brush Assy (Brush assy)

под заказ1440 руб.
431133-90J20-000

   (актуальный код замены) Щётка в сборе - Brush Assy

2 шт1750 руб.
531133-94900-000

Щётка (+) - Brush (+) (Brush, plus # ) (Brush)

под заказ1440 руб.
531133-94910-000

   (актуальный код замены) Щётка (+) - Brush (+)

6 шт1590 руб.
631135-94900-000

Пружина - Spring (Пружина)

10 шт560 руб.
731136-90J10-000

Тормоз (прерыватель), в сборе - Breaker Assy (Breaker assy # ) (Вакуумник карбюратора)

под заказ7010 руб.
731136-90J30-000

   (актуальный код замены) Тормоз (прерыватель), в сборе - Breaker Assy

2 шт7640 руб.
831173-94900-000

Держатель щетки - Holder Assy, Brush (INC.NO.3~7, 10~ # )

под заказ40080 руб.
831173-94920-000

   (актуальный код замены) Держатель щетки - Holder Assy, Brush

под заказ40080 руб.
831173-94910-000

Держатель щетки - Holder Assy, Brush (Holder assy, brush)

под заказ40080 руб.
831173-94920-000

   (актуальный код замены) Держатель щетки - Holder Assy, Brush

под заказ40080 руб.
931311-94900-000

Якорь - Armature (Отсутствующе)

под заказ50400 руб.
1033799-97E00-000

Сальник - Seal, Oil (Oil seal # ) (Сальник)

6 шт2550 руб.
1131281-92J00-000

Сквозной болт - Bolt, Through

под заказ1050 руб.
1131281-92J10-000

   (актуальный код замены) Сквозной болт - Bolt, Through

под заказ1050 руб.
1131281-92J10-000

Сквозной болт - Bolt, Through (Bolt, through)

под заказ1050 руб.
1248502-96J03-000

Запчасть снята с производства - The Spare Part Is Laid Off (INC.NO.13, 19 # )

под заказ0 руб.
1348582-95E01-000

Фильтр - Filter (Filter)

под заказ3890 руб.
1448583-95E00-000

Соединение привода - Joint, Drive (Соединение)

под заказ1080 руб.
1548585-95E00-000

Уплотнительное кольцо - O Ring (Кольцо протектора)

6 шт430 руб.
1648588-94900-000

Набор уплотнительных колец - O Ring Set (O ring)

9 шт490 руб.
1748862-92J00-000

Болт помпы №1 - Bolt, Pump No1

под заказ1350 руб.
1748862-92J20-000

   (актуальный код замены) Болт помпы №1 - Bolt, Pump No.1

1 шт1350 руб.
1748862-92J20-000

Болт помпы №1 - Bolt, Pump No1 (Bolt, pump no.1)

1 шт1350 руб.
1848862-92J10-000

Болт помпы №2 - Bolt, Pump No2

под заказ1090 руб.
1848862-92J30-000

   (актуальный код замены) Болт помпы №2 - Bolt, Pump No.2

под заказ1090 руб.
1848862-92J30-000

Болт помпы №2 - Bolt, Pump No2 (Bolt, pump no.2)

под заказ1090 руб.
1948864-93J00-000

ручной, Клапан - Manual, Valve

под заказ11520 руб.
1948864-93J01-000

   (актуальный код замены) Ручной клапан - Manual Valve

3 шт12500 руб.
1948864-93J01-000

ручной, Клапан - Manual, Valve (Manual valve)

3 шт12500 руб.
1948864-96J00-000

Седло ручного клапана - Valve Set, Manual (MODEL:08~ # )

под заказ11720 руб.
1948864-96J10-000

   (актуальный код замены) Седло ручного клапана - Valve Set, Manual

под заказ12790 руб.
1948864-96J10-000

Седло ручного клапана - Valve Set, Manual (Valve set, manual)

под заказ12790 руб.
2029404-93J10-000

Струбцина - Clamp (Струбцина переключателя)

под заказ190 руб.
2029404-93J11-000

   (актуальный код замены) Струбцина - Clamp

под заказ190 руб.


Время выполнения запроса 2.2398989200592 сек.

 
 

данный сайт носит информационный характер и не является публичной офертой

склад запчастей для водомоторной техники