Оригинальные запчасти на подвесной двигатель Suzuki модель 2008 года - Cylinder block
вконтакте

Контактный телефон: +7 (981) 121-46-93, +7 (800) 200-90-76 , Email: parts-katalog@yandex.ru, где купить

 
 

  Логин:

Пароль:

Регистрация

www.partskatalog.ru Все каталоги Запчасти Mercury Запчасти Suzuki Запчасти Tohatsu Запчасти Honda Контакты

назад Раздел:   вперёд

Вернуться к выбору узлов мотора


ДЕТАЛИРОВКА ДЛЯ МОДЕЛИ: SUZUKI DF150ZXK8(E1) K8

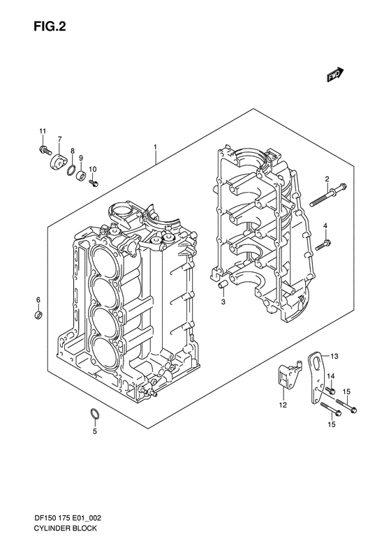
Блок цилиндра


Год выпуска двигателя: 2008

Номер на
рисунке
АртикулНаименованиеQTYКол-во
на складе
Цена
111300-96J00-000

Блок цилиндра в сборе - Block Assy, Cylinder (Блок цилиндров)

под заказ471840 руб.
211117-96J00-000

Болт картера двигателя - Bolt, Crankcase (Bolt, crankcase (11x128); # )

под заказ770 руб.
211117-96J01-000

   (актуальный код замены) Болт картера двигателя - Bolt, Crankcase

под заказ770 руб.
211117-96J01-000

Болт картера двигателя - Bolt, Crankcase (Bolt, crankcase)

под заказ770 руб.
309206-14004-000

Штифт (14x11.4x23) - Pin (14x114x23) (Pin)

под заказ360 руб.
409103-10284-000

Болт (10x45) - Bolt (10x45) (Bolt, case outside (10x45) # Bolt, case outside (10x45); # ) (Bolt (10x45))

под заказ290 руб.
511318-96J00-000

Уплотнительное кольцо, Balancer Oil Gall - O Ring, Balancer Oil Gall (Кольцо масляной магистрали баласира)

под заказ550 руб.
609329-14002-000

Подушка - Cushion (Cushion, side cover; # ) (Валик крашки)

под заказ250 руб.
609329-14003-000

   (актуальный код замены) Подушка (14x20x9) - Cushion (14x20x9)

под заказ250 руб.
711261-93J00-000

Крышка защитного анода - Cover, Protection Anode (Крышка протектора)

под заказ1600 руб.
809280-22019-000

Уплотнительное кольцо (d: 1.9, Id: 21.8) - O Ring (d:19, Id:218) (O ring, cover; # ) (Кольцо уплотнительное)

16 шт210 руб.
8SK09280-22019

   (не оригинальный аналог) Кольцо уплотнительное головки блока цилиндров Skipper для Suzuki Модели техники: 4-stroke 8-350HP

0 шт64 руб.
955321-87J00-000

Защитный анод - Anode, Protection

1 шт750 руб.
955321-87J01-000

   (актуальный код замены) Защитный анод - Anode, Protection

под заказ850 руб.
9SMO-55321-87J01-000

   (не оригинальный аналог) Защитный анод SMO-55321-87J01-000 (оригинал)

под заказ590 руб.
9SMO-55321-87J01-000

  (аналог) Защитный анод SMO-55321-87J01-000 (оригинал) - код 55321-87J01-000

 под заказ шт585 руб.
955321-87J01-000

Защитный анод - Anode, Protection (ANODE, PROTECTION)

под заказ850 руб.
9SMO-55321-87J01-000

  (аналог) Защитный анод SMO-55321-87J01-000 (оригинал) - код 55321-87J01-000

 под заказ шт585 руб.
1009103-06281-000

Болт (6x14) - Bolt (6x14) (Bolt, protection anode # Bolt, protection anode; # ) (Bolt)

6 шт270 руб.
1101550-08207-000

Болт - Bolt (Bolt, cover; # ) (Bolt)

10 шт240 руб.
1211294-96J00-000

Кронштейн крюка справа двигателя - Bracket, Engine Stbd Hook (Кронштейн, правый)

под заказ2280 руб.
1311291-96J00-000

Крюк справа двигателя - Hook, Engine Stbd (Скоба двигателя, правая)

под заказ1330 руб.
1401550-08167-000

Болт - Bolt (Bolt (8x16) # Bolt, hook stbd; # ) (Bolt)

8 шт210 руб.
1501550-08557-000

Болт - Bolt (Bolt, hook stbd; # ) (Bolt)

под заказ260 руб.


Время выполнения запроса 0.6815140247345 сек.

 
 

данный сайт носит информационный характер и не является публичной офертой

склад запчастей для водомоторной техники