| |
 |
|
 |
Вернуться к выбору узлов мотора
ДЕТАЛИРОВКА ДЛЯ МОДЕЛИ: SUZUKI DF150ZX K10
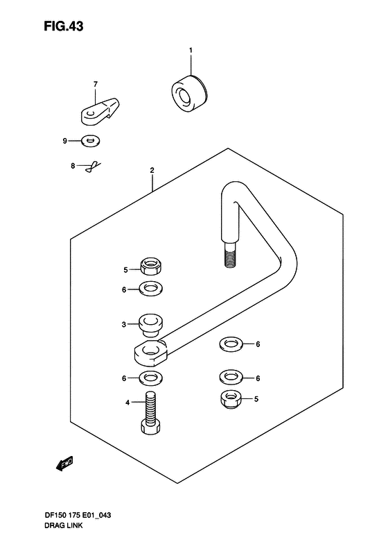
Переключающая тяга
Код модели двигателя: DF150(Z)TL/X
Год выпуска двигателя: 2010
Регион: General Export No.1 ,Код региона: P01
Цвет: Shadow Black Metallic
Номер на рисунке | Артикул | Наименование | QTY | Кол-во на складе | Цена |
| 1 | 41161-94400-000 | Сальник рулевого кабеля - Seal, Steering Cable (Seal, steering cable # ) (Уплотение кабеля) | | 16 шт | 1530 руб. |
| 2 | 67701-96J00-000 | Рулевая тяга в сборе - Link Assy, Drag (Тяга рулевого управления) | | 5 шт | 10850 руб. |
| 3 | 67721-96J00-000 | Проставка - Spacer (Кольцо/шайба) | | под заказ | 1040 руб. |
| 4 | 67725-96J00-000 | Болт переключающей тяги - Bolt, Drag Link (Болт) | | 3 шт | 850 руб. |
| 5 | 67726-99E00-000 | Блокирующая гайка - Nut, Lock (Гайка блокирующая) | | 3 шт | 800 руб. |
| 6 | 67728-99E00-000 | Шайба - Washer (Шайба) | | 2 шт | 260 руб. |
| 7 | 67467-89J01-000 | Коннектор - Connector (Переходник) | | 72 шт | 850 руб. |
| 8 | 09385-06012-000 | Зажим - Clip (Clip) | | 134 шт | 150 руб. |
| 9 | 09160-06055-000 | Шайба (7x12x1) - Washer (7x12x1) (Washer (7x12x1.0) # ) (Шайба) | | 67 шт | 130 руб. |
| 10 | 67700-96J00-000 | Рулевая тяга - Link Set, Drag (OPT, NOT SHOWN INC.NO.1~6 # ) (Тяга рулевого управления) | | под заказ | 7880 руб. |
Время выполнения запроса 0.60181999206543 сек. |
|